AudioControl LC6i Six Channel Line Output Converter

Six Channel Line Output Converter
for interfacing with factory installed audio systems
Greetings from the rainforests of the Pacific Northwest. We would like to congratulate you on your purchase of the LC6i: a six-channel, high-performance, line-output converter. This unique product will accept two, four, or six channels of speaker-level signal from a factory-installed amplifier or source unit, and convert it to a high-quality, low-noise pre-amp signal. Therefore the LC6i is an ideal OEM (Original Equipment Manufacturer) interface component, as it will allow you to use your factory-installed source unit but give you the ability to add really good aftermarket amplifier(s) and processor(s). Whether this is your first product from the rainforest dwellers of Audio-Control, or you are already a firm believer, you will definitely enjoy how great the LC6i can make your performance system sound.
Now before you start salivating just thinking about the benefits and all of the nifty applications for your LC6i, please take a few minutes to sit back, have a cold beverage, and read through this manual. We always love to get calls from our customers, but we have tried to answer all of your questions in this manual. It contains lots of useful facts and information – – and besides, we spent a lot of time writing it!
Important Safety Instructions
- Read these instructions.
- Keep these instructions.
- Heed all warnings.
- Follow all instructions.
- Do not use this apparatus near water.
- Clean only with a dry cloth.
- Do not block any ventilation openings. Install in accordance with the manu-facturer’s instructions.
- Do not install near any heat sources such as mufflers, silencers, exhaust pipes, or other apparatus (including amplifiers) that produce heat.
- WARNING: Improper installation may lead to permanent injury or death. Installation of the apparatus must be done with great care by qualified per-sonnel, to prevent damage to fuel lines, power, and other electrical wiring, hydraulic brake lines, and other systems, that might compromise vehicle safety.
- Provide +12V and Ground wiring of a suitable thickness/gauge to ensure adequate current to the apparatus.
- Use rubber grommets to protect wiring whenever passing wires through metal openings or bulkheads.
- Only use attachments/accessories specified by the manufacturer.
- Refer all servicing to qualified service personnel. Servicing is required when the apparatus has been damaged in any way, such as the power input ter-minals are damaged, liquid has been spilled or objects have fallen into the apparatus, the apparatus has been exposed to rain or moisture, does not operate normally, or has been dropped.
- This apparatus shall not be exposed to dripping or splashing, and no object filled with liquids, shall be placed on the apparatus.
- Fuses shall be replaced only with the correct type and fuse value, and only when the apparatus is powered off.
- Exposure to high sound pressure levels may lead to permanent hearing loss. Take every precaution to protect your hearing.
The lightning flash with arrowhead symbol within an equilateral trian-gle is intended to alert the user to the presence of uninsulated “danger-ous voltage” within the product’s enclosure, that may be of sufficient magnitude to constitute a risk of electric shock to persons.
The exclamation point within an equilateral triangle is intended to alert the user of the presence of important operating and maintenance (ser-vicing) instructions in the literature accompanying the appliance.
Caution: to reduce the risk of electric shock, do not disassemble the apparatus, other than to remove the top panel to access the controls. There are no user-serviceable parts inside. Refer servicing to qualified personnel.
Recycling notice: If the time comes and this apparatus has fulfilled its destiny, do not throw it out into the trash. It has to be carefully recy-cled for the good of mankind, by a facility specially equipped for the safe recycling of electronic apparatii. Please contact your local or state recycling leaders for assistance in locating a suitable nearby recycling facility. Or, contact us and we might be able to repair it for you.
Key Features of The LC6i
Here are some of the cool features that your LC6i offers:
- Six input and output channels
- Speaker-level inputs – can accept 400-watt signals!
- Internal channel summing
- GTO™ – signal-sensing inputs
- Level matching controls
- 12 Volt trigger output
- Input for optional subwoofer level control
Features and Highlights
Speaker-Level Inputs
If you are like many people who enjoy the look and features of your factory-installed source unit but feel your system overall is lacking pow-er and bass, we have good news. The LC6i has high-impedance speak-er-level inputs that allow it to accept amplified signals from all known factory-installed source units (even Bose) and output a high-quality pre-amp signal via standard RCA connectors. This will allow you to add better-quality aftermarket amplifiers, processors and speakers while keeping the convenient features of your factory-installed source unit. Unlike inexpensive speaker-level and line-output converters, the LC6i offers the highest sound quality and can handle the full signal strength of a 400-watt amplifier.
GTO™ Signal-Sensing Inputs
We have equipped your LC6i with our unique GTO™ (Great Turn On) signal-sensing inputs. Once the GTO input of your LC6i detects a speak-er-level signal on the Main Inputs, it powers up. When the speaker-lev-el signal goes away, your LC6i will automatically turn-off. Optionally, your LC6i is also equipped with a standard 12-Volt trigger (Remote In) that will allow you to turn on your LC6i in the traditional manner. The GTO circuit can be disabled by setting an internal jumper.
12-Volt Output Trigger
Since you will be using an external amplifier(s) and processor in your system, you will need the ability to “trigger” or turn-on these devices (a romantic dinner won’t quite work here). Your LC6i has a high-current 12-Volt output (labeled Remote Out) that will provide a trigger to these remote devices, when the LC6i is powered up. Please note that this output is not to be used as the main power for these devices.
Internal Channel Summing
The LC6i has the unique ability to internally sum together multiple (4 or 6) input channels from the factory source unit into 2 channels. This is particularly handy when using the LC6i with a factory system that has multiple, actively crossed-over signals being sent from the OEM source unit or amplifier(s). For example, in some vehicles there is an actively crossed-over tweeter, midrange, and woofer all in the front of the vehi-cle. The LC6i lets you take all of those signals and sum them together to get a high-quality, full-range, pre-amp signal without the use of any additional cables or hardware. Internal jumpers allow you to sum the channels 2 and 3 to the main outputs, or keep them separate.
AutoMode Inputs
Sometimes in life (and car audio) we need more outputs than inputs. Therefore we have equipped your LC6i with AutoMode inputs that take the Channel 2 signal and automatically feeds it to the Channel 3 outputs, provided there is no signal present on the Channel 3 inputs. This means your LC6i will accept two input channels and give you four output channels. Or it can accept four input channels and give you six output channels. The AutoMode can be disabled by moving an internal jumper.
Output Level Controls
Your LC6i has level controls for each pair of channels. These controls allow you to adjust the signal level from your factory-installed amplifier or source unit to match up with your aftermarket amplifier or proces-sor.
Input For An Optional Subwoofer Level Control
With the addition of high performance, aftermarket amplifier(s) and speakers, you may feel the need to have more control over your sys-tem. The Remote Subwoofer Level Control (sold separately along with undercoating) allows you to add a dash-mounted control to your LC6i that will adjust the level of the Channel 3 output, often used for the subwoofer. This output is full range so it may need to be crossed over depending upon your application.
Bulletproof Warranty
The most important feature of all. Every AudioControl product is selflessly designed and manufactured in our factory located in the rainforests of the Pacific North-west. We take every effort to ensure that you will have many years of enjoyment out of your LC6i. To
ensure optimal performance we highly recommend that you allow your authorized AudioControl dealer to perform the installation. Not only do they have all the right knowledge and tools, but also in the unlikely chance your LC6i should stop working, we will back it with a limited five years parts and labor warranty. Should you choose to install it yourself we will still give you a one-year parts and labor warranty. To activate your warranty, you need to FILL OUT AND SEND IN YOUR WARRANTY CARD!
We also recommend that you save your invoice or sales slip as proof of installation and ownership. Not only is it necessary for warranty purposes, but should your LC6i “walk away” one day while your car is parked at your local latté stand, you will find insurance companies very unforgiving without proof of purchase.
We also recommend that you save your invoice or sales slip as proof of installation and ownership. Not only is it necessary for warranty purposes, but should your LC6i “walk away” one day while your car is parked at your local latté stand, you will find insurance companies very unforgiving without proof of purchase.
Quick Installation Information
For those of you who are short on time but high on ambition, we offer the following section to speed up your installation of the LC6i:
- Physically mount the LC6i in a location that keeps it away from soda spills, food crumbs, and the curious fingers of those you have wronged. You will want to select a location that allows you access to the level controls. In many cases you can find factory speaker leads in the rear of the vehicle that are easy to access.
- The LC6i needs to be installed in the signal path between your OEM source unit or factory-installed amplifier(s) and an aftermarket external amplifier and/or processor(s). Locate the speaker wires that are coming from your factory source unit and/or amplifier and connect them to the speaker-level inputs on your LC6i.
- Connect the Output RCA connectors to cables that run to your aftermarket external signal processors and/or amplifiers. If this
is not obvious to you, quickly pack up your LC6i and run to your nearest authorized AudioControl dealer to have them perform the installation. You will thank us later. - Connect +12V power, ground, and remote turn-on (if applicable).
- Level match your LC6i to your source and amplifiers.
Note: You will want to turn the gains DOWN on your aftermarket amplifiers to maximize your systems performance and minimize any HISS.
The example on the next page shows the use of the LC6i with an AudioControl multi-channel power amplifier.
If music be the food of love, play on.
and.. if you need to know more, then read on. Heck, if you don’t need to know more, still read on, because you can never know too much, and as much as we would like to get your calls and e-mails, most of the answers to your questions are in this manual!
A Guided Tour of the LC6i
Figure 2: LC6i top cover
- Speaker-level Inputs: The LC6i has three sets of speaker-level inputs. These inputs get their signals from the speaker-level outputs of your factory-installed source unit or amplifier (if your vehicle is so equipped). If your source unit has front, rear, and subwoofer speaker-level outputs, connect them to the three sets of inputs on your LC6i. If the source unit only has front and rear inputs, the Auto Mode circuitry in your LC6i automatically routes the Channel 2 input channels to Channel 3.
- Ground: Connect to a good, verified chassis ground (the battery comes to mind.) Warning: Factory ground wires typically already have multiple devices connected to them and are not recom-mended.
- +12 Volt: Connect to a good source of power (the battery comes to mind again).
- Remote In: Allows your LC6i to be turned on remotely with a 12-Volt signal.
- Remote Out: Outputs 12 Volts when the LC6i is powered up so you can turn on external devices like signal processors and external amplifiers. DO NOT USE FOR SYSTEM POWER!!
- Maximized Indicator: This brightly colored LED indicates when your signal level is just below clipping your LC6i. When properly level matched, this LED should flicker occasionally when your system is playing at its maximum volume level.
- Power: If you have connected all of your power wires correctly, this light should be bright red when your system turns on.
- Remote Subwoofer Level Control Input: This input allows you to add an optional (sold-separately-not-included) ACR-1 remote that will allow you to control the subwoofer output of the LC6i from your dashboard.
- Pre-Amp Outputs: These RCA connectors should be connected to the next component after the LC6i, such as a signal processor, crossover or amplifier. Do not connect any speakers directly to your LC6i. (Definitely don’t connect to any home appliances, like your microwave.)
- Level Controls: These knobs allow you to adjust the signal level from your source unit to match that of your aftermarket amplifiers. Because they are amplified, most factory-installed source units have relatively high signal voltage output, which will require you to decrease the signal level.
- Channel Summed Indicators: Under the cover of your LC6i are jumpers that will allow you to sum selected channels into the main channels. This is especially useful for factory-installed systems with actively crossed-over speaker systems. These handy indicator LEDs let you know which channels are being summed into the main inputs.
Figure 3: Inside view
Under the Covers
Make sure all power is OFF before removing the cover. The jumpers may be pulled out and plugged into an alternative position to custom-ize your installation (see figure 3).
Output Summing Jumpers: These allow you to select which input signals will be summed into the Main outputs. An LED shows when channel 2 or 3 is Summed. The factory setting is Separate.
Ground Isolation Selector: In case alternator noise appears in your system, we have provided alternative grounding connections. Make sure your system is turned OFF before you move these jumpers.
GTO (Great Turn On) Jumper: Enable or Disable GTO.
AutoMode Jumper: Enable or Disable AutoMode.
Factory Settings – Internal Jumpers
| Jumper | Factory Setting | Options |
| Ground Isolation | Isolated | 200 Ohm or Ground |
| Summing Jumpers | Separate | Summed |
| GTO | Enabled | Disabled |
| AutoMode | Enabled | Disabled |
LC6i Block Diagram

Installing Your LC6i
By this time we are sure that you are chomping at the bit to install your LC6i. Up to this point, everything you have read has served to educate you on the operations of LC6i. Therefore if you are still with us, we recommend you read the following sections very carefully.
Placement and Mounting of the LC6i
Your LC6i can be physically installed in numerous locations like behind your dashboard, under a seat, or even in the trunk/boot. Since you will be connecting to the speaker wires from the factory source unit or its amplifier(s), you should select a location that is convenient for wiring. Once you have selected a permanent mounting location, position the unit and mark the appropriate mounting holes with a felt-tip pin or scratch awl.
Before doing anything else, make sure you are not about to drill a hole in a gas tank or pierce any existing wiring, fuel lines, or hydraulic pipes. Nothing ruins your day more than an expensive repair bill or massive fireball.
Drill a few small pilot holes and secure the chassis of the LC6i with self-tapping screws.
LC6i Power Wiring
WARNING: Failure to disconnect the negative terminal of your battery prior to the installation of your LC6i can result in a warm tingly feeling.
(+12V) Positive Connection: Insert a 12 to 18 gauge wire into the connector labeled “+12” on the nifty connector of your LC6i. Connect it to a good constant source of 12 Volts (we suggest the battery), fused at 1 amp.
Ground Connection: Use the same gauge wire as you did for the positive connector and run it from the “Ground” connector on your LC6i to the negative terminal of the battery, a ground bus, or a verified ground location. The factory head unit ground is not a good ground!
Remote In: Connect a 22 to 18 gauge wire from the source unit’s re-mote turn-on or other trigger to the Remote connector on the LC6i. As we previously mentioned, your LC6i is equipped with GTO signal sens-ing which allows it turn on when it detects a signal at the Main speak-er-level inputs so you may not need to use the “Remote In” feature.
Remote Out: If you are going to use the LC6i to turn on any external signal processors or amplifiers, connect an 18 to 22 gauge wire from the Remote Out on the LC6i to the remote turn-on of the processors or amplifiers. The remote output is relay operated and capable of 1 Amp out.
Once the electrical connections are complete, you will want to reconnect the negative terminal to your battery, however continue to act positively.
The LC6i needs to be installed in the signal path after your factory source unit or amplifier but definitely before your aftermarket amplifi-ers and/or any signal processors. You may already have guessed there are numerous ways to configure the LC6i in your audio system so we recommend you spend a little quality time planning out your system and even sketching it out on paper.
The next 2 pages show some examples of using the LC6i with some of our multi-channel amplifiers and subwoofer amplifiers.
Interfacing with a factory-installed radio
Figure 5: LC6i system using summing functions – 2-way front plus subwoofer
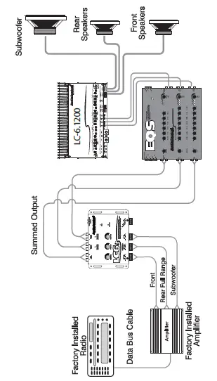
Figure 6: Six channel system with LC6i and EQS
Speaker-Level Inputs
The LC6i is designed to accept an amplified, speaker-level signal from a factory source unit or amplifier. You will want to refer to a facto-ry service manual or wiring-harness schematic to determine which wires are the speaker wires for your system. If you are unsure which wires are the speaker wires, it is recommended you look at the color of the speaker wire connected to the speakers and follow them back to the factory source or amplifier. Connect the speaker wires to the Speaker-Level Inputs on your LC6i. Make sure to get your “pluses” and “minuses” connected properly.
Pre-Amp Outputs
Connect good quality RCA connectors from these outputs to the inputs of your amplifiers. While we won’t get into the discussion as to whether plutonium cables sound better than unobtainium cables we will tell you that well-constructed cables are less problematic in a rugged environment like your car system.
Summing The Outputs
Under the cover are connection jumpers that allow the Main outputs of the LC6i to receive signals from the inputs of Channel pairs 2 and 3. These jumpers allow you to select which input signals will be summed into the Main output. When one of the jumpers is in the Summed position, the corresponding green indicator light on the front of the LC6i will be lit. The shipped-from-the-factory setting is in the Separate position.
When you have summed several channels together, you will want to make sure the output levels are providing a balanced frequency response. A simple technique involves using a pink noise CD and a real time audio analyzer (AudioControl happens to make a great one!) Refer to the diagram on the next page.
- Perform all of the steps necessary to install your LC6i.
- Connect the Main Outputs from your LC6i to the audio input on your real time analyzer. “Yes”, your amplifiers will be disconnect-ed from the LC6i at this time.
- Start playing pink noise on your CD player and raise the volume level until signal is displayed on your real time audio analyzer (RTA).
- Adjust the LC6i input level controls for each pair of channels until your RTA is displaying a smooth or flat response curve.
- If you wish to make any additional frequency response adjustments you may want consider adding an equalizer to your system (we happen to know someone who makes some really good ones: yep, us again, please visit- www.audiocontrol.com).
Figure 7: Using an RTA to measure the Summed Response
Level Matching
If you have ever listened to a friend’s “killer” car audio system and heard lots of hiss, clicks or pops, then you may have experienced an improperly level-matched system. When a performance autosound system is properly level matched, you should get the maximum output from your source unit and amplifiers without any clipping or that annoying hiss! The following steps will help you through the process, although at the end of the day, your ears will be your guides!
- Set your source unit’s fader and balance controls to their center positions. If your source unit has subwoofer output (and you are using it), set the output level at minimum.
- Disconnect the RCA cables between your LC6i and the amplifier(s). Otherwise get some earplugs.
- Start playing some dynamic music and set the volume on your source unit to about 3/4 of maximum. You should not be hearing anything at this point as the amplifiers are unplugged. If you are hearing music, go back to step #2; if you are hearing voices go see a doctor!
- Adjust the output level controls until the “Maximized” light starts to flicker. If the Maximized LED does not come on but you are hearing music, fear not. The signal level from your source unit is probably not sufficient enough to trigger the LED. Do not worry, proceed on.
- Set the input gains on the amplifier(s) at minimum! This is known as turning down your gains.
- Double check that you performed Step #5!
- Decrease the volume control on your source unit and re-connect the RCAs between the LC6i and the external amplifier(s).
- Now increase the volume on your source unit to your normal listening level. For some of you, this may be louder than others!
- At this point you may find yourself going back and adjusting the Output Level controls on your LC6i to balance the front, rear, and subwoofer sections of your system to accommodate speaker placement and efficiency. Speakers on the rear deck of your car will probably sound louder than the ones in your doors!
ACR-1 Dash Control (available separately)
Placement and Mounting
The dash control may be mounted under the dash using its own bracket or through a custom hole in the dash. It should be within reach of the driver and in a spot where the LED is plainly visible.
Dash Bracket Installation
The dash control mounts with two screws, which attach to the under-side of the dashboard. Slide under the dash and place the dash control in its mounting position, mark the two mounting holes, drill pilot holes, and secure with two screws.
Custom Installation
For that custom, finished look, the dash control can be flush-mounted directly on the dashboard (or anywhere else). Disassemble the dash control from the mounting using the diagram at the right as a guide.
Make sure you are not about to drill into any existing wiring, fuel or oil lines, or hydraulic pipes. Drill a 9/32″ (7 mm) hole in the dashboard for the control, along with a 3/32″ (2.3 mm) hole for the lock tab, and a 1/8″ (3 mm) hole for the LED. Reassemble the ACR-1 components in their new custom location.
Dash Control LED
The LED on your dash control is a dashing amber and should brighten or dim when you turn the knob.
Figure 8: Dash Control Assembly
Troubleshooting
It is important to remember when installing your LC6i that the engineers who work for the car manufacturers don’t spend too much time thinking about interfacing after market products. Therefore you will most likely have to “modify” your traditional wiring and installation techniques when working with these types of systems. Many times traditional 12 Volt “turn-on” wires or pre-amp audio signals that you are used to with aftermarket systems don’t exist on these newer vehicles.
No Power: If the Power LED on your LC6i will not turn on, check to make sure that the power wire and remote turn-on wires are connect-ed or a fuse has not blown, and that your factory head unit is on!
LC6i Turns Off Intermittently: If you are using the GTO signal sensing to turn on your LC6i yet your system is turning off, this may be due to a cellular phone interface or navigation system built in to your factory installed source unit. These are known to route the audio signal away from your source unit’s outputs. In these situations it is recommended that you connect a 12-Volt trigger wire from the Remote In on the LC6i.
Sounds Distorted: Should your system sound distorted or your speakers are moving way too much, you should make sure you have your lev-els matched properly and that your amplifier gains are set at minimum.
System Hiss: Check to make sure that your amplifier gains are set at the minimum level.
Turn-On Pop or Turn-Off Pop: This generally occurs when your amplifiers are turning on or off at a different time than your LC6i. Therefore it is recommended that you use the “Remote Out” on your LC6i to turn your amplifiers on or off and eliminate any timing issues.
Low Output: Depending on the design of your factory-installed system, you may be connecting to a pre-amp signal instead of a speaker-level signal. Since the LC6i is a line output converter, you may need to turn up the gains on the LC6i or consider adding a pre-amp line driver like the AudioControl Matrix to increase the signal level to your aftermarket amplifiers.
Maximized LED Does Not Light Up: If this LED does not come on but your music sounds fine, don’t panic! Normal operation for this LED is for it to only flicker at higher levels and remain OFF at lower levels. It is only there to indicate when the pre-amp signal level in your LC6i is approaching the maximum level (a.k.a. “clipping”.) If it comes on…and stays on even without music, then you can panic.
If you like the LC6i, then you’ll love…
The EQS six-channel equalizer, is the perfect trunk mount processor for those of you who want to improve the sound and detail of your vehicle. Less than ideal factory speaker locations can make even the best speaker systems cry out for help. The equalization controls on the EQS provide you with an ideal amount of tone control to tame even the most challenging acoustical situations.
If you need a crossover for your system that keeps up with your LC6i, the 6XS is a 6-channel, 2-way crossover with breathtakingly steep 24dB-per-octave slopes. If performance is important to you, then you will appreciate the 6XS. Of course if you are just looking for deeper, chest-thumping bass, then The Epicenter, our patented (U.S. patent # 4,698,842) bass restoration processor, is just the hot ticket. It puts the woof back in your woofers!
And now a word from the legal department…
THE WARRANTY
People are scared of warranties. Lots of fine print. Months of waiting around. Well, fear no more, this warranty is designed to make you rave about us to your friends. It’s a warranty that looks out for you and helps you resist the temptation to have your friend, …who’s
“good with electronics”, try to repair your AudioControl product. So go ahead, read this warranty, and then take a few days to enjoy your LC6i before sending in the warranty card and comments.
“Conditional” doesn’t mean anything ominous. The Federal Trade Commission tells all manufacturers to use the term to indicate that certain conditions have to be met before they’ll honor the warranty. If you meet all of these conditions, we will warrant all materials and workmanship on your LC6i for one year from the date you bought it
(five years if it is installed by an authorized United States AudioControl dealer). We will fix or replace it, at our option, during that time.
Here are the conditional conditions:
- You have to fill out the warranty card and send it to us within 15 days after purchasing your LC6i.
- You must keep your sales receipt for proof of purchase, showing when and from whom the unit was bought. We’re not the only ones who require this, so it’s a good habit to get into with any major purchase.
- Your LC6i must have originally been purchased from an authorized AudioControl dealer. You do not have to be the original owner, but you do need a copy of the original sales slip.
- You cannot let anybody who isn’t (A) the AudioControl factory; (B) somebody authorized in writing by AudioControl to service your LC6i. If anyone other than (A) or (B) messes with your LC6i, that voids your warranty.
- The warranty is also void if the serial number is altered or removed, or if LC6i has been used improperly. Now these sound like big loopholes, but here is all we mean by it.
Unwarranted abuse is (A) physical damage (don’t use the LC6i for a jack stand); (B) improper connections (120 Volts into the power jack can fry the poor thing); (C) sadistic things. This is the best mobile product we know how to build, but if you mount it to the front bumper of your car, something will go wrong. - If an authorized United States AudioControl dealer installs your LC6i, the warranty is five years, otherwise the warranty is one year.
Assuming you conform to 1 through 6, and it really isn’t all that hard to do, we get the option of fixing your old unit or replacing it with a new one.
LEGALESE SECTION
This is the only warranty given by AudioControl. This warranty gives you specific legal rights that vary from state to state. Promises of how well the LC6i will perform are not implied by this warranty. Other than what we have covered in this warranty, we have no obligation, express or implied. Also, we will not be obligated for direct or indirect conse-quential damage to your system caused by hooking up the LC6i.
Failure to send in a properly completed warranty card negates any service claims.
LC6i SPECIFICATIONS
All specifications are measured at 14.4 VDC (standard automotive voltage). As technology advances, AudioControl reserves the right to continuously change our specifications, like our Pacific Northwest weather although we are working on changing that.
Maximum speaker-level input ……………………… 400 watts @ 4 ohms
Maximum output level ……………………………….. 9.5 Vrms
Output gain ………………………………………………. +/-12 dB
Frequency response …………………………………… 10 Hz-22 kHz
Total harmonic distortion ……………………………. 0.01%
Input Impedance ……………………………………….. 20 Kohms
Power supply …………………………………………….. High headroom PWM
………………………………………………………………… switching
Power draw ………………………………………………. 200 mA
Recommended fuse rating ………………………….. 1 Amp
Size ………………………………………………………….. 5.8″ W x 4.7″ D x 1.2″ H
Weight ……………………………………………………… 1.4 lbs
Remote Trigger Output Current……………………. 1 Amp
©2017 AudioControl. All rights reserved. AudioControl, Making Good Sound Better, LC6i, The Epicenter, EQS, 6XS, GTO and AutoMode are all trademarks of AudioControl, Inc. All other trademarks and registered trademarks are copyright of their respective owners, and are hereby acknowledged.
This manual was conceived, designed, and written while on a logging road through the Pacific Northwest on a spectacularly rare, sunny, and cloudless day. Country music was playing on the radio and Grandma was playing along on the banjo.
Technical Writer’s hair-do by Teasie-Weasie®
22410 70th Ave West
Mountlake Terrace, WA 98043 USA
Phone 425-775-8461















