Husqvarna DS 500 Drill Stand
Product Information
The Husqvarna DS 500 is a drill stand designed to be used with Husqvarna drill motors. It can accommodate drill bits with a maximum diameter of 500 mm. The product comes with various accessories such as a wrench, level indicator, end stop, and more. The stand features a feed lever with an insulated grasping surface for easy operation. It also has a lock clamp for quick mounting of the drill column. The product is equipped with transport wheels for easy movement and an adapter for quick spacer.
Safety Definitions
The product manual includes warnings, cautions, and notes to ensure safe usage. Warnings are used when there is a risk of injury or death if the instructions are not followed. Cautions are used when there is a risk of damage to the product or adjacent area if the instructions are not followed. Notes are used to provide additional information.
Product Usage Instructions
- Read the operator’s manual carefully and make sure you understand the instructions before using the product.
- Always exercise caution and use common sense when operating the drill stand.
- Use approved hearing protection to protect your ears from loud noise generated during operation.
- Do not modify the original design of the machine without approval from the manufacturer. Always use original spare parts to avoid any risk of injury or death to the user or others.
- Avoid situations that you consider to be beyond your capability.
- If you still feel uncertain about operating procedures after reading the instructions, consult an expert before continuing.
- Assemble the drill stand according to the instructions provided in the manual.
- Install the drill motor onto the drill column of the stand.
- Adjust the level of the stand using the level adjustment screws.
- Use the feed lever with the insulated grasping surface to operate the drill motor.
- Use the lock clamp for quick mounting of the drill column.
- Use the end stop to limit the depth of drilling.
- Use the wrench provided to adjust the drill bits.
- Transport and store the drill stand safely using the transport wheels and following the instructions provided in the manual.
- Maintain the drill stand regularly as advised in the manual to ensure safe and efficient operation.
- If you require any service, refer to the service section of the manual or contact your local dealer.
Introduction
Product Description
The Husqvarna DS 500 is a drill stand for Husqvarna drill motors.
- The stand is for drilling in ceilings, walls and floors.
- The drill stand is stable and can be used to drill dimensions of a maximum diameter of 500 mm.
- The column can be tilted 0-90°.
- The drill stand has a quick mounting plate for the drill motor.
- The feed lever can be used to set the column tilt and to lock the quick mounting.
- It is possible to use a 2 m long column (accessory) on the drill stand.
Product overview

- Operator’s manual
- Wrench, 24-32 mm
- Level indicator
- End stop
- Hole for jack screw (accessory)
- Feed lever with insulated grasping surface
- Carriage lock
- Lock screw, column tilt
- Support
- Hinge bracket
- Bottom plate
- Level adjustment screws
- Drill column
- Gear rack
- Lock clamp, quick mounting
- Lock screw, lock clamp
- Carriage
- Drill column, 2 m (accessory)
- Transport wheels (accessory)
- Adapter, quick spacer (accessory)
- AD bracket (accessory)
- Connection for vacuum pump
- Level adjustment screws
- Gasket, bottom vacuum suction
Symbols on the product
WARNING: This product can be dangerous and cause serious injury or death to the operator or others. Be careful and use the product correctly.
Read the operator’s manual carefully and make sure that you understand the instructions before you use the product.
Use approved hearing protection.
Note: Other symbols/decals on the product refer to special certification requirements for some markets.
Product liability
As referred to in the product liability laws, we are not liable for damages that our product causes if:
- the product is incorrectly repaired.
- the product is repaired with parts that are not from the manufacturer or not approved by the manufacturer.
- the product has an accessory that is not from the manufacturer or not approved by the manufacturer.
- the product is not repaired at an approved service center or by an approved authority.
Safety
Safety definitions
Warnings, cautions and notes are used to point out specially important parts of the manual.
WARNING: Used if there is a risk of injury or death for the operator or bystanders if the instructions in the manual are not obeyed.
CAUTION: Used if there is a risk of damage to the product, other materials or the adjacent area if the instructions in the manual are not obeyed.
Note: Used to give more information that is necessary in a given situation.
Always use common sense
WARNING: Under no circumstances should you modify the original design of the machine without approval from the manufacturer. Always use original spare parts. Unauthorized modifications and/or accessories may lead to serious injury or death to the user or others.
It is not possible to cover every conceivable situation you can face when using a drilling machine. Always exercise care and use your common sense. Avoid all situations which you consider to be beyond your capability. If you still feel uncertain about operating procedures after reading these instructions, you should consult an expert before continuing.
Do not hesitate to contact your dealer if you have any more questions about the use of the machine. We will willingly be of service and provide you with advice as well as help you to use your machine both efficiently and safely. Let your Husqvarna dealer check the drilling machine regularly and make essential adjustments and repairs. All information and all data in the operator’s manual were applicable at the time the operator’s manual was sent to print.
Safety instructions for operation
WARNING: Read all safety warnings, instructions, illustrations and specifications provided with this power tool. Failure to follow all instructions listed below may result in electric shock, fire and/or serious injury. Save all warnings and instructions for future reference.
WARNING: There is always a risk of injuries when you do work with products that contain moving parts. Wear protective gloves to prevent body injuries.
- Use personal protective equipment. Always wear eye protection. Protective equipment such as a dust mask, non-skid safety shoes, hard hat or hearing protection used for appropriate conditions will reduce personal injuries.
- Keep children and bystanders away while operating a power tool. Distractions can cause you to lose control.
- Remove all unwanted materials from the work area and keep it good illuminated before you start. If the areas are not cleaned and not illuminated there are more risks of accidents.
- Do not operate power tools in explosive atmospheres, such as flammable liquids, gases or dust. Power tools can make sparks which can set fire to the dust or fumes.
- Sudden appearance of persons and animals can make you decrease in control of the product. Because of this, always concentrate and focus on the task.
- Do not use the product in bad weather, such as fog, rain, strong winds, intense cold and equivalent conditions. Dangerous conditions, such as slippery surfaces, can occur because of bad weather.
- Examine the work are before you use the product. Look out for obstacles with risk of sudden and harmful movement. Make sure that no material can become loose and fall or cause injury during operation.
- Always examine the rear side of the surface where the drill bit will go through the surface. Make the area safe and put a mark that shows the work area. Make sure that no injury can occur to persons or material damaged.
- Stay alert, watch what you are doing and use common sense when operating a power tool. Do not use a power tool while you are tired or under the influence of drugs, alcohol or medication. A moment of inattention while operating power tools may result in serious personal injury.
- Prevent unintentional starting. Ensure the switch is in the OFF-position before connecting to power source and/or battery pack, picking up or carrying the tool. Carrying power tools with your finger on the switch or energising power tools that have the switch on invites accidents
- The product can cause objects to eject, which can cause injury to the operator. Remove the adjusting key and wrench before you start the product.
- Do not let familiarity gained from frequent use of tools allow you to become complacent and ignore tool safety principles. A careless action can cause severe injury within a fraction of a second.
- Make sure that all operators, that use the product, have read and understood the contents of the operators manual.
- Dress properly. Do not wear loose clothing or jewellery. Keep your hair and clothing away from moving parts. Loose clothes, jewellery or long hair can be caught in moving parts. .
- Dangerous accidents can occur if the concrete core stay in the drill bit when you pull out the drill motor from the floor or wall.
- Stay at a distance from the drill bit when the motor is running.
- Make sure that no pipes or electrical cables are put in the area where the hole will be made.
- Do not go away from the product when the motor is running.
- Do not overreach. Keep correct foothold and balance at all times. This enables better control of the power tool in unexpected situations.
- Make sure that there is always one more person close at hand when you use the product. If an accident occurs, you can receive help when necessary.
- Do not use a product with defective safety equipment.
- Do the safety checks, maintenance and service as given in this manual. Some maintenance and service measures must only be done by approved service agents. See the sectionSafety devices on the product.
- Inspection and/or maintenance must be done with the motor stopped and the plug disconnected from the power outlet.
- Do not use a product that has been changed from its factory specification.
- Disconnect the plug from the power source and/or remove the battery pack, if detachable, from the power tool before making any adjustments, changing accessories, or storing power tools. Such preventive safety measures reduce the risk of starting the power tool accidentally.
- Keep handles and grasping surfaces dry, clean and free from oil and grease. Slippery handles and grasping surfaces do not allow.
- Do not overload the product. If you overload the product, it can be damaged.
- Keep all parts in good condition and make sure that all fixtures are correctly tightened.
Personal protective equipment
WARNING: Read the warning instructions that follow before you use the product.
- Always use correct personal protective equipment when you operate the product. The personal protective equipment does not erase the risk of injury. The personal protective equipment decreases the grade of injury if an accident occurs. Let your dealer help you select the right equipment.
- Use approved eye protection while you operate the product.
- Use heavy-duty slip-resistant boots with steel toecaps.
- Use clothing that is close-fitting but does not limit your movements.
- Regularly do a check of the condition of the personal protective equipment.
- Use approved heavy duty protective gloves.
- Use rubber protective gloves to prevent skin irritation from wet concrete.
- Use an approved protective helmet.
- Always use approved hearing protection while you operate the product. Noise for a long period can cause noise-induced hearing loss.
- The product causes dust and fumes that is bad for your health. Use an approved respiratory protection.
- Make sure that you have a first aid kit near.
- Sparks can occur when you operate the product. Make sure that you have a fire extinguisher near.
- Do not use loose clothing, jewelry or other items that can get caught in moving parts. Put your hair up safely above shoulder level.
Safety devices on the product
WARNING: Read the warning instructions that follow before you use the product.
- Do not use a product with defective safety devices.
- Do a check of the safety devices regularly. If the safety devices are defective, speak to your Husqvarna service agent.
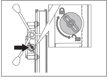
To do a check of the carriage lock

- Turn the knob to lock the motor carriage.
- Feel by hand that the carriage is locked to the drill column.
To do a check of the end stop of the drill column

- Push the stop plate into the correct position.
- Make sure that the drill motor carriage stops when it touches the stop plate.
Safety instructions for maintenance
WARNING: Inspection and/or maintenance should be carried out with the motor switched off and the plug disconnected.
- Maintain the product and accessories. Check for misalignment or binding of moving parts, breakage of parts and any other condition that may affect the operation of the product. If damaged, have the product repaired before use.
- Have your product serviced by a Husqvarna service dealer using only identical replacement parts.
Assembly
Introduction
This section describes how to assemble and adjust the product.
WARNING: Before you assemble the product, read the safety chapter and the assembly instructions.
To attach the wheel kit (accessory)

- Attach the wheel kit on the rear side of the bottom plate.
- Tighten the screw.
To attach the drill motor
WARNING: Always pull out the plug from the outlet socket before cleaning, maintenance or assembly.

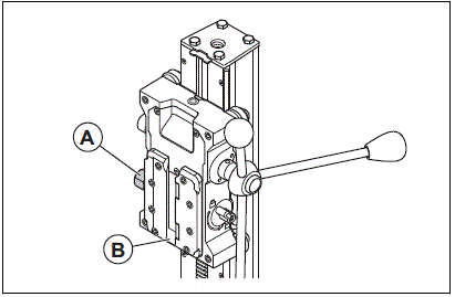
- Unlock the drill motor carriage (A).
- Attach the drill motor in the track (B) on the drill motor carriage.
- Lock the drill motor carriage (A).
Quick spacer (accessory)

- Use a quick spacer to drill large hole diameters. To select the correct quick spacer, refer to Maximum drill diameter.
- Assemble the quick spacer on the drill motor before you attach the drill motor to the drill stand.
To replace the drill stand column (assessory)

- Push the stop plate to open position. Remove the drill motor carriage.

- Fold the drill stand column fully rearward. Refer to To adjust the angle of the drill column.

- Remove the 4 bolts from the hinge bracket.
- Remove the drill stand column.
- Install the drill stand column in the opposite sequence.
Installation
Procedures for installation
There are 3 procedures that can be used to install the product before a drill operation:
- With an expander bolt.
- With a vacuum plate.
- With an all thread rod, a washer and a locknut.
To attach the drill stand with an expander bolt
WARNING: When drilling ceilings and walls, only expander or anchor suitable for surfaces exposed to tensile forces should be used. Use only expander or anchor which is approved for current application.

- Make a hole for the expander bolt. Refer to To attach the expander bolt. Measure a distance (A) of 335 mm (13.2 in.) from the center of the hole that you will drill. If you use the quick spacer (assessory), the distance changes. Refer to Quick spacer (accessory).
- Attach the bottom plate with an expander bolt.
- Make sure that the drill stand is tightened correctly.

- If it is necessary, adjust the bottom plate. Use the level adjustment screws to adjust the bottom plate to the surface.
To attach the expander bolt

- Drill a hole for the expander bolt. Make sure that the depth is sufficient. The socket must be put below the surface.

- Use the mandrel and a hammer to install the expander.

- Install the anchor screw.

- Attach the product with the nut.
To attach the product with a Husqvarna vacuum plate
WARNING
- Do not use the product in combination with the vacuum plate when you drill in walls or ceilings.
- The support surface must be flat and of good quality. The product can become loose if the vacuum plate cannot seal fully against the surface.
- Use of vacuum plate is only recommended together with these Husqvarna drill motors: DM 220, DM 230, DM 280, DM 340, DM 400, DM 430. Use of other drill motors can cause the product to become loose.
- Attach the product to the vacuum plate with the bolt.

- Loosen the level adjustment screws. They must be above the bottom of the vacuum plate.
- Connect the vacuum hose and start the pump.
- CAUTION: The minimum pressure must be -0.85 bar to seal the vacuum plate tightly to the surface.
- Tighten the level screws until you feel pressure on the screw.
WARNING: The level adjustment screws must touch the surface when when you use the vacuum plate. If not, the vacuum plate can come loose.
To attach the drill stand with a rod that has a thread
- Use an all through rod if it is not possible to attach the drill stand to the wall or ceiling with an expander bolt. Use washers and nuts to tighten the all through rod.
Operation
Before you operate the product
WARNING
- This machine is designed for and intended for drilling concrete, brick and different stone materials. All other use is improper.
- Before drilling, check that all locking screws are tightened well. Serious accidents can occur if the concrete core remains in the drill when backing out the drill motor/drill from the floor, wall or ceiling.
- When drilling ceilings, always use a water collector that is approved for your drill motor, or use a hydraulic drill motor. There is a risk that the drilling machine and the stand become live if water leaks into the machine.
- Make sure end stop is fitted and functional.
- Read the operator’s manual carefully and make sure that you understand the instructions.
- Keep the work area clean and bright to prevent accidents.

- Do daily maintenance. Refer to Daily maintenance of the drill stand.
- Use personal protective equipment. Refer to Personal protective equipment.
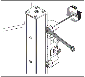
To adjust the angle of the drill column

- Loosen the lock screw that locks the drill column and set the applicable drill angle.
- Use the angle indicator for approximate adjustment. If higher precision is necessary, use alternative methods to measure.
- Tighten the lock screw of the drill column. Use the feed lever. The drill column can be tilted 0-90°.
Maintenance
Introduction
WARNING
- Read and understand the safety chapter before you do maintenance on the product.
- To prevent injury, disconnect the power cord before you do maintenance.
Daily maintenance of the drill stand
- Make sure that the nuts and screws are tight.
- Clean the external surface of the drill stand.
- Make sure that the feed lever moves without resistance.
- Make sure that the gears move easily and do not cause a noise.
- Examine the drill column, look for wear or damage.
- Make sure that the drill motor carriage moves easily and that there is no play against the drill column.
To clean and lubricate the drill stand
CAUTION: If you do not clean the drill stand, it can become damaged.
- Remove the drill motor.
- Clean the drill stand with a high pressure washer and then remove remaining water with a dry cloth.
- Lubricate the moving parts on the drill stand. Apply grease to the contact surfaces to prevent corrosion.
To adjust the drill motor carriage
If there is distance between the drill column and the drill motor carriage, the drill motor carriage must be adjusted.

- Loosen the screws that hold the roller shafts.

- Adjust the roller shafts. Turn the screw counterclockwise to move the guide wheels in the direction of the drill column.

- Lock the position of the guide wheel with a wrench. Tighten the screw to lock the roller shaft with a hex key.
- Note: After you have tightened the roller shafts, they must be possible to turn with the feed lever but not by hand.

- Note: After you have tightened the roller shafts, they must be possible to turn with the feed lever but not by hand.
- Use the feed lever to move the motor carriage up and down. Make sure that the drill motor carriage moves smoothly on the drill column. The roller shafts must rotate and not move. If it is necessary, adjust the roller shafts again.
Transportation and storage
Transportation and storage
- Safely attach the product during transportation to prevent damage and accidents.
- The accessory transport wheels can be used to transport the stand with mounted drill unit.
- Without transport wheels the drill unit needs to be dismounted from the stand during transport as the combined lifting weight is above 25 kg.
- Keep the product in a locked area to prevent access for children or persons that are not approved.
- Keep the drilling machine and stand in dry, frost free conditions.
Technical data
Technical data
| Dimensions | |
| Height, mm / in. | 1050 / 41.3 |
| Width, mm / in. | 240 / 9.4 |
| Depth, mm / in. | 395 / 15.5 |
| Weight, kg / lbs | 17 / 37.4 |
| Travel length, mm / in. | 700 / 27.5 |
| Max load (on handle), kg / lbs | 120 / 264.5 |
| Drill column angle | 0-90o |
Maximum drill diameter
| Drill motor | Spacer, mm / in. | |
| 0 | 50/2 | |
| DM 400 | 370/14.6 | 470/18.5 |
| DM 430 | 370/14.6 | 470/18.5 |
| DM 700/650 | 400/15.7 | 500/19.7 |
| DM 280/340 | 370/14.6 | 470/18.5 |
Service
Approved service center
- To find your nearest Husqvarna Construction Products approved service center, go to the web site.
Warranty
Warranty policy
All warranty claims will be determined after inspection at a designated facility. A Returned Goods Authorization is required for all warranty claims. Contact Husqvarna Customer Service Department at 800-845-1312 for an RGA. The customer must prepay the freight and absorb any labor expense required to return or replace a product submitted for warranty consideration. Husqvarna will pay return shipping expenses for repaired or approved replacement products.
EQUIPMENT
Equipment manufactured by Husqvarna is warranted to be free from manufacturing defects in normal service for a period of two (2) years from date of purchase by the original consumer purchaser. Component manufacturers offer separate warranty periods. Call Technical Services at 800-288-5040 for complete information. Our obligation under this warranty is expressly limited to the replacement or repair at Husqvarna Construction Products North America, Olathe, Kansas 66061, or at a service facility designated by us, of such part or parts as inspection shall disclose to have been defective.
This warranty does not apply to defects caused by damage, unreasonable use, faulty repairs made by others than an approved Husqvarna servicing dealer, or defects caused by failure to provide reasonable maintenance, while in the possession of the consumer. Further, the warranty is void if the product, or any of its components, are altered or modified by the consumer purchaser, or if the product is used in an inappropriate manner or with tools not recommended by the manufacturer.
Exceptions: Drill motors – 3 months, Wall saws – 1 year, Power cutters – 3 months, DM230 – 1 year, DM225 – 3 months, Gyro systems – 1 year, CD40 system – 1 year, DS160 C – 1 year, Smart box – 1 year, CS2515 – 1 year, PP455 E – 1 year, PP345 E – 1 year, HP40 – 1 year. Wear items: Filters, spark plugs, bearings*, belts, wheels** and wear pads.
Except IntelliSealTM system. **Except delamination.
































