
Pulse Oximeter JPD-500G(Bluetooth)
Date of Issue: 2020.11, Version: V1.1
FCC statement
This device complies with Part 15 of the FCC Rules. Operation is subject to the following two conditions :
- This device may not cause harmful interference.
- This device must accept any interference received, including interference that may cause undesired operation.
NOTE: This equipment has been tested and found to comply with the limits
for a Class B digital device, pursuant to Part 15 of the FCC Rules. These limits are designed to provide reasonable protection against harmful interference in a residential installation. This equipment generates, uses, and can radiate radio frequency energy and, if not installed and used in accordance with the instructions, may cause harmful interference to radio communications. However, there is no guarantee that interference will not occur in a particular installation. If this equipment does cause harmful interference to radio or television reception, which can be determined by turning the equipment off and on, the ser is encouraged to try to correct the interference by one or more of the following measures:
- Reorient or relocate the receiving antenna.
- Increase the separation between the equipment and receiver.
- Connect the equipment into an outlet on a circuit different from that to which the receiver is connected.
- Consult the dealer or an experienced radio/TV technician for help.
Warning: Changes or modifications to this unit not expressly approved by the party responsible for compliance could void the user’s authority to operate the equipment.
Precautions
- Do not attempt to repair the Oximeter unless you are a professional engineer. Only professionals with maintenance qualifications are allowed to perform interior maintenance as necessary.
- Change the contact position between the Oximeter probe and the finger periodically if you are monitoring your SpO2 levels and pulse rate for more than 2 hours.
- Stop immediately if you have broken skin or the blood circulation of your finger is affected during prolonged use.
- This product is not designed to be used by newborn babies. Seek medical care if the measured value goes beyond the normal range and you are sure that the instrument is not malfunctioning.
- The pulse oximeter uses infrared light (invisible to your eyes) to measure your SpO2 levels. Hence, please do not stare at the light-emitting components of the Oximeter, as that could cause harm and/or potentially blind your eyes.
- This pulse oximeter is not intended to diagnose or treat any medical condition or disease. People who need SpO2 and pulse rate measurements because of a medical condition should not use the oximeter and should consult with their physician.
- For details about clinical limitations and contraindications, please carefully consult relevant medical pieces of literature. The following factors may affect the accuracy of the measurement:
- The Oximeter is used in an environment involving high-frequency devices, such as high-frequency electric knives and CT apparatuses.
- Ambient light intensity is too bright. Hence, please avoid direct exposure to strong light (such as beams from operating lamps or sunlight) during measurement.
- The probe of the Oximeter is placed on the same arm that a blood pressure cuff arterial duct or intravenous injection.
- The user suffers from hypotension, severe vascular atrophy, severe anemia low oxygen.
- The user is in a sudden cardiac arrest or shock state.
- The user is wearing nail polish or artificial nails.
Warnings
Warning: Do not use the Oximeter in an environment with any flammable gases, flammable anesthetic, or other flammable substances.
Warning: Keep unit and lanyard away from children as the included lanyard may present an entanglement or choking hazard to small children. Adult supervision required; never leave children unattended with unit or lanyard
Warning: Do not throw the batteries into fire, as that could cause an explosion.
Warning: Do not attempt to charge the included batteries, as that could cause leakage, fire disaster, or even explosion. Dispose of the used batteries in accordance with the local laws and regulations.
Warning: Do not use the Oximeter in an MRI or CT environment.
Warning: Do not operate the Oximeter if it is wet. Avoid moving the oximeter from a cold to a hot and humid environment.
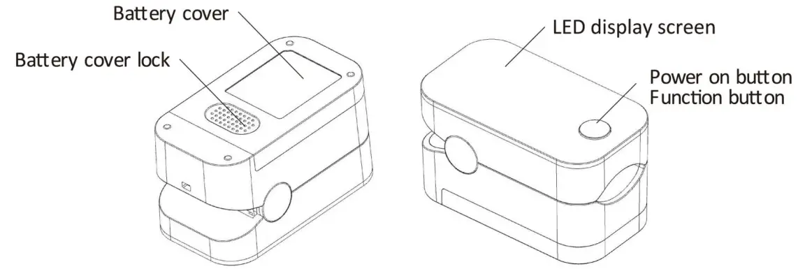
Warning: Install the batteries properly before powering on the Oximeter for normal use. Please remove the batteries if you are not planning to use the Oximeter for a long time.
Warning: Close the battery cover when the instrument is in use.
Symbols
| Symbol | Meaning |
| Type BF applied part | |
| Caution: Please see this manual. | |
| Symbol of oxygen saturation | |
| Symbol of pulse rate | |
| No Sp02 alarms. | |
| Bluetooth | |
| When end users abandon this product, they must send the product to the collection place for recycling. | |
| Consult the instructions for use. |
Overview
Oxygen saturation is the percentage of oxyhemoglobin (HbO2) that is combined with oxygen against all combinable hemoglobin (Hb). It is an important physiological parameter involved in respiration and circulation. The oxygen saturation of arterial blood in a normal human body is 98%. Oxygen saturation is an important indicator of the oxygen condition in the human body. In general, the normal values of oxygen saturation shall not be lower than 94%. If the measured value of oxygen saturation is lower than 94%, an insufficient supply of oxygen is considered. The pulse rate is the number of pulse beats per minute. Normally, the pulse rate is consistent with the heart rate. In general, the pulse rate of every people is 60 to 90 beats per minute. The Perfusion Index (PI) usually reflects the limb perfusion status of an examined patient, and shows the detection precision of the instrument as well; that is, the examination can still be performed even in the low or weak perfusion condition. The PI of a normal human body is 3% or greater.
Working Principles and Usage
Based on full digital technology, the Finger Pulse Oximeter non-invasively measures the actual content (oxygen saturation) of oxyhemoglobin (HbO2) in arterial blood using the optical transmittance method. The Finger Pulse Oximeter measures the blood oxygen saturation and pulse rate of a human body via the finger artery. It is applicable to a wide range of fields, such as families, hospitals (including operation rooms of the departments of internal medicine and surgery, the department of anesthesiology, the department of pediatrics, and intensive care rooms), oxygen bars, social medical care institutions, and sports & health. Use this instrument for measurement before or after sports. You are not advised to use this instrument during sports activities. Do not use it for the continuous care of patients.
Schematic Diagram of Display

Schematic Diagram of Display
The following figure shows the information displayed on the LED screen of the Oximeter in normal detection state:

Press the power-on/function button to turn on the oximeter. Once it is turned on. Simply press or hold the button to perform corresponding operations. Press: Press the button for less than 0.5 seconds. Hold: Press the button for more than 0.5 seconds.
Brightness Setting
Hold the power-on button while the oximeter is in a powered-on state, then the oximeter shows a brightness setting interface(as “Interface 1” below shows, “or” represents brightness). Hold the button to adjust brightness. There 3 brightness settings(1,2,3). 3 is the brightest.
Alarm Setting
After setting the brightness, press the power-on button to enter the alarm setting interface(as “interface 2” below shows, “AL” represents alarm). Then hold the button to set “AL” to on or off. When “AL” is set to on and the measured values of the blood oxygen saturation and pulse rate go beyond the upper limit or lower limit, the oximeter will beep to alarm.
Alert Range Setting
When “AL” is set to on, you can set the upper limit and lower limit of SpO2 Alert and PR Alert. Press it to switch an option(SpO2 upper limit, SpO2 lower limit, PR upper limit, and PR lower limit). Hold the power-on button to adjust the limits. (as “Interface 3,4,5,6” below show, “Hi” represents the upper limit, “Lo” represents lower limit) .

Operation Guide
Stick one finger completely into the finger chamber of the oximeter. The fingernail should be facing upward. Release the clip and press the power-on button to power on the pulse oximeter.
If you do not insert your finger completely into the chamber, the measurement will be inaccurate.
To keep your finger still during the measurement. It is also not advisable to use this instrument during sports activities as movement may lead to inaccuracies. Once the reading stabilizes, read the measured values of oxygen saturation and pulse rate on the screen.
NOTE: The oximeter will automatically shut down 10 seconds after you remove your finger.
Connecting the Instrument to a smartphone via Bluetooth
Note: For details on specific operations, see the JUMPER Health User Manual.
Replace the batteries when the batteries run out of power and the symbol flickers on the screen.
Install the two AAA dry batteries into the battery slot according to polarity indication, and mount the battery cover.
Cleaning
Power off the instrument and remove the batteries before cleaning. Ensure that the appearance of the instrument is neat, dust-free, and dirt-free. Clean the outer surface of the instrument (including the LED screen) using a piece of dry soft cloth dipped with 75% medical alcohol
Caution: Avoid liquid flowing into the instrument during cleaning.
Caution: Do not immerse any part of the instrument into any liquid.
Disinfection
Before measurement with the instrument, wipe the rubber finger pad using a piece of dry soft cloth dipped with 75% medical alcohol. Clean the finger to be measured using the medical alcohol for disinfection purposes before and after use.
Do not disinfect the instrument by means of high-temperature/high-pressure or gas disinfection.
Maintenance
- Remove the batteries from the battery slot and properly store them if you do not plan to use the Oximeter for a long period of time.
- Avoid using the Oximeter in an environment with inflammable gases or using it in an environment where the temperature or humidity is excessively high or low.
- Check the accuracy of the oxygen saturation and pulse rate readings by using an appropriate calibration apparatus.
Technical Specifications
- Dimensions: 58.0 mm (Width) × 32.0 mm (Depth) × 32.9 mm (Height) Weight: 50.4 g (including two AAA dry batteries)
- The peak wavelength range of the light emitted from the probe: red light 663 nm ± 3; infrared light 900 nm ± 7.
- The maximum optical output power of the probe: 60 mW for infrared light (905 nm).
- Bluetooth module: 4.1
- Normal working condition
Working Temperature 5°C to 40°C (41°F to 104°F) Relative Humidity 15% to 80%, non-condensing Atmospheric Pressure 70 kPa to 106 kPa Rated Voltage DC 3.0 V - Default values and conditions of alert
Parameter Value Oxygen saturation Upper limit: 100
Lower limit: 94Pulse rate Upper limit: 130
Lower limit: 50Alert condition When the alert switch is on and the
actual measured value goes beyond
the preset alert parameter range, the
Oximeter gives an alert sound. - Technical parameters
Parameter Value Display range Oxygen saturation 35% to 100% Pulse rate 25 bpm to 250 bpm Resolution Oxygen saturation 1% Pulse rate 1 bpm Measurement
precisionOxygen
saturation±2% (70% to 100%)
No requirement CS 69%)Pulse rate ±2 bpm Alert range Oxygen
saturationUpper limit: 50% to 100%
Lower limit: 50% to 100%Pulse rate Upper limit: 25 bpm to 250 bpm
Lower limit: 25 bpm to 250 bpmAlert error Oxygen saturation ± 1% of the preset value Pulse rate The greater of ±10% of the
preset value and ±5 bpm
Safety Type
Anti-electric-shock type: internal power supply device
Anti-electric-shock degree: Type BF applied part
Running mode: continuous working
Waterproof grade: IP22
Storage and Transportation
MedPath GmbH
Mies-van-der-Rohe-Strasse 8, 80807 Munich, Germany
Shenzhen Jumper Medical Equipment Co., Ltd
Address: D Building, No. 71, Xintian Road, Fuyong Street,
Baoan, Shenzhen, Guangdong, China
E-mail: [email protected]
Tel: +86-755-26692192,26696279
Web:www.jumper-medical.com

















