UNiSTO e-Guard Data Trans Digital Security Solutions User Guide
Set contain

Wake-up your e-Guard
When the button is pressed, SLEEP appears on the display.
To activate the device you have to press the button 5 times within 5 seconds
After that the display shows Start for a short time. Now the seal is ready and creates sealing numbers.
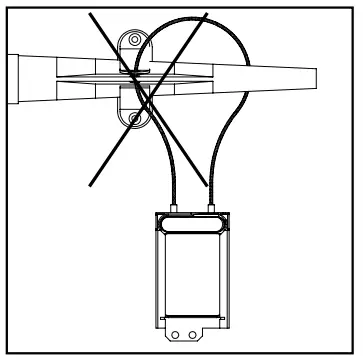
Installation guide
Additional tools
Saw
drill ø6mm or 1/4”
Open-end spanner 10
pen
file


Make sure the door latch cannot be opened






Cut excess with a saw and remove any sharp edges with a file.
How to use
Close the seal
Push the button and write down the 4 digit unique sealing number.
Push the button on your final destination and check your code again
unlock your seal
Battery change
Remove the back cover and the old battery. Use a replacement battery from Unisto.
Plug in the new battery and turn the e-Guard to check the display.
While booting the display lights up.
Mount the back cover. Place all five O-rings delivered with the battery
Fix the back plate with the four new screws. Do not overtighten the screws!
Hasp replacement and calibration
Push the rocker and unfeed the loose end of the hasp
Remove the bridge
Remove the rocker and the hasp completely
Push the touch button until the yellow LED flashes for the second time and the display shows “CAL”. Push the button again and the display shows “oPEn”. Push the button a second time and two different randomly generated 5 digit code appear on the display
After the numbers “CLOSE” appears on the display and the new hasp ends must be inserted.

When the calibration was successful the display will show “donE”. If calibration was unsuccessful the Display will show “Error” and calibration will start over.
Device functions
Firmware Touch the button for 10 seconds until the green LED flashes for the second time.
Firmware version, for example 2.02.04.
Activate and deactivate Bluetooth Touch the button for 5 seconds and the green LED starts/stops flashing.
Operations (oPS) Touch the button 5-times in 5 seconds. The total amount of operations is shown
Missing hasp When the hasp is missing the e-Guard does not show or generate numbers. Only a single point is shown on the right side of the display
MAC Adress
To display the mac-address unplug and plug the battery.
During the reboot the mac-address is shown on the display splitted in 6 segments. For example:
- E7
- 1A
- E9
- Cb
- 1d
- bb
The full mac-address is E7.1A.E9.CB.1D.BB
App Function
Unisto e-Guard Data Trans

The app is developed for Smartphones with operating system Android 8.0 or higher.
Download the app from the store and follow the instructions.
https://play.google.com/store/apps/details?id=com.unisto.eguard

Initial operations
It’s important to make sure the e-Guard was once connected to the smartphone before use!




Warnings
- Apply and use Unisto e-Guard as described in this manual (scan the QR code on first page)
- Do not try to recharge the battery, or expose to heat above 100 C, risk for fire, explosion and severe burn hazard.
- Wrong connection of the battery pack connector will ruin the electronics!
- Moist in the battery compartment could ruin the electronics!
- A qualified person only should replace the battery, the cable and do the initialization!
- Do not pressure wash.
- Do not drill holes or hammer the product.
- Only certified original cables can be used.
- Only the special battery pack from Unisto can be used.
Correct disposal:
The responsible disposal of Unisto e-Guard serves to protect public health and the environment. Please do not dispose of end-of-life lithium powered Unisto e-Guard together with your regular household or business waste. Please take them to appropriate WEEE compliant electrical recycling centers or to designated battery and small electrical drop-off sites in your community.
Warranty
Warranty Policy for Unisto Electronic Seals Policy for Unisto Electronic Seals
General
The warranty commences on the date of sale. For customers the warranty will expire 12 months from this date. This commencement date can be found on the delivery note received with the goods, on the sales invoice or alternatively by reading the production code from the serial number on the back of the product i.e. H2520 would be week 25 / year 2020.
It is mandatory that the serial number is still intact on the product when requesting a warranty repair. Failure for this could result in the product being deemed out of warranty. Products covered under the Unisto warranty may be repaired or replaced in the following ways:
a) by replacing components with either new or parts that are equivalent to components, which have been discontinued
b) with an equivalent product which may have been subject to prior use
c) with a new unit Repair procedure is according to the current easy repair process. All defective products must firstly be returned to the nearest Unisto Site. Repairs may only be carried out at the Unisto site. Our aim is to repair or replace faulty units within 10 working days upon receipt of the units in UCH. Carriage will be paid for warranty repairs dispatched, not collected, only. During the warranty period Unisto will replace or repair products at its own discretion.
Unisto Extended Warranty
Warranty extension of another 12 months can be purchased on the date of purchase only. That will lead into a maximum warranty period of 24 month starting from date of sale. Unless any other exclusions or requirements have been specified, the standard warranty policy will apply
Exclusions
The warranty does not apply to products where:
a) the serial number is removed or tampered with.
b) the product is damaged or rendered defective as a result of accident, misuse, abuse, contamination, and improper or inadequate maintenance.
c) the product has been modified or serviced by anyone other than Unisto.
d) the product has not been fitted/used in accordance with the fitting instructions
e) the unit is outside the warranty time period detailed above.
Outside Warranty
Units that fall outside the warranty period may be repaired by Unisto at the customers’ discretion. Repair procedure is according to the current easy repair process. No carriage is included. An easy repair charge is applied for this service: Charges apply according to the latest repair order Form. 96
Please note: Charges do apply regardless of the fault. Should any of the exclusions listed above under paragraph 3 apply, then an additional charge may be made on top of the easy repair charge. This will be quoted separately, and will be dependent on the type of fault discovered. In addition Unisto will not normally repair a standard unit, which is deemed uneconomical to repair. Repairs or replacement parts are warranted to be free of defect in materials or workmanship for 3 months. Our aim is to repair or replace faulty units within 10 working days after custom clearance.
Annex
These terms and conditions supersede any prior agreements. No change to the conditions of this Limited Warranty is valid unless it is made in writing and signed by responsible product manager of Unisto Switzerland. Unisto reserve the right to amend this document at any time.
Horn (Switzerland), 1st March 2021



















