PAIDI 3220 Desk E-LION
Product Information
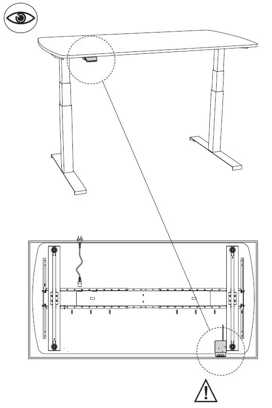
The product is a sit-stand desk with a motor control unit that allows users to adjust the height of the desk. It is intended for use as a writing and working table in living areas. The desk has a maximum weight capacity of 80 Kg and should be operated with a nominal voltage of 230-240 V / 50-60 Hz. The motor control unit should only be operated with the nominal voltage of 230-240 V / 50-60 Hz. The desk has built-in collision protection, which is a system protection and not a form of personal protection.
Product Usage Instructions
Before assembling and commissioning the desk, it is important to read and observe the operating instructions provided in the user manual. Non-compliance with the instructions can result in accidents with serious personal injury or damage to the product. The following instructions should be followed:
- Ensure that the motor control unit is only operated with the nominal voltage of 230-240 V / 50-60 Hz.
- Do not use the drive system to lift people or sit/stand on the system during operation as this can result in injury.
- Ensure that the desk has a minimum distance of 25mm to neighbouring objects such as furniture or building parts to avoid the risk of crushing and shearing.
- Move office chairs, containers, etc. out of reach before adjusting the desk height.
- Protect the desk frame and all electrical components from moisture, dripping, and splashing water as use is only permitted in dry indoor areas.
It is important to note that if the mains voltage is interrupted, the software on the desk may not work properly and may not calculate temperature correctly. When the system is switched on again, the software will continue to calculate using the data from the time when the system was disconnected from the mains.
Assembly

- Check the tightness of the screw connections from time to time and tighten if necessary, as otherwise the stability of the construction is not assured.
Precautions

Be sure to read and observe these operating instructions before assembling and commissioning the desk!
Non-compliance with the above instructions can lead to accidents with serious personal injury or damage to the product.
Please keep these operating instructions in a safe place! Everyone who connects, installs and uses the system must have access to these
installation instructions.
Please note
- The sit-stand desk may only be used for its intended use, as a writing and working table for the living area.
- Do not use the drive system to lift people. Do not sit or stand on the system during operation (risk of injury).
- The motor control unit may only be operated with the nominal voltage 230-240 V / 50-60 Hz.
- The sit-stand desk is not designed for continuous operation. The desk height must not be adjusted without interruption for longer than the duty cycle specified in the instructions (1 min on / 19 min off). The maximum total load of the desk is 80 kg on each column.
Important
- The E-Lion has an important function that prevents the system from overheating. The temperature of the motor and electronics is calculated by the software during operation and depends on the load, run time, etc. The duty cycle of the E-Lion is 5% ≈ 1 minute of continuous operation at full load, followed by 19 minutes of pause.
- If the E-Lion is used beyond the duty cycle, the system will become hot and stop, and the „Display Desk Panel“ will display error code E90.
- After a few minutes of pause, the E-Lion can make another run. However, to cool the system down to the default values, the E-Lion needs to cool down for at least 2 hours with the power supply plugged in.
Please note: If you interrupt the mains voltage, the software cannot work properly and cannot therefore calculate the temperature correctly. When the system is switched on again, the software will continue to calculate using the data from the time when the system was disconnected from the mains.
Danger: Risk of crushing and shearing!
- To avoid the risk of crushing and shearing, the desk with its moving parts must have a minimum distance of 25mm to neighbouring objects, such as furniture, building parts, etc. When adjusting the desk height, the user must ensure that no one is injured and no objects are damaged. The desktop must not come into contact with firmly fixed objects, otherwise the desk may tip over.
- Before adjusting the desk, move the office chairs, containers, etc. out of reach. Due to the built-in collision protection, fixed objects are usually detected, but there is still a risk of crushing people! The collision protection is a system protection and NOT a form of personal protection!
Danger
- Use is only permitted in dry indoor areas. Protect the desk frame and especially all electrical components on the desk from moisture, dripping and splashing water!
- Children must not play with the product! Cleaning and user maintenance must not be carried out by children without supervision.
- Be sure to use the supplied power supply cable! Make sure that the power supply cable is not damaged.
- Operating the table with a damaged power supply cable is prohibited! It must be replaced to prevent hazards from electric shocks.
- If the sit-stand desk is visibly damaged or makes unusual noises, it must not be further assembled or used!
- This product is not intended for use by young children or debilitated persons without supervision.
- The desk may be used by children of 8 years of age and older and physically or mentally disabled persons, provided they are supervised or have received thorough instruction in the use of the equipment and understand its safe use and potential hazards.
- Never open the motor control unit or other electrical components! There is a risk of electric shock.
- All warranty claims are void if the product is opened by unauthorized persons.
Maintenance
- Periodically remove dust and dirt from the outside of the system and make sure there is no damage.
- Ensure there is enough cable length so that it is sufficient for raising the desk.
- Lay the cable so that it does not create a tripping hazard, even when the desk is raised.
- Check the connections, cables and plugs for correct operation as well as the attachment points.
- If any components are damaged, the desk must no longer be used and the damaged component must be replaced!
Before installation, disassembly or troubleshooting
- Turn off the power and unplug the power cord.
- Relieve the desk of any weight.
Before commissioning
- Ensure that the system has been installed according to the instructions in this installation manual.
- Make sure that the voltage at the control unit is correct before connecting the system to the mains.
Troubleshooting
The most common error codes (EXX) and their cause:
E53-E64: COLLISION
- The desk has collided with an obstacle and the collision protection has been triggered.
- Eliminate the cause of the collision!
E41-E52: OVERLOAD
- Maximum lifting capacity has been exceeded. →Reduce the weight.
E01: INITIALIZATION
- To initialize the desk, move it down completely. To do this, press the “Display Desk Panel“ down and hold it down until the movement is completed.
These assembly instructions were written on the basis of our current technical knowledge. We are constantly working on updating the information and therefore reserve the right to make technical changes.
Recommended values for height adjustment


Fittings
Tools



Desktops Bottom view

- If the fittings are defective, please code no. indicate.
Installation Instructions
Warning: The desk is laid flat in the box for assembly.









Warning








Disassembly

Display Desk Panel
Use of „Display Desk Panel“

Preparation
- Remove the sticker on the „Display Desk Panel“. For more information, you can scan the QR code or use this link: https://www.paidi.de/e-lion
Unlocking


- Press buttons
,
and
in succession (max. one second between each press of the button).- During the unlocking process, make sure that you do not press the toggle switch up or down.
Change unit of measurement
The unit of measurement shown in the display can be set to cm, mm or inches.

- Press buttons
and
on the “Display Desk Panel“ simultaneously for five seconds and the current unit of measurement will flash on the display. - When, for example, „CM“ flashes in the display, press the „Display Desk Panel“ once to change the unit of measurement to mm or inches. “MM“ or „INCH“ now flashes in the display.
- Press any button to confirm the unit of measurement or wait 10 seconds for automatic confirmation.
Table height limit

- If the desk cannot use its entire range of motion, it is possible to set an upper or lower limit.
- Important: For a reset / initialization, the desk must be able to move freely up and down!
Upper limit
- Set the desk to the desired maximum permissible height.
- Press
and the „Display Desk Panel“ simultaneously upwards for 8 seconds until the light flashes. - Release
and the „Display Desk Panel“.
Lower limit
- Set the desk to the desired minimum permissible height.
- Press
and the „Display Desk Panel“ simultaneously downwards for 8 seconds until the light flashes. - Release
and the “Display Desk Panel“.
Adjusting the displayed height of the desk
If the height shown on the display is not correct, it can be adjusted.

- Press buttons
and
on the „Display Desk Panel“ simultaneously for five seconds and the height indicator on the display will start flashing. - Press the„Display Desk Panel“ to change the displayed height without moving the desk. Press up to increase the displayed height and press down to decrease the displayed height.
- Press any button to confirm the height or wait 10 seconds for automatic confirmation.
Favourite position
You can store up to 4 favourite positions.

- Set the desk to the desired position.
- Press button
briefly to jump through positions 1 to 4. - Press button
for two seconds to save the position.- During the saving process the display flashes white, when the process is finished it lights up statically white.
Moving to a favourite position
- Press and hold the „Display Desk Panel“ until you reach a favourite position.
- Here the desk stops automatically and shows the position on the display.
- If you want to move on, keep the „Display Desk Panel“ pressed and the desk will move on after a short time.
Changing / deleting favourite positions
- If you want to adjust a position, repeat procedure 1-3 at the desired position.
- If you want to delete all positions, press
key for 8 seconds, whereupon a countdown appears on the display which is confirmed by a red light.
Reminder
The „Display Desk Panel“ has a reminder function which indicates when and for how long you should stand up via a light strip. By pressing key
, you can choose between three intervals.

- Interval 1 (one white block): ‚Reminder after 55 minutes of sitting (5 min. standing)
- Interval 2 (two white blocks): ‚Reminder after 50 minutes of sitting (10 min. standing)
- Interval 3 (three white blocks): ‚Reminder after 45 minutes sitting (15 min. standing)
If the light strip is green, you can remain seated. If the light is orange, you should set the desk to the ‚standing position‘ for the duration of the interval you have chosen.
Reset to factory settings
Press and hold buttons
and
for 8 seconds to reset the „Display Desk Panel“ to the factory settings. During the reset, the display lights up after five seconds and shows an arrow with a countdown and RESET.

HI 9730058




















