CENTEK CT-1700 Fridge Instruction Manual
Dear Customer,
Thank You for purchasing a CENTEK brand product.
We guarantee flawless function of this item, provided the guidelines of its operation are observed.
Prior to operating the appliance, please carefully read the present manual which contains important information regarding its proper and safe operation.
Take care not to lose the present manual. The manufacturer will not be responsible for any damage resulting from improper use of the appliance or from non-observance of the instructions and provisions of the present manual, as well as from attempts by unskilled persons at repairing the appliance.
Should You decide to transfer the appliance to another person, please pass the present manual over along with it.
The refrigerator is a household appliance and is not intended for industrial use!
Attention!
Failure to comply with these safety measures may lead to accidents.
WARNING!
- Use only a 220-240 V, 50 Hz power supply.
- When connecting, try not to use adapters and extension cords.
- Do not store flammable materials (gasoline, glue, ether, etc.) in the refrigerator.
- Do not pour water on the refrigerator, as this may be dangerous for you, and may also cause the refrigerator to break down.
- If you notice unusual noise, smell or smoke during operation of the device, or other unusual signs of the device, it is necessary to turn off the power and contact the service representatives.
- Avoid damaging the power cable:
- Do not replace the power cable.
- Do not place heavy objects on the power cable.
- Keep the power cable away from heat sources.
- When disconnecting the refrigerator from the mains, pull the plug, not the power cord.
- The refrigerator is designed for indoor use.Don’t use it outdoors in no case.
- The refrigerator should be used at home to store food in accordance with these instructions.
- Do not allow children to use the appliance unattended.
- The refrigerator is a large-sized household appliance, it will take at least two people to transport it.
- Do not touch the refrigerator with wet hands.
- Do not use extension cords, tees and adapters to avoid fire or damage to the device. The manufacturer is not responsible for fires that occurred due to the use of adapters and extension cords, as well as a connecting cable whose cross section does not correspond to the power consumption.
- When installing the refrigerator, it is necessary to check the compliance of the network characteristics and electrical parameters indicated on a special plate on the back of the refrigerator.
- Do not remove the plug from the outlet by the wire: this is very dangerous.
- Do not move the appliance close to the mains plug.
- If the power cord is damaged, it should be replaced with a special cord or kit provided by an authorized service center. Cable replacement should only be carried out by qualified personnel. Connect the device to an electrical outlett that has a serviceable protection device (circuit breakers,fuses,ect.).
- Do not touch the internal cooling surfaces of the refrigerator.
- Disconnect the refrigerator from the mains before performing any cleaning or maintenance operations. Setting the thermostat knob to the «ВЫКЛ»(OFF) not enough to ensure electrical safety.
- It is prohibited to change the design of the refrigerator and the intervention of persons not authorized by the manufacturer for warranty repairs.
- Do not use electrical appliances inside the food storage compartment unless recommended by the manufacturer.
- Do not store flammable gases or liquids inside the refrigerator.
- Do not store glass bottles and cans of liquid in the freezer.
OPERATING RECOMMENDATIONS
- Do not connect too many appliances to the same power supply circuit, as this may cause a fire.
- If you do not plan to use the refrigerator for a long time, disconnect its power plug from the outlet.
- Do not touch the inner walls of the low-temperature compartment or the products lying in it with wet hands.
- Do not put bottles or other glass vessels in the low-temperature compartment.
WARNING
- Cooling in the refrigerator is provided by a refrigerant that is filled into the refrigerator using special equipment. Do not damage the refrigerant circulation tubes on the back of the refrigerator.
- This product contains a small amount of refrigerant, which is isobutane, a natural gas that does not harm the environment, but is flammable. When transporting and installing the refrigerator, care must be taken not to damage any parts of the refrigerant circuit.
- Coming out of the tubes, the refrigerant can ignite or harm your health. If damage to the refrigerant circuit does occur, avoid any kind of open fire or potential sources of ignition, and ventilate the room where the refrigerator is located for a few minutes.
- In order to avoid the formation of a flammable mixture of gas and air in the event of a refrigerant leak, the dimensions of the room where the refrigerator is located must correspond to the amount of refrigerant used in the refrigerator.
- The volume of the room should be 1 m3 for every 8 g of refrigerant R600a in the refrigerator. The amount of refrigerant contained in your particular refrigerator is indicated on
- the nameplate on the back of the refrigerator.
- Never turn on the refrigerator with signs of damage. If you have any doubts about the serviceability of the product, contact customer service.
PACKAGE CONTENTS
СТ-1700
- Refrigerator – 1 pc.
- User manual – 1 pc.
- Water collection tray – 1 pc.
- Lattice shelf – 1 pc.
- Plug – 3 pcs.
СТ-1702
- Refrigerator – 1 pc.
- User manual – 1 pc.
- Water collection tray – 1 pc.
- Lattice shelf – 2 pcs.
- Ice cube tray – 1 pc.
- Egg tray – 1 pc
СТ-1703
- Refrigerator – 1 pc.
- User manual – 1 pc.
- Water collection tray – 1 pc.
- Lattice shelf – 2 pcs.
- Glass shelf – 1 pc.
- Container for vegetables – 1 pc.
- Ice cube tray – 1 pc.
- Egg tray – 1 pc.
- Freezer compartment
- Latch
- Metal grating shelf
- Adjustable legs
- Temperature controller
- Door shelf
- The door
- Bottle shelf

- Freezer compartment
- Metal grating shelves
- Adjustable legs
- Temperature controller
- Door shelf
- The door
- Bottle shelf

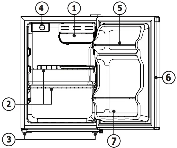
- Freezer compartment
- Main shelves
- Vegetable container
- Mounting points of the adjustable support (depending on the position of the mounted door)
- Temperature controller
- Door shelves
- The door
- Bottle shelf

REFRIGERATOR TRANSPORTATION
When transporting or carrying the device, hold it by the bottom and carry it in an upright position. Do not tilt the refrigerator more than 450 degrees.
Never turn it upside down. Do not place the appliance on the sides or back. Do not transport the device if it is lying on its side, on the back or on the front sides. Do not use the door as a carrying aid. This can disable the device. The two rear legs of the refrigerator are equipped with rollers. To move around the kitchen and accurately install the appliance in place, tilt the refrigerator slightly in the direction of the back wall and move it. The two front legs of the refrigerator can be adjusted in height. In order to align the device precisely, twist the front legs to the left or right so that the device is securely on the floor.
After transporting and installing the refrigerator, wait about three hours before connecting it to the mains to be sure that the refrigerant has been properly distributed after transportation – this is necessary for the refrigerator to work properly.
INSTALLING THE REFRIGERATOR
Proper installation is necessary to ensure reliable and efficient operation of the refrigerator. It is necessary to lift the refrigerator by holding it by the bottom. Do not pull on the door or handle.
The manufacturer’s warranty does not cover damage to the door as a result of its rearrangement. Repairs caused by such circumstances will be carried out at the expense of the owner.
OVERHANGING DOORS

Attention
For rearranging the door, it is recommended to contact a qualified specialist. If you decide to reinstall the refrigerator door yourself, use the recommendations listed below in this manual.
Necessary tools: phillips screwdriver, flat screwdriver, hex wrench.
- Disconnect the refrigerator from the power supply.
- Remove all products from the refrigerator compartment.
- Unscrew the plastic cover located on top of the refrigerator.
- Unscrew the upper and lower hinges of the refrigerator, then carefully remove the door.
- Screw the lower loop to the opposite side, install the refrigerator door and secure the upper loop with screws.
- Screw the plastic cover onto the upper hinge of the refrigerator.
- Make sure that the door is installed correctly and the seals are closed on all sides.
- Adjust the height of the legs to ensure a stable position of the refrigerator.
VENTILATION
The compressor and condenser of the refrigerator heat up during operation, so it is necessary to provide sufficient ventilation to the device.
- The refrigerator should be installed in a well-ventilated room with normal humidity. It is forbidden to install a refrigerator in rooms with high humidity, for example, in bathrooms, basements.
- When installing, ensure minimum gaps (3-5 cm) on the sides of the device and 10 cm on top for free air circulation. Do not block the air movement at the back of the appliance.
- Do not place near heat sources.
- Do not place the refrigerator in direct sunlight or near heat sources (kitchen stoves, ovens, fireplaces).
ALIGNMENT
For the efficient operation of the refrigerator, it is important that it is on a flat surface. After installing the refrigerator in place, adjust its position by rotating the adjustment supports in its front part. The tilt of the refrigerator back should not exceed 5°.
CONNECTION TO THE POWER SUPPLY
The refrigerator corresponds to the 1st class of protection against electric shock and is connected to the electrical supply using a two pole outlet with a grounding contact.
- Before connecting to the mains, make sure that:
- The mains voltage corresponds to the data indicated on the special plate on the back of the refrigerator;
- The grounding contact of the electrical outlet is connected to the grounding wire of the power supply cable of the electrical network (the connecting wire must be designed for a current of at least 10 A);
- The socket and plug are of the same type; if the plug does not fit into the outlet, the outlet should be replaced with the corresponding plug of the power cord (the work must be performed by a qualified electrician).
The refrigerator must be installed in such a way that you always have access to an outlet. A refrigerator connected in violation of the safety requirements of high-power household appliances described in this manual is potentially dangerous.
The manufacturer is not responsible for damage to health and property if it is caused by non-compliance with the specified installation standards.
REFRIGERATOR OPERATION
BEFORE SWITCHING ON
It is necessary to connect the refrigerator to the mains three hours after its installation. Thus, the refrigerant will be distributed properly after transportation – this is necessary for the proper operation of the refrigerator.
A few hours after connecting the refrigerator to the mains, You can put products in it.
Remove the transport spacers between the compressor and the back wall of the niche, as well as other spacers and adhesive tapes that keep the moving parts of the device from shifting.
If the device has a protective coating of polymer film, carefully remove it, taking precautions not to damage the paint or polymer coating of the parts.
USING THE COLD STORAGE
The temperature inside the refrigerator compartment is set by turning the thermostat knob. It is recommended to install the thermostat in the middle position. The cold air in the refrigerator compartment circulates in such a way that a lower temperature is set in the lower part of the compartment. To properly place food in the compartments to ensure the best storage conditions, follow the storage instructions: if stored incorrectly, even the freshest food will quickly deteriorate.
The refrigerator compartment is equipped with convenient shelves, the height of which can be adjusted using special guides. This allows you to place large packages and tall bottles on the shelves. Do not put liquids in containers without a lid in the refrigerator, in order to avoid an increase in humidity, because this leads to an increase in temperature in the refrigerator.
USING THE FREEZER
In order to ensure the best storage conditions for products, follow the recommendations below. Products intended for freezing and storage in the freezer should be carefully packed to avoid the formation of excessive frost.
- Preferably, the products placed inside the freezer should not come into contact with the back and side walls.
- For proper storage and ease of subsequent defrosting, place the products in small portions.
- Do not place full glass containers with freezing liquids in the freezer for a long time, especially if
- They contain tightly sealed effervescent or carbonated drinks. The liquid, crystallizing, can destroy the container.
- Do not put liquids in containers without a lid in the freezer, in order to avoid an increase in humidity, because this leads to an increase in temperature.
MAINTENANCE AND CARE
To defrost the refrigerator, put the thermostat knob in the «0» and disconnect the refrigerator from the power supply. At the time of defrosting, wrap the frozen products in several layers and place them, if possible, in a cold place. Wash and dry the refrigerator compartment thoroughly before turning it on again.
If a layer of frost with a thickness of more than 5 mm has formed in the freezer during operation, it should be prepared for defrosting. To do this, remove the products from it and place them on the shelves of the refrigerator. Next, leave the freezer door open and install any container for collecting melt water, then wash the freezer and wipe dry.
Always store strong-smelling products in tightly closed containers to avoid the formation of odors that will be difficult to remove later.
Wash the inside and outside surfaces of the refrigerator with a sponge or a soft cloth. Use neutral detergents. Never use powder abrasive detergents, alkaline compounds, organic acids and hot water, this can damage the paintwork. Do not use sharp or metal objects, it may damage the refrigerator.
All removable parts can be washed with a solution of soap or detergent in water. They can also be washed in the dishwasher. Remember that all removable parts must be thoroughly dried before putting them back in the refrigerator.
Dust can accumulate on the refrigerator condenser and interfere with its normal operation.
Carefully vacuum the back of the refrigerator using suitable nozzles.
If you are not going to use the refrigerator for a long time, disconnect it from the power supply, wash it inside, dry it and leave the doors ajar to avoid the formation of unpleasant odors and mold.
RECOMMENDATIONS FOR SAVING ELECTRICITY
Install the refrigerator correctly
At a sufficient distance from heat sources,in a well-ventillated room, in accordance with the recommendations of the REFRIGERATOR INSTALLATION point.
Set the temperature correctly
Set the thermostat to the middle position. Setting an excessively low temperature will only affect the increase in electricity consumption, but will not improve the safety of products.
Do not overfill the refrigerator
Sufficient air circulation is important for the safety of products. Overfilling with food interferes with free air circulation, proper operation of the refrigerator and causes additional electricity consumption.
Keep the door closed
Open the doors only if necessary, remember that each opening of the door slightly increases the temperature inside the refrigerator and electricity is consumed to restore the previous temperature. Make sure that the sealing rubber on the refrigerator doors remains clean and fits snugly to the case when closed, this will avoid leakage of cold air.
Do not place hot food
Hot foods placed in the refrigerator immediately raise the temperature by several degrees. Let the food and dishes cool to room temperature, then put them in the refrigerator.
TROUBLESHOOTING
In case of unsatisfactory operation of the refrigerator or malfunction, study this section before contacting an authorized service center. In some cases, you can fix the problems yourself.
THE REFRIGERATOR IS NOT WORKING
Check that:
- The electricity is not turned off in the house;
- The plug is securely inserted into the socket;
- The socket is working properly.
THE TEMPERATURE IN THE REFRIGERATOR IS TOO HIGH
Check, that:
- The door is closed tightly, the seal is not damaged;
- The thermostat knob is in the correct position;
- The shelves are not overfulliing with products;
- The door was not opened often.
THE COMPRESSOR IS CONSTANTLY RUNNING
Check, that:
- The refrigerator door closes tightly and does not open too often;
- The room temperature is not too high;
- The thermostat knob is in the correct position.
THE REFRIGERATOR IS TOO NOISY WHEN WORKING
Check that:
The refrigerator is not aligned;
The refrigerator touches foreign objects (for example, surrounding furniture).
The refrigerant circulating inside the cooling system can cause the sound of overflowing liquid, even if the compressor is not working. This is not a malfunction and does not affect the efficient operation of the refrigerator.
The characteristic sounds of switching on the thermostat and compressor are normal sounds that occur during the operation of the electrical equipment of the device.
If the refrigerator does not work properly after checking, contact an authorized service center.
Attention!
This refrigerator contains a small amount of refrigerant R600a, which is practically safe for the environment, but at the same time is a combustible gas.
In case of leakage, the refrigerant may cause eye irritation or ignite.
SPECIFICAIONS
| Model | Cľ-1700 | Cľ-1702 | Cľ-1703 | |
| Сlimate class | N/SĪ | Ī/SĪ/N | N/SĪ/Ī | |
| Volume: Ïull/refrigerator | 45 l/ 43 l | 67 l/66 l | 94 l/93 l | |
| Power supply voltage | 220-240 V ~50 Hz | 220-240 V ~50 Hz | 220-240 V ~50 Hz | |
| Maximum power | 64 W | 70 W | 65 W | |
| Current | 0.5 А | 0.45 А | 0.5 А | |
| Noise level | 42 dB | 41 dB | 40 dB | |
| Electricity consumption | 0.29 kW/ 24h | 0.3 kW/ 24h | 0.3 kW/ 24h | |
| Internal illumination lamp | – | – | 15 W | |
| Energy consumption class | А+ | А+ | А+ | |
| Refrigerant | R600a (16 g) | R600a (16 g) | R600a (20 g) | |
| Net weight | 14.8 kg | 15.9 kg | 18.5 kg | |
| Dimensions (mm) | width | 472 | 445 | 472 |
| depth | 450 | 510 | 450 | |
| height | 492 | 630 | 850 | |
DISPOSAL
Upon expiry of its service life the appliance can be disposed of separately from ordinary domestic waste. You can turn it over to a specialized electric and electronic appliance disposal and recycling centre.
CERTIFICATION DATA, GUARANTEE
The service life of this item is 10 years since the date of sale to the end user, provided the item will be used in strict accordance with the present manual and the applicable technical standards. Upon expiry of the service life please contact the nearest authorized service centre for suggestions as to further operation of the appliance. The manufacturing date of the appliance is integrated into the serial number (digits 2 and 3 – year, digits 4 and 5 – month of manufacture). Guarantee and post guarantee maintenance is provided by the General Service Center OOO «LarinaServis» (Russia, Krasnodar), phone: +7 (861) 991-05-42. The address of the facility authorized with receiving buyer claims, maintenance and repairs is shown on the website https://centek.ru/servis, otherwise refer to the store or other legal entity, where you have purchased this appliances.
The product is provided with the Certificate of Conformity:
№ ЕАЭС RU C-SG.BE02.B.02174/20 from 08.04.2020 y.
![]()
MANUFACTURER AND IMPORTER INFORMATION
Imported to EAEU by: OOO «Larina-Elektroniks». Address: Russia, 350912, Krasnodar, ul. Atamana Lysenko, 23, pgt. Pashkovskiy. Phone: +7 (861) 2-600-900.
DEAR VALUED CONSUMER!
The warranty period is 36 months for the device and 60 months for the compressor from the date of sale to the end user. With this Warranty Card the Manufacturer confirms the proper condition of the appliance and undertakes to repair, free of charge, all defects caused by the Manufacturer’s default.
GUARANTEE MAINTENANCE TERMS
- The guarantee shall be valid if the following documentation conditions are observed:
- The original Warranty Card shall be filled out correctly and clearly, indicating the of appliance model, serial number and sale date, the stamp of the seller company and signature of its representative shall be available, as well as the stamps on each coupon and the buyer’s signature in the Warranty Card.
The Manufacturer reserves the right to reject guarantee maintenance if the buyer fails to provide the abovementioned documents or if the information contained therein is incomplete, illegible or ambiguous.
- The original Warranty Card shall be filled out correctly and clearly, indicating the of appliance model, serial number and sale date, the stamp of the seller company and signature of its representative shall be available, as well as the stamps on each coupon and the buyer’s signature in the Warranty Card.
- The guarantee shall be valid if the following operation conditions are observed:
- the appliance is used in strict accordance with the present manual;
- the safety rules and requirements are observed.
- The guarantee does not apply to regular maintenance, cleaning, installation and setup of the appliance at the owner’s location.
- The guarantee does not apply in the following cases:
- mechanical damage;
- normal wear of the appliance;
- non-observance of operation requirements or erroneous actions on the part of the user;
- improper installation or transportation;
- natural disasters (lightning, fire, flood, etc.), as well as any other causes beyond the Manufacturer’s or Seller’s control;
- ingress of foreign objects, liquids or insects into the inside of the appliance;
- repairs or modifications to the appliance by unauthorized persons;
- use of the appliance for commercial purposes (loads exceeding normal domestic application), connection of the appliance to utility and telecommunication networks incompliant with national technical standards;
- failure of the following accessories, if replacement of these is allowed by design and does not involve disassembly of the appliance:
a) remote control units, rechargeable batteries, replaceable batteries (power cells), external power supply units and chargers;
b) consumables and accessories (packaging, covers, slings, carry bags, mesh screens, blades, flasks, plates, supports, grilles, spits, hoses, tubes, brushes, nozzles, dust collectors, filters, smell absorbers); - for battery-powered appliances – operation with inappropriate or depleted batteries;
- for rechargeable battery-powered appliances – any damage caused by improper battery charging and recharging.
- The present guarantee is provided by the Manufacturer in addition to the consumer rights determined by the applicable legislation and does not limit these rights in any way.
- The Manufacturer shall not be made liable for possible damage, directly or indirectly inflicted by CENTEK brand products on people, domestic animals, the consumer’s or third persons’ property if such damage is inflicted as the result of non-observance of appliance installation and operation requirements, deliberate or negligent actions (omission) by the consumer or third persons, as well as of force majeure circumstances.
- Service centers will only accept appliances in a clean state (there should be no food residues, dust and other contamination on the appliance).
The Manufacturer reserves the right to change the design and specifications of the appliance without prior notice.


















