
CKP806X1 Oven
User Manual
CKP806X1
OOP805NZ1
CKP806X1 Oven
WE’RE THINKING OF YOU
Thank you for purchasing an Electrolux appliance. You’ve chosen a product that brings with it decades of professional experience and innovation. Ingenious and stylish, it has been designed with you in mind. So whenever you use it, you can be safe in the knowledge that you’ll get great results every time.
Welcome to Electrolux.
Visit our website to: +
Get usage advice, brochures, trouble shooter, service and repair information:
www.electrolux.com/support
Register your product for better service:
www.registerelectrolux.com
Buy Accessories, Consumables and Original spare parts for your appliance:
www.electrolux.com/shop
For more recipes, hints, troubleshooting download My Electrolux Kitchen app.
CUSTOMER CARE AND SERVICE
Always use original spare parts.
When contacting our Authorised Service Centre, ensure that you have the following data available: Model, PNC, Serial Number.
The information can be found on the rating plate.
Warning / Caution-Safety information
General information and tips
Environmental information
Subject to change without notice.
SAFETY INFORMATION
Before the installation and use of the appliance, carefully read the supplied instructions. The manufacturer is not responsible for any injuries or damage that are the result of incorrect installation or usage. Always keep the instructions in a safe and accessible location for future reference.
1.1 Children and vulnerable people safety
- This appliance can be used by children aged from 8 years and above and persons with reduced physical, sensory or mental capabilities or lack of experience and nowledge if they have been given supervision or instruction concerning the use of the appliance in a safe way and understand the hazards involved. Children of less than 8 years of age and persons with very extensive and complex disabilities shall be kept away from the appliance unless continuously supervised.
- Children should be supervised to ensure that they do not play with the appliance.
- Keep all packaging away from children and dispose of it appropriately.
- WARNING: The appliance and its accessible parts become hot during use. Keep children and pets away from the appliance when in use and when cooling down.
- If the appliance has a child safety device, it should be activated.
- Children shall not carry out cleaning and user maintenance of the appliance without supervision.
1.2 General Safety
- This appliance is for cooking purposes only.
- This appliance is designed for single household domestic use in an indoor environment.
- This appliance may be used in, offices, hotel guest rooms, bed & breakfast guest rooms, farm guest houses and other similar accommodation where such use does not exceed (average) domestic usage levels.
- Only a qualified person must install this appliance and replace the cable.
- Do not use the appliance before installing it in the built-in structure.
- Disconnect the appliance from the power supply before carrying out any maintenance.
- If the mains power supply cable is damaged, it must be replaced by the manufacturer, its Authorised Service Centre or similarly qualified persons to avoid an electrical hazard.
- WARNING: Ensure that the appliance is switched off before replacing the lamp to avoid the possibility of electric shock.
- WARNING: The appliance and its accessible parts become hot during use. Care should be taken to avoid touching heating elements or the surface of the oven cavity.
- Always use oven gloves to remove or insert accessories or ovenware.
- To remove the shelf supports first pull the front of the shelf support and then the rear end away from the side walls. Install the shelf supports in the opposite sequence.
- Do not use a steam cleaner to clean the appliance.
- Do not use harsh abrasive cleaners or sharp metal scrapers to clean the glass door since they can scratch the surface, which may result in shattering of the glass.
- Before pyrolytic cleaning, remove all accessories and excessive deposits/spills from the oven cavity.
SAFETY INSTRUCTIONS
2.1 Installation
WARNING!
Only a qualified person must install this appliance.
- Remove all the packaging.
- Do not install or use a damaged appliance.
- Follow the installation instructions supplied with the appliance.
- Always take care when moving the appliance as it is heavy. Always use safety gloves and enclosed footwear.
- Do not pull the appliance by the handle.
- Install the appliance in a safe and suitable place that meets installation requirements.
- Keep the minimum distance from other appliances and units.
- Before mounting the appliance, check if the oven door opens without restraint.
- The appliance is equipped with an electric cooling system. It must be operated with the electric power supply.
| Cabinet minimum height (Cabinet under the work‐ top minimum height) | 590 (600) mm |
| Cabinet width | 560 mm |
| Cabinet depth | 550 (550) mm |
| Height of the front of the appliance | 594 mm |
| Height of the back of the appliance | 576 mm |
| Width of the front of the appliance | 595 mm |
| Width of the back of the appliance | 559 mm |
| Depth of the appliance | 569 mm |
| Built in depth of the appliance | 548 mm |
| Depth with open door | 1022 mm |
| Ventilation opening minimum size. Opening placed on the bottom rear side | 560×20 mm |
| Mains supply cable length. Cable is placed in the right corner of the back side | 1500 mm |
| Mounting screws | 4×25 mm |
2.2 Electrical connection
WARNING!
Risk of fire and electric shock.
- All electrical connections should be made by a qualified electrician.
- The appliance must be earthed.
- Make sure that the parameters on the rating plate are compatible with the electrical ratings of the mains power supply.
- Always use a correctly installed shockproof socket.
- Do not use multi-plug adapters and extension cables.
- Make sure not to cause damage to the mains plug and to the mains cable. Should the mains cable need to be replaced, this must be carried out by our Authorised Service Centre.
- Do not let mains cables touch or come near the appliance door or the niche below the appliance, especially when it operates or the door is hot.
- The shock protection of live and insulated parts must be fastened in such a way that it cannot be removed without tools.
- Connect the mains plug to the mains socket only at the end of the installation. Make sure that there is access to the mains plug after the installation.
- If the mains socket is loose, do not connect the mains plug.
- Do not pull the mains cable to disconnect the appliance. Always pull the mains plug.
- Use only correct isolation devices: line protecting cut-outs, fuses (screw type fuses removed from the holder), earth leakage trips and contactors.
- The electrical installation must have an isolation device which lets you disconnect the appliance from the mains at all poles. The isolation device must have a contact opening width of minimum 3 mm.
- Fully close the appliance door before you connect the mains plug to the mains socket.
- This appliance is supplied with a main plug and a main cable.
| Cable types applicable for installation or replacement for Europe: |
| H07 RN-F, H05 RN-F, H05 RRF, H05 VV-F, H05 V2V2-F (T90), H05 BB-F |
For the section of the cable refer to the total power on the rating plate. You can also refer to the table:
| Total power (W) | Section of the cable (mm²) |
| maximum 1380 | 3 x 0.75 |
| maximum 2300 | 3 x 1 |
| maximum 3680 | 3 x 1.5 |
The earth cord (green / yellow cable) must be 2 cm longer than phase and neutral cables (blue and brown cables).
2.3 Use
WARNING!
Risk of injury, burns and electric shock or explosion.
- Do not change the specification of this appliance.
- Make sure that the ventilation openings are not blocked.
- Do not let the appliance stay unattended during operation.
- Deactivate the appliance after each use.
- Be careful when you open the appliance door while the appliance is in operation. Hot air can release.
- Do not operate the appliance with wet hands or when it has contact with water.
- Do not apply pressure on the open door.
- Do not use the appliance as a work surface or as a storage surface.
- Open the appliance door carefully. The use of ingredients with alcohol can cause a mixture of alcohol and air.
- Do not let sparks or open flames to come in contact with the appliance when you open the door.
- Do not put flammable products or items that are wet with flammable products in, near or on the appliance.
WARNING!
Risk of damage to the appliance.
- To prevent damage or discoloration to the enamel:
– do not put ovenware or other objects in the appliance directly on the bottom.
– do not put aluminium foil directly on the bottom of cavity of the appliance.
– do not put water directly into the hot appliance.
– do not keep moist dishes and food in the appliance after you finish the cooking.
– be careful when you remove or install the accessories. - Discoloration of the enamel or stainless steel has no effect on the performance of the appliance.
- Use a deep pan for moist cakes. Fruit juices cause stains that can be permanent.
- Always cook with the appliance door closed.
- If the appliance is installed behind a furniture panel (e.g. a door) make sure the door is never closed when the appliance operates. Heat and moisture can build up behind a closed furniture panel and cause subsequent damage to the appliance, the housing unit or the floor.
Do not close the furniture panel until the appliance has cooled down completely after use.
2.4 Care and cleaning
WARNING!
Risk of injury, fire, or damage to the appliance.
- Before maintenance, deactivate the appliance and disconnect the mains plug from the mains socket.
- Make sure the appliance is cold. There is the risk that the glass panels can break.
- Replace immediately the door glass panels when they are damaged. Contact the Authorised Service Centre.
- Be careful when you remove the door from the appliance. The door is heavy!
- Clean regularly the appliance to prevent the deterioration of the surface material.
- Clean the appliance with a moist soft cloth. Use only neutral detergents. Do not use abrasive products, abrasive cleaning pads, solvents or metal objects.
- If you use an oven spray, follow the safety instructions on its packaging.
2.5 Pyrolytic cleaning
WARNING!
Risk of Injury / Fires / Chemical Emissions (Fumes) in Pyrolytic Mode.
- Before carrying out a Pyrolitic self-cleaning function or the First Use please remove from the oven cavity:
– any excess food residues, oil or grease spills / deposits.
– any removable objects (including shelves, side rails etc., provided with the product) particularly any non-stick pots, pans, trays, utensils etc. - Read carefully all the instructions for Pyrolytic cleaning.
- Keep children away from the appliance while the Pyrolytic cleaning operates.
The appliance becomes very hot and hot air is released from the front cooling vents. - Pyrolytic cleaning is a high temperature operation that can release fumes from cooking residues and construction materials, as such consumers are strongly advised to:
– provide good ventilation during and after each Pyrolytic cleaning.
– provide good ventilation during and after the first use at maximum temperature operation. - Unlike all humans, some birds and reptiles can be extremely sensitive to potential fumes emitted during the cleaning process of all Pyrolytic Ovens.
– Remove any pets (especially birds) from the vicinity of the appliance location during and after the Pyrolytic cleaning and first use maximum temperature operation to a well ventilated area. - Small pets can also be highly sensitive to the localized temperature changes in the vicinity of all Pyrolytic Ovens when the Pyrolytic self cleaning program is in operation.
- Non-stick surfaces on pots, pans, trays, utensils etc., can be damaged by the high temperature Pyrolytic cleaning operation of all Pyrolytic Ovens and can be also a source for low level harmful fumes.
- Fumes released from all Pyrolytic Ovens / Cooking Residues as described are not harmful to humans, including children, or persons with medical conditions.
2.6 Internal lighting
WARNING!
Risk of electric shock.
- Concerning the lamp(s) inside this product and spare part lamps sold separately: These lamps are intended to withstand extreme physical conditions in household ppliances, such as temperature, vibration, humidity, or are intended to signal information about the operational status of the appliance. They are not intended to be used in other applications and are not suitable for household room illumination.
- This product contains a light source of energy efficiency class G.
- Use only lamps with the same specifications.
2.7 Service
- To repair the appliance contact the Authorised Service Centre.
- Use original spare parts only.
2.8 Disposal
WARNING!
Risk of injury or suffocation.
- Contact your municipal authority for information on how to dispose of the appliance.
- Disconnect the appliance from the mains supply.
- Cut off the mains electrical cable close to the appliance and dispose of it.
- Remove the door catch to prevent children or pets from becoming trapped in the appliance.
INSTALLATION
WARNING!
Refer to Safety chapters.
3.1 Building in
![]()
www.youtube.com/electrolux
www.youtube.com/aeg
How to install your AEG/Electrolux Oven – Column installation ![]()

3.2 Securing the oven to the cabinet

PRODUCT DESCRIPTION
4.1 General overview

| 1 Control panel 2 Knob for the heating functions 3 Display 4 Control knob | 5 Heating element 6 Lamp 7 Fan 8 Shelf support, removable 9 Shelf positions |
4.2 Accessories
- Wire shelf
For cookware, cake tins, roasts. - Baking tray
For cakes and biscuits. - Grill- / Roasting pan
To bake and roast or as pan to collect fat. - Patisserie tray
For rolls, pretzels and small pastries.
HOW TO TURN OVEN ON AND OFF
5.1 Retractable knobs
To use the appliance press the knob. The knob comes out.
5.2 Control panel
| Control panel sensor fields | Press | Turn the knob | ||||
|
|
| OK | |||
| Timer | Fast Heat Up | Light | Lock | Confirm setting | ||
| Select a heating function to turn on the oven. | ||||||
| Turn the knob for the heating functions to the off position to turn the oven off. | ||||||
![]() | When the knob for the heating functions is in the off position, the display goes to standby. |
![]() | When you cook, the display shows the set tem‐ perature, time of day and other available op‐ tions. |
![]() | Display with key functions. |
| Display indicators | ||||
|
|
|
|
|
| Timer indi‐ cators: |
|
| ||
| Progress bar – for temperature or time. The bar is fully red when the oven reaches the set tempera‐ ture. |
BEFORE FIRST USE
WARNING!
Refer to Safety chapters.
6.1 Initial cleaning
| Before first use clean the empty oven and set the time: | |||
| |||
6.2 Initial preheating
| Preheat the empty oven before the first use. | |
| Step 1 | Remove all accessories and removable shelf supports from the oven. |
| Step 2 | Set the maximum temperature for the function: |
| Step 3 | Set the maximum temperature for the function: |
DAILY USE
WARNING!
Refer to Safety chapters.
7.1 How to set: Heating functions
| Start cooking | |
| Step 1 | Step 2 |
| Start cooking | |
| Select a heating function. | Set the temperature. Press OK . |
7.2 Heating functions
Standard heating functions
| Heating function | Application |
| To bake on up to three shelf positions at the same time and to dry food. Set the temperature 20 – 40 °C lower than for Conventional Cooking. |
| To bake and roast food on one shelf position. |
| To make convenience food (e.g., french fries, potato wedges or spring rolls) crispy. |
| To bake pizza. To make intensive browning and a crispy bottom. |
| To bake cakes with crispy bottom and to preserve food. |
| To defrost food (vegetables and fruit). The defrosting time depends on the amount and size of the frozen food. |
| Heating function | Application |
| This function is designed to save energy during cooking. When you use this function, the temperature in the cavity may differ from the set temper‐ ature. The residual heat is used. The heating power may be reduced. For more information refer to “Daily Use” chapter, Notes on: Moist Fan Bak‐ ing. |
| To grill thin pieces of food and to toast bread. |
| To roast large meat joints or poultry with bones on one shelf position. To make gratins and to brown. |
| To enter the Menu: Assisted Cooking, Cleaning, Settings. |
7.3 Notes on: Moist Fan Baking
This function was used to comply with the energy efficiency class and ecodesign requirements according to EU 65/2014 and EU 66/2014. Tests according to EN 60350-1.
The oven door should be closed during cooking so that the function is not interrupted and the oven operates with the highest energy efficiency possible.
When you use this function the lamp automatically turns off after 30 sec.
For the cooking instructions refer to “Hints and tips” chapter, Moist Fan Baking. For general energy saving recommendations refer to “Energy Efficiency” chapter, Energy Saving.
7.4 How to set: Assisted Cooking
Every dish in this submenu has a recommended function and temperature. You can adjust the time and the temperature during cooking.
| For some of the dishes you can also cook with: | • Weight Automatic |
| Assisted Cooking – use it to prepare a dish quickly with default settings: | |||
Step 1 | Step 2 | Step 3 | Step 4 |
| |||
| Assisted Cooking – use it to prepare a dish quickly with default settings: | |||
| Enter the menu. | Select Assisted Cooking. Press OK . | Select the dish. PressOK | Insert the dish to the oven. Confirm setting. |
7.5 Assisted Cooking
| Legend | |
| Weight Automatic available. |
| Preheat the oven before you start cooking. |
| Shelf level.’; |
When the function ends check if the food is ready.
| Dish | Weight | Shelf level / Accessory | Duration time | |
| Beef | ||||
| P1 | Roast Beef, rare | 1 – 1,5 kg; 4 – 5 cm thick pieces | Fry the meat for a few minutes on a hot pan. Insert to the oven. | 40 min |
| P2 | Roast Beef, medium | 50 min | ||
| P3 | Roast Beef, well done | 60 min | ||
| P4 | Steak, medi‐ um | 180 – 220 g per piece; 3 cm thick sli‐ ces | 15 min | |
| P5 | Beef roast / braised (prime rib, top round, thick flank) | 1,5 – 2 kg | 120 min | |
| Dish | Weight | Shelf level / Accessory | Duration time | |
| P6 | Roast Beef, rare (slow cooking) | 1 – 1,5 kg; 4 – 5 cm thick pieces | Use your favourite spices or simply salt and fresh grounded pepper. Fry the meat for a few minutes on a hot pan. Insert to the oven. | 75 min |
| P7 | Roast Beef, medium (slow cooking) | 85 min | ||
| P8 | Roast Beef, well done (slow cooking) | 130 min | ||
| P9 | Fillet, rare (slow cooking) | 0,5 – 1,5 kg; 5 – 6 cm thick pieces | Use your favourite spices or simply salt and fresh grounded pepper. Fry the meat for a few minutes on a hot pan. Insert to the oven. | 75 min |
| P10 | Fillet, medium (slow cooking) | 90 min | ||
| P11 | Fillet, done (slow cooking) | 120 min | ||
| Veal | ||||
| P12 | Veal roast (e.g. shoulder) | 0,8 – 1,5 kg; 4 cm thick pieces | 80 min | |
| Pork | ||||
| P13 | Pork roast neck or shoulder | 1,5 – 2 kg | 120 min | |
| P14 | Pulled pork (slow cooking) | 1,5 – 2 kg | Use your favourite spices. Turn the meat after half of the cooking time to get an even browning. | 215 min |
| P15 | Loin, fresh | 1 – 1,5 kg; 5 – 6 cm thick pieces | Use your favourite spices. | 55 min |
| Dish | Weight | Shelf level / Accessory | Duration time | |
| P16 | Spare Ribs | 2 – 3 kg; use raw, 2 – 3 cm thin spare ribs | Add liquid to cover the bottom of a dish. Turn the meat after half of the cooking time. | 90 min |
| Lamb | ||||
| P17 | Lamb leg with bones | 1,5 – 2 kg; 7 – 9 cm thick pieces | Add liquid. Turn the meat after half of the cooking time. | 130 min |
| Poultry | ||||
| P18 | Whole chick‐ en | 1 – 1,5 kg; fresh | 60 min | |
| P19 | Half chicken | 0,5 – 0,8 kg | Use your favourite spices. | 40 min |
| P20 | Chicken breast | 180 – 200 g per piece | 25 min | |
| P21 | Chicken legs, fresh | – | If you marinated chicken legs first, set lower temperature and cook them longer. | 30 min |
| P22 | Duck, whole | 2 – 3 kg | 100 min | |
| P23 | Goose, whole | 4 – 5 kg | Use your favourite spices. Put the meat on deep baking tray. Turn the goose af‐ ter half of the cooking time. | 110 min |
| Other | ||||
| Dish | Weight | Shelf level / Accessory | Duration time | |
| P24 | Meat loaf | 1 kg | Use your favourite spices. | 60 min |
| Fish | ||||
| P25 | Whole fish, grilled | 0,5 – 1 kg per fish | Fill the fish with butter and use your fa‐ vourite spices and herbs. | 30 min |
| P26 | Fish fillet | – | 20 min | |
| Sweet baking / desserts | ||||
| P27 | Cheesecake | – | 90 min | |
| P28 | Apple cake | – | 45 min | |
| P29 | Apple tart | – | 40 min | |
| P30 | Apple pie | – | 60 min | |
| P31 | Brownies | 2 kg | 30 min | |
| P32 | Chocolate muffins | – | 25 min | |
| P33 | Loaf cake | – | 50 min | |
| Vegetable / Side dishes | ||||
| P34 | Baked pota‐ toes | 1 kg | Put the whole potatoes with skin on bak‐ ing tray. | 50 min |
| Dish | Weight | Shelf level / Accessory | Duration time | |
| P35 | Wegdes | 1 kg | Use your favourite spices. Cut potatoes into pieces. | 35 min |
| P36 | Grilled mixed vegetables | 1 – 1,5 kg | Use your favourite spices. Cut the vege‐ tables into pieces. | 30 min |
| P37 | Croquets, fro‐ zen | 0,5 kg | 25 min | |
| P38 | Pommes, fro‐ zen | 0,75 kg | 25 min | |
| Gratins, bread and pizza | ||||
| P39 | Meat / vegeta‐ ble lasagna with dry noo‐ dle plates | 1 – 1,5 kg | 45 min | |
| P40 | Potato gratin (raw potatoes) | 1 – 1,5 kg | 50 min | |
| P41 | Pizza fresh, thin | – | 15 min | |
| P42 | Pizza fresh, thick | – | 25 min | |
| P43 | Quiche | – | 45 min | |
| P44 | Baguette / Ciabatta / White bread | 0,8 kg | 30 min | |
| Dish | Weight | Shelf level / Accessory | Duration time | |
| P45 | All grain / rye / dark bread all grain in loaf pan | 1 kg | 60 min |
CLOCK FUNCTIONS
8.1 Clock functions
| Clock Function | Application |
| Minute minder. When the timer ends, the signal sounds. |
| Cooking time. When the timer ends, the signal sounds and the heating function stops. |
| Time Delay. To postpone the start and / or end of cooking. |
| Uptimer. Maximum is 23 h 59 min. This function has no effect on the operation of the oven. To turn on and off the Uptimer select: Menu, Settings. |
8.2 How to set: Clock functions
| How to set: Time of day | ||
Step 1 | Step 2 | Step 3 |
|
| |
| To change the time of day enter the menu and select Settings, Time of day. | Set the clock. | Press: OK . |
How to set: Minute minder | |||
Step 1 |
The display shows:
| Step 2 | Step 3 |
| Press: | Set the Minute minder | Press: OK . | |
| How to set: Cooking time | ||||
| Step 1 | Step 2 |
The display shows:
| Step 3 | Step 4 |
| Choose a heating function and set the temperature. | Press repeated‐ ly: | Set the cooking time. | Press:OK . | |
| How to set: Time Delay | |||||||
| Step 1 | Step 2 | Step 3 | Step 4 | Step 5 | Step 6 | ||
The dis‐ play shows: the time of day | The dis‐ play shows: | ||||||
| Select the heating func‐ tion. | Press re‐ peatedly: | Set the start time. | Press:OK. | Set the end time. | Press:OK. | ||
HOW TO USE: ACCESSORIES
9.1 Inserting accessories
A small indentation at the top increases safety. The indentations are also anti-tip devices. The high rim around the shelf prevents cookware from slipping of the shelf.
| Wire shelf: Push the shelf between the guide bars of the shelf support and make sure that the feet point down. | ![]() |
| Baking tray / Deep pan: Push the tray between the guide bars of the shelf support. | ![]() |
| Wire shelf, Baking tray / Deep pan: Push the tray between the guide bars of the shelf support and the wire shelf on the guide bars above. | ![]() |
ADDITIONAL FUNCTIONS
10.1 Lock
| This function prevents an accidental change of the oven function. | ||
| Turn it on when the oven works – the set cooking continues, the control panel is locked. Turn it on when the oven is off – the oven cannot be turned on, the control panel is locked. | ||
A signal sounds. | ||
10.2 Automatic switch-off
For safety reasons the oven turns off after some time, if a heating function works and you do not change any settings.
|
|
30 – 115 | 12.5 |
120 – 195 | 8.5 |
200 – 245 | 5.5 |
250 – maximum | 3 |
The Automatic switch-off does not work with the functions: Light, Time Delay.
10.3 Cooling fan
When the oven operates, the cooling fan turns on automatically to keep the surfaces of the oven cool. If you turn off the oven, the cooling fan can continue to operate until the oven cools down.
HINTS AND TIPS
11.1 Moist Fan Baking
For the best results follow suggestions listed in the table below.
| Sweet rolls, 16 pieces | baking tray or dripping pan | 180 | 2 | 20 – 30 |
| Rolls, 9 pieces | baking tray or dripping pan | 180 | 2 | 30 – 40 |
| Pizza, frozen, 0.35 kg | wire shelf | 220 | 2 | 10 – 15 |
| Swiss Roll | baking tray or dripping pan | 170 | 2 | 25 – 35 |
| Brownie | baking tray or dripping pan | 175 | 3 | 25 – 30 |
| Soufflè, 6 pieces | ceramic ramekins on wire shelf | 200 | 3 | 25 – 30 |
| Sponge flan base | flan base tin on wire shelf | 180 | 2 | 15 – 25 |
| Victoria sandwich | baking dish on wire shelf | 170 | 2 | 40 – 50 |
| Poached fish, 0.3 kg | baking tray or dripping pan | 180 | 3 | 20 – 25 |
| Whole fish, 0.2 kg | baking tray or dripping pan | 180 | 3 | 25 – 35 |
| Fish fillet, 0.3 kg | pizza pan on wire shelf | 180 | 3 | 25 – 30 |
| Poached meat, 0.25 kg | baking tray or dripping pan | 200 | 3 | 35 – 45 |
| Shashlik, 0.5 kg | baking tray or dripping pan | 200 | 3 | 25 – 30 |
| Cookies, 16 pieces | baking tray or dripping pan | 180 | 2 | 20 – 30 |
| Macaroons, 24 pieces | baking tray or dripping pan | 180 | 2 | 25 – 35 |
| Muffins, 12 pieces | baking tray or dripping pan | 170 | 2 | 30 – 40 |
| Savory pastry, 20 pieces | baking tray or dripping pan | 180 | 2 | 25 – 30 |
| Short crust bis‐ cuits, 20 pieces | baking tray or dripping pan | 150 | 2 | 25 – 35 |
| Tartlets, 8 pieces | baking tray or dripping pan | 170 | 2 | 20 – 30 |
| Vegetables, poached, 0.4 kg | baking tray or dripping pan | 180 | 3 | 35 – 45 |
| Vegetarian ome‐ lette | pizza pan on wire shelf | 200 | 3 | 25 – 30 |
| Mediterranean vegetables, 0.7 kg | baking tray or dripping pan | 180 | 4 | 25 – 30 |
11.2 Moist Fan Baking – recommended accessories
Use the dark and non-reflective tins and containers. They have better heat absorption than the light colour and reflective dishes.
|
|
|
|
| Dark, non-reflective 28 cm diameter | Dark, non-reflective 26 cm diameter | Ceramic 8 cm diameter, 5 cm height | Dark, non-reflective 28 cm diameter |
11.3 Cooking tables for test institutes
Information for test institutes
Tests according to IEC 60350-1.
(°C) | (min) | |||||
| Small cakes, 20 per tray | Conven‐ tional Cooking | Baking tray | 3 | 170 | 20 – 30 | – |
| Small cakes, 20 per tray | True Fan Cooking | Baking tray | 3 | 150 – 160 | 20 – 35 | – |
| Small cakes, 20 per tray | True Fan Cooking | Baking tray | 2 and 4 | 150 – 160 | 20 – 35 | – |
| Apple pie, 2 tins Ø20 cm | Conven‐ tional Cooking | Wire shelf | 2 | 180 | 70 – 90 | – |
| Apple pie, 2 tins Ø20 cm | True Fan Cooking | Wire shelf | 2 | 160 | 70 – 90 | – |
| Sponge cake, cake mould Ø26 cm | Conven‐ tional Cooking | Wire shelf | 2 | 170 | 40 – 50 | Preheat the oven for 10 minutes. |
| Sponge cake, cake mould Ø26 cm | True Fan Cooking | Wire shelf | 2 | 160 | 40 – 50 | Preheat the oven for 10 minutes. |
| Sponge cake, cake mould Ø26 cm | True Fan Cooking | Wire shelf | 2 and 4 | 160 | 40 – 60 | Preheat the oven for 10 minutes. |
(°C) | (min) | |||||
| Short bread | True Fan Cooking | Baking tray | 3 | 140 – 150 | 20 – 40 | – |
| Short bread | True Fan Cooking | Baking tray | 2 and 4 | 140 – 150 | 25 – 45 | – |
| Short bread | Conven‐ tional Cooking | Baking tray | 3 | 140 – 150 | 25 – 45 | – |
| Toast, 4 – 6 pieces | Grill | Wire shelf | 4 | max. | 2 – 3 mi‐ nutes first side; 2 – 3 minutes second side | Preheat the oven for 3 minutes. |
| Beef burger, 6 pieces, 0.6 kg | Grill | Wire shelf and drip‐ ping pan | 4 | max. | 20 – 30 | Put the wire shelf on the fourth level and the dripping pan on the third level of the oven. Turn the food half‐ way through the cooking time. Preheat the oven for 3 minutes. |
CARE AND CLEANING
WARNING!
Refer to Safety chapters.
12.1 Notes on cleaning
|
| Clean the front of the oven with a soft cloth with warm water and a mild deter‐ gent. |
| Use a cleaning solution to clean metal surfaces. | |
| Clean stains with a mild detergent. |
Everyday Use | Clean the cavity after each use. Fat accumulation or other residue may cause fire. |
| Moisture can condense in the oven or on the door glass panels. To decrease the condensation, let the oven work for 10 minutes before cooking. Do not store the food in the oven for longer than 20 minutes. Dry the cavity with a soft cloth after each use. |
| Clean all accessories after each use and let them dry. Use a soft cloth with warm water and a mild detergent. Do not clean the accessories in a dishwash‐ er. |
| Do not clean the non-stick accessories using abrasive cleaner or sharp-edged objects. |
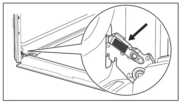
12.2 How to remove: Shelf supports
Remove the shelf supports to clean the oven.
| Step 1 | Turn off the oven and wait until it is cold. | ![]() |
| Step 2 | Pull the front of the shelf sup‐ port away from the side wall. | |
| Step 3 | Pull the rear end of the shelf support away from the side wall and remove it. | ![]() |
| Step 4 | Install the shelf supports in the opposite sequence. |
12.3 How to use: Pyrolytic Cleaning
Clean the oven with Pyrolytic Cleaning.
WARNING!
There is a risk of burns.
CAUTION!
If there are other appliances installed in the same cabinet, do not use them at the same time as this function. It can cause damage to the oven.
Before the Pyrolytic Cleaning: | ||
| Turn off the oven and wait until it is cold. | Remove all accessories. | Clean the oven floor and the in‐ ner door glass with warm water, a soft cloth and a mild detergent. |
| Pyrolytic Cleaning | |
| Step 1 | Enter menu: Cleaning |
| Option | Duration |
| C1 – Light cleaning | 1 h |
| C2 – Normal cleaning | 1 h 30 min |
| C3 – Thorough cleaning | 2 h 30 min |
| Step 2 | OK – press to select the cleaning programme. |
| Step 3 | OK– press to start the cleaning. |
| Step 4 | After cleaning, turn the knob for the heating functions to the off posi‐ tion. |
| When the oven is at the set temperature, the door locks. Until the door unlocks the display shows: | |
When the cleaning ends: | ||
| Turn off the oven and wait until it is cold. | Clean the cavity with a soft cloth. | Remove the residue from the bottom of the cavity. |
12.4 Cleaning Reminder
| The oven reminds you when to clean it with pyrolytic cleaning. | |
| To turn off the reminder enter the Menu and select Settings, Cleaning Reminder. | |
12.5 How to remove and install: Door
The oven door has three glass panels. You can remove the oven door and the internal glass panels to clean them. Read the whole “Removing and installing door” instruction before you remove the glass panels.
CAUTION!
Do not use the oven without the glass panels.
| Step 1 | Open the door fully and hold both hinges. | ![]() |
| Step 2 | Lift and pull the latches until they click. | ![]() |
| Step 3 | Close the oven door halfway to the first opening position. Then lift and pull to remove the door from its seat. | ![]() |
| Step 4 | Put the door on a soft cloth on a sta‐ ble surface. |
| Step 5 | Hold the door trim (B) on the top edge of the door at the two sides and push inwards to release the clip seal. | ![]() |
| Step 6 | Pull the door trim to the front to re‐ move it. | |
| Step 7 | Hold the door glass panels by their top edge and carefully pull them out one by one. Start from the top panel. Make sure the glass slides out of the supports completely. | ![]() |
| Step 8 | Clean the glass panels with water and soap. Dry the glass panels carefully. Do not clean the glass panels in the dishwasher. | |
| Step 9 | After cleaning, install the glass panels and the oven door. | |
| If the door is installed correctly, you will hear a click when closing the latches. | ||

Make sure that you put the glass panels (A and B) back in the correct sequence. Check for the symbol / printing on the side of the glass panel, each of the glass panels looks different to make the disassembly and as‐ sembly easier.
When installed correctly the door trim clicks. Make sure that you install the middle panel of glass in the seats correctly.
12.6 How to replace: Lamp
WARNING!
Risk of electric shock.
The lamp can be hot.
Always hold the halogen lamp with a cloth to prevent grease residue from burning on the lamp.
Before you replace the lamp: | ||
| Step 1 | Step 2 | Step 3 |
| Turn off the oven. Wait until the oven is cold. | Disconnect the oven from the mains. | Put a cloth on the bottom of the cavity. |
Back lamp
| Step 1 | Turn the glass cover to remove it. |
| Step 2 | Clean the glass cover. |
| Step 3 | Replace the lamp with a suitable 300 °C heat-resistant lamp. |
| Step 4 | Install the glass cover. |
TROUBLESHOOTING
WARNING!
Refer to Safety chapters.
13.1 What to do if…
In any cases not included in this table please contact with an Authorised Service Centre.
| The oven does not turn on or does not heat up | |
| Problem | Check if… |
| You cannot activate or operate the oven. | The oven is correctly connected to an electrical supply. |
| The oven does not heat up. | The automatic switch-off is deactivated. |
| The oven does not heat up. | The oven door is closed. |
| The oven does not heat up. | The fuse is not blown. |
| The oven does not turn on or does not heat up | |
| The oven does not heat up. | The Lock is off. |
| Components | |
| Problem | Check if… |
| The lamp is turned off. | Moist Fan Baking – is turned on. |
| The lamp does not work. | The lamp is burnt out. |
| Error codes | |
| The display shows… | Check if… |
| Err C3 | The oven door is closed or the door lock is not broken. |
| Err F102 | The oven door is closed. |
| Err F102 | The door lock is not broken. |
| 00:00 | There was a power cut. Set the time of day. |
| If the display shows an error code that is not in this table turn the house fuse off and on to restart the oven. If the error code recurs contact an Authorised Service Centre. | |
13.2 Service data
If you cannot find a solution to the problem yourself, contact your dealer or an Authorised Service Centre.
The necessary data for the service centre is on the rating plate. The rating plate is on the front frame of the oven cavity. Do not remove the rating plate from the oven cavity.
| We recommend that you write the data here: | |
| Model (MOD.) | ………………………………….. |
| Product number (PNC) | ………………………………….. |
| Serial number (S.N.) | ………………………………….. |
ENERGY EFFICIENCY
14.1 Product Information and Product Information Sheet*
| Supplier’s name | Electrolux | |
| Model identification | CKP806X1 949498243 OOP805NZ1 949498244 | |
| Energy Efficiency Index | 81.2 | |
| Energy efficiency class | A+ | |
| Energy consumption with a standard load, conventional mode | 0.93 kWh/cycle | |
| Energy consumption with a standard load, fan-forced mode | 0.69 kWh/cycle | |
| Number of cavities | 1 | |
| Heat source | Electricity | |
| Volume | 72 l | |
| Type of oven | Built-In Oven | |
| Mass | CKP806X1 | 31.6 kg |
| OOP805NZ1 | 31.4 kg | |
| * For European Union according to EU Regulations 65/2014 and 66/2014. For Republic of Belarus according to STB 2478-2017, Appendix G; STB 2477-2017, Annexes A and B. For Ukraine according to 568/32020. |
| Energy efficiency class is not applicable for Russia. |
| EN 60350-1 – Household electric cooking appliances – Part 1: Ranges, ovens, steam ovens and grills – Methods for measuring performance. |
14.2 Energy saving
The oven has features which help you save energy during everyday cooking.
Make sure that the oven door is closed when the oven operates. Do not open the oven door too often during cooking. Keep the door gasket clean and make sure it is well fixed in its position.
Use metal cookware to improve energy saving.
When possible, do not preheat the oven before cooking.
Keep breaks between baking as short as possible when you prepare a few dishes at one time.
Cooking with fan
When possible, use the cooking functions with fan to save energy.
Residual heat
The fan and lamp continue to operate. When you turn off the oven, the display shows the
residual heat. You can use that heat to keep the food warm.
When the cooking duration is longer than 30 min, reduce the oven temperature to minimum 3 10 min before the end of cooking. The residual heat inside the oven will continue to cook.
Use the residual heat to warm up other dishes.
Keep food warm
Choose the lowest possible temperature setting to use residual heat and keep a meal warm.
The residual heat indicator or temperature appears on the display.
Cooking with the lamp off
Turn off the lamp during cooking. Turn it on only when you need it.
Moist Fan Baking
Function designed to save energy during cooking.
When you use this function the lamp automatically turns off after 30 sec.
You may turn on the lamp again but this action will reduce the expected energy savings.
15.1 Menu
Menu structure | ||
| Assisted Cooking | Cleaning | Settings |
| Step 1 | Step 2 | Step 3 | Step 4 | Step 5 |
O1 – O11 | ||||
| Select the Menu, Settings. | Confirm setting. | Select the set‐ ting. | Confirm setting. | Adjust the value and press . |
| Settings | |||||
| O1 | Time of day | Change | O2 | Display brightness | 1 – 5 |
| O3 | Key tones | 1 – Beep 2 – Click 3 – Sound off | O4 | Buzzer volume | 1 – 4 |
| O5 | Uptimer | On / Off | O6 | Light | On / Off |
| O7 | Fast Heat Up | On / Off | O8 | Cleaning Reminder | On / Off |
| O9 | Demo mode | Activation code: 2468 | O10 | Software version | Check |
| O11 | Reset all settings | Yes / No | |||
ENVIRONMENTAL CONCERNS
Recycle materials with the symbol
. Put the packaging in relevant containers to recycle it.
Help protect the environment and human health by recycling waste of electrical and electronic appliances. Do not dispose of appliances marked with the symbol
with the household waste. Return the product to your local recycling facility or contact your municipal office.
867369421-A-132022
www.electrolux.com/shop






Pizza pan
Baking dish
Ramekins
Flan base tin























