Electrolux EH7L4CN Oven
SAFETY INFORMATION
Before the installation and use of the appliance, carefully read the supplied instructions. The manufacturer is not responsible for any injuries or damage that are the result of incorrect installation or usage. Always keep the instructions in a safe and accessible location for future reference.
Children and vulnerable people safety
- This appliance can be used by children aged from 8 years and above and persons with reduced physical, sensory or mental capabilities or lack of experience and knowledge if they have been given supervision or instruction concerning the use of the appliance in a safe way and understand the hazards involved. Children of less than 8 years of age and persons with very extensive and complex disabilities shall be kept away from the appliance unless continuously supervised.
- Children should be supervised to ensure that they do not play with the appliance.
- Keep all packaging away from children and dispose of it appropriately.
- WARNING: The appliance and its accessible parts become hot during use. Keep children and pets away from the appliance when in use and when cooling down.
- If the appliance has a child safety device, it should be activated.
- Children shall not carry out cleaning and user maintenance of the appliance without supervision.
General Safety
- This appliance is for cooking purposes only.
- This appliance is designed for single household domestic use in an indoor environment.
- This appliance may be used in, offices, hotel guest rooms, bed & breakfast guest rooms, farm guest houses and other similar accommodation where such use does not exceed (average) domestic usage levels.
- Only a qualified person must install this appliance and replace the cable.
- Do not use the appliance before installing it in the built-in structure.
- Disconnect the appliance from the power supply before carrying out any maintenance.
- If the mains power supply cable is damaged, it must be replaced by the manufacturer, its Authorised Service Centre or similarly qualified persons to avoid an electrical hazard.
- The control panel must be connected to specified heating unit with matching colours of connectors, to avoid possible hazard.
- The means for disconnection must be incorporated in the fixed wiring in accordance with the wiring rules.
- WARNING: Ensure that the appliance is switched off before replacing the lamp to avoid the possibility of electric shock.
- WARNING: The appliance and its accessible parts become hot during use. Care should be taken to avoid touching heating elements or the surface of the appliance cavity.
- Always use oven gloves to remove or insert accessories or ovenware.
- Be careful when you touch the storage drawer. It can get hot.
- To remove the shelf supports first pull the front of the shelf support and then the rear end away from the side walls. Install the shelf supports in the opposite sequence.
- Do not use a steam cleaner to clean the appliance.
- Do not use harsh abrasive cleaners or sharp metal scrapers to clean the glass door since they can scratch the surface, which may result in shattering of the glass.
SAFETY INSTRUCTIONS
Installation
WARNING: Only a qualified person must install this appliance.
- Remove all the packaging.
- Do not install or use a damaged appliance.
- Follow the installation instructions supplied with the appliance. Always take care when moving the appliance as it is heavy. Always use safety gloves and enclosed footwear.
- Do not pull the appliance by the handle.
- Install the appliance in a safe and suitable place that meets installation requirements.
- The kitchen cabinet and the recess must have suitable dimensions.
- Keep the minimum distance from other appliances and units.
- Before mounting the appliance, check if the appliance door opens without restraint.
- Parts of the appliance carry current. Close the appliance with furniture to prevent touching the dangerous parts.
- The appliance is equipped with an electric cooling system. It must be operated with the electric power supply.
- The built-in unit must meet the stability requirements of DIN 68930.
- Cabinet minimum height (Cabinet under the worktop minimum height): 762 (762) mm
- Cabinet width: 550 mm
- Cabinet depth: 605 (580) mm
- Height of the front of the appliance: 757 mm
- Height of the back of the appliance: 739 mm
- Width of the front of the appliance: 549 mm
- Width of the back of the appliance: 548 mm
- Depth of the appliance: 567 mm
- Built in depth of the appliance: 546 mm
- Depth with open door: 1017 mm
- Ventilation opening minimum size. Opening placed on the bottom rear side: 550 x 20 mm
- Mounting screws: 4x12 mm
Electrical connection
WARNING: Risk of fire and electric shock.
- All electrical connections should be made by a qualified electrician.
- The appliance must be earthed.
- Make sure that the parameters on the rating plate are compatible with the electrical ratings of the mains power supply.
- Always use a correctly installed shockproof socket.
- Do not use multi-plug adapters and extension cables.
- Make sure not to cause damage to the mains plug and to the mains cable. Should the mains cable need to be replaced, this must be carried out by our Authorised Service Centre.
- Do not let mains cables touch or come near the appliance door or the niche below the appliance, especially when it operates or the door is hot.
- The shock protection of live and insulated parts must be fastened in such a way that it cannot be removed without tools. Connect the mains plug to the mains socket only at the end of the installation. Make sure that there is access to the mains plug after the installation.
- If the mains socket is loose, do not connect the mains plug.
- Do not pull the mains cable to disconnect the appliance. Always pull the mains plug.
- Use only correct isolation devices: line protecting cut-outs, fuses (screw type fuses removed from the holder), earth leakage trips and contactors.
- The electrical installation must have an isolation device which lets you disconnect the appliance from the mains at all poles. The isolation device must have a contact opening width of minimum 3 mm.
- This appliance is supplied without a main plug and a main cable.
Use
WARNING: Risk of injury, burns and electric shock or explosion.
- Do not change the specification of this appliance.
- Make sure that the ventilation openings are not blocked.
- Do not let the appliance stay unattended during operation.
- Deactivate the appliance after each use.
- Be careful when you open the appliance door while the appliance is in operation. Hot air can release.
- Do not operate the appliance with wet hands or when it has contact with water.
- Do not apply pressure on the open door.
- Do not use the appliance as a work surface or as a storage surface.
- Open the appliance door carefully. The use of ingredients with alcohol can cause a mixture of alcohol and air.
- Do not let sparks or open flames to come in contact with the appliance when you open the door.
- Do not put flammable products or items that are wet with flammable products in, near or on the appliance.
WARNING: Risk of damage to the appliance.
- To prevent damage or discoloration to the enamel:
- do not put ovenware or other objects in the appliance directly on the bottom.
- do not put aluminium foil directly on the bottom of cavity of the appliance.
- do not put water directly into the hot appliance.
- do not keep moist dishes and food in the appliance after you finish the cooking.
- be careful when you remove or install the accessories.
- Discoloration of the enamel or stainless steel has no effect on the performance of the appliance.
- Use a deep pan for moist cakes. Fruit juices cause stains that can be permanent.
- Always cook with the appliance door closed.
Care and cleaning
WARNING: Risk of injury, fire, or damage to the appliance.
- Before maintenance, deactivate the appliance and disconnect the mains plug from the mains socket.
- Make sure the appliance is cold. There is the risk that the glass panels can break.
- Replace immediately the door glass panels when they are damaged. Contact the Authorised Service Centre.
- Be careful when you remove the door from the appliance. The door is heavy!
- Clean regularly the appliance to prevent the deterioration of the surface material.
- Clean the appliance with a moist soft cloth. Use only neutral detergents. Do not use abrasive products, abrasive cleaning pads, solvents or metal objects.
- If you use an oven spray, follow the safety instructions on its packaging.
Internal lighting
WARNING: Risk of electric shock.
- Concerning the lamp(s) inside this product and spare part lamps sold separately: These lamps are intended to withstand extreme physical conditions in household appliances, such as temperature, vibration, humidity, or are intended to signal information about the operational status of the appliance. They are not intended to be used in other applications and are not suitable for household room illumination.
- This product contains a light source of energy efficiency class G.
- Use only lamps with the same specifications.
Service
- To repair the appliance contact the Authorised Service Centre.
- se original spare parts only.
Disposal
WARNING: Risk of injury or suffocation.
- Contact your municipal authority for information on how to dispose of the appliance.
- Disconnect the appliance from the mains supply.
- Cut off the mains electrical cable close to the appliance and dispose of it.
- Remove the door catch to prevent children or pets from becoming trapped in the appliance.
PRODUCT DESCRIPTION
General overview
- Control panel
- Lamps / symbols of the cooking zones 3 Knob for the heating functions
- Power lamp / symbol
- Display
- Control knob (for the temperature)
- Temperature indicator / symbol
- Knobs for the cooking zones
- Heating element
- Lamp
- Fan
- Rrawer
- Shelf support, removable 14 Shelf positions

Accessories
Wire shelf

Baking tray

For cakes and biscuits.
Storage drawer
The storage drawer is below the oven cavity.
WARNING: The storage drawer can become hot when the oven operates. Do not store any flammable materials in the drawer.
CONTROL PANEL
Knobs for the cooking zones
You can operate the hob with the knobs for the cooking zones.
Info: You must read the Safety chapters in the hob user manual.
Heat settings

- Turn the knob to a necessary heat setting.
- To complete the cooking process, turn the knob to the off position.
Using the double zone (if applicable)
Info: To activate the double zone, turn the knob clockwise. Do not turn it through the stop position.
- Turn the knob clockwise to position 9.
- Turn the knob slowly to the symbol until you can hear a click. The two cooking zones are on.
- To set the necessary heat setting refer to “Heat settings”.
Retractable knobs
To use the appliance press the knob. The knob comes out.
Sensor fields / Buttons

Display

- A. Clock functions
- B. Timer
BEFORE FIRST USE
WARNING: Refer to Safety chapters.
Before first use
The oven can emit an odour and smoke during preheating. Make sure that the room is ventilated.

DAILY USE
WARNING: Refer to Safety chapters.
How to set: Heating function
- Step 1: Turn the knob for the heating functions to select a heating function.
- Step 2: Turn the control knob to select the tem‐perature.
- Step 3:When the cooking ends, turn the knobs to the off position to turn off the oven.
Heating functions




INFO: The lamp may turn off automatically at a temperature below 60 °C during some oven functions.
Notes on: Moist Fan Baking
- This function was used to comply with the energy efficiency class and ecodesign requirements according to EU 65/2014 and EU 66/2014. Tests according to EN 60350-1.
- The oven door should be closed during cooking so that the function is not interrupted and the oven operates with the highest energy efficiency possible.
For the cooking instructions refer to “Hints and tips” chapter, Moist Fan Baking. For general energy saving recommendations refer to “Energy Efficiency” chapter, Energy Saving.
CLOCK FUNCTIONS
Clock functions

How to set: Clock functions
How to change: Time of Day

How to set: Duration

How to set: Minute Minder
USING THE ACCESSORIES
WARNING: Refer to Safety chapters.
Inserting accessories
A small indentation at the top increases safety. The indentations are also anti-tip devices. The high rim around the shelf prevents cookware from slipping of the shelf.
Wire shelf:
Push the shelf between the guide bars of the shelf support.
Baking tray:
Push the tray between the guide bars of the shelf support.

Wire shelf, Baking tray:
Push the tray between the guide bars of the shelf support and the wire shelf on the guide bars above.
9. ADDITIONAL FUNCTIONS
Cooling fan
When the oven operates, the cooling fan turns on automatically to keep the surfaces of the oven cool. If you turn off the oven, the cooling fan can continue to operate until the oven cools down.
HINTS AND TIPS
WARNING: Refer to Safety chapters.
Examples of cooking applications for the hob
Heat setting Application/Time (min) Hints

Cooking recommendations
- The temperature and cooking times in the tables are guidelines only. They depend on the recipes and the quality and quantity of the ingredients used.
- Your oven may bake or roast differently to the oven you had before. The tables below show recommended set‐tings for temperature, cooking time and shelf position for specific types of the food.
- If you cannot find the settings for a special recipe, look for the similar one.
Baking
- For the first baking, use the lower temperature.
- You can extend the baking time by 10 – 15 minutes if you bake cakes on more than one shelf position.
- Cakes and pastries at different heights do not always brown equally. There is no need to change the temperature setting if an unequal browning occurs. The differences equalize during baking.
- Trays in the oven can distort during baking. When the trays are cold again, the distortions disappear.
Tips on baking

Baking on one shelf level

- Use the third shelf position.
- Use the function: True Fan Cooking.
- Use a baking tray.




Bakes and gratins
Use the first shelf position.

Multilevel Baking
Use the function: True Fan Cooking.
Use the baking trays.


Tips on Roasting
- Use heat-resistant ovenware.
- Roast lean meat covered (you can use aluminium foil).
- Roast large meat joints directly in the tray or on the wire shelf placed above the tray.
- Put some water in the tray to prevent dripping fat from burning.
- Turn the roast after 1/2 – 2/3 of the cooking time.
- Roast meat and fish in large pieces (1 kg or more).
Baste meat joints with their own juice several times during roasting.
Roasting
Use the first shelf position.





Crispy baking with: Pizza Function


Grill
- Preheat the empty oven before cooking.
- Grill only thin pieces of meat or fish.
- Put a pan on the first shelf position to collect fat.

Frozen Foods


Defrost
- Remove the food packaging and put the food on a plate.
- Do not cover the food, as this can extend the defrost time.
- Use the first shelf position.
For large portions of food place an upturned empty plate on the bottom of the oven cavity. Put the food in a deep dish and set it on top of the plate inside the oven. Remove the shelf supports if necessary.

Preserving
- Use the function Bottom Heat.
- Use only preserve jars of the same dimensions available on the market.
- Do not use jars with twist-off and bayonet type lids or metal tins.
- Use the first shelf position.
- Put no more than six one-litre preserve jars on the baking tray.
- Fill the jars equally and close with a clamp. The jars cannot touch each other.
- Use the first shelf position.
- Put no more than six one-litre preserve jars on the baking tray.
- Fill the jars equally and close with a clamp. The jars cannot touch each other.

Dehydrating – True Fan Cooking
Cover trays with grease proof paper or baking parchment.
- For a better result, stop the oven halfway through the drying time, open the door and let it cool down for one night to complete the drying.
- For 1 tray use the third shelf position.
- For 2 trays use the first and fourth shelf position.

Moist Fan Baking recommended accessories
Use the dark and non-reflective tins and containers. They have better heat absorption than the light colour and reflective dishes.

Moist Fan Baking
For the best results follow suggestions listed in the table below.

Information for test institutes
Tests according to: EN 60350, IEC 60350.



CARE AND CLEANING
WARNING: Refer to Safety chapters.
Notes on cleaning

How to remove: Shelf supports
Remove the shelf supports to clean the oven.
- Step 1: Turn off the oven and wait until it is cold.
- Step 2:Pull the front of the shelf support away from the side wall.
- Step 3: Pull the rear end of the shelf support away from the side wall and remove it.
- Step 4: Install the shelf supports in the oppo‐site sequence.

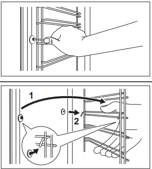
How to remove: Grill
WARNING: There is a risk of burns.
- Step 1:Turn off the oven and wait until it is cold to clean it.Remove the shelf supports.
- Step 2: Grab the grill corners. Pull it forwards against the spring pressure and out of two holders. The grill folds down.
- Step 3: Clean the oven ceiling with warm water, a soft cloth and a mild detergent. Let it dry.
- Step 4: Install the grill in the opposite sequence.
How to remove and install
Door
You can remove the door and the internal glass panels to clean it. The number of glass panels is different for different models.
WARNING: The door is heavy.
CAUTION!: Carefully handle the glass, especially around the edges of the front panel. The glass can break.
- Step 1: Fully open the door.
- Step 2: Fully press the clamping levers (A) on the two door hinges.
- Step 3: Close the oven door to the first opening position (approximately 70° angle). Hold the door at both sides and pull it away from the oven at an upwards angle. Put the door with the outer side down on a soft cloth on a stable surface.
- Step 4: Hold the door trim (B) on the top edge of the door at the two sides and push inwards to release the clip seal.
- Step 5: Pull the door trim to the front to re‐move it.
- Step 6: Hold the door glass panels on their top edge one by one and pull them up out of the guide.
- Step 7: Clean the glass panel with water and soap. Dry the glass panel care‐fully. Do not clean the glass panels in the dishwasher.
- Step 8: After cleaning, do the above steps in the opposite sequence.
- Step 9: Install the smaller panel first, then the larger and the door. Make sure that the glasses are inserted in the correct position otherwise the surface of the door may overheat.
How to replace: Lamp
WARNING: Risk of electric shock. The lamp can be hot.
Before you replace the lamp:
- Step 1: Turn off the oven. Wait until the oven is cold.
- Step 2: Disconnect the oven from the mains.
- Step 3: Put a cloth on the bottom of the cav‐ity.
Top lamp
- Step 1: Turn the glass cover to remove it.

- Step 2: Clean the glass cover.
- Step 3: Replace the lamp with a halogen, 230 V, 40 W, 300 °C heat-resistant lamp.
- Step 4: Install the glass cover.
TROUBLESHOOTING
WARNING: Refer to Safety chapters.
What to do if…
In any cases not included in this table please contact with an Authorised Service Centre.
Service data
- If you cannot find a solution to the problem yourself, contact your dealer or an Authorised Service Centre.
- The necessary data for the service centre is on the rating plate. The rating plate is on the front frame of the oven cavity. Do not remove the rating plate from the oven cavity.

ENERGY EFFICIENCY
Product Information and Product Information Sheet

For European Union according to EU Regulations 65/2014 and 66/2014.
For Republic of Belarus according to STB 2478-2017, Appendix G; STB 2477-2017, Annexes A and B. For Ukraine according to 568/32020.|
Energy efficiency class is not applicable for Russia.
EN 60350-1 – Household electric cooking appliances – Part 1: Ranges, ovens, steam ovens and grills – Methods for measuring performance.
Energy saving
- The oven has features which help you save energy during everyday cooking.
- Make sure that the oven door is closed when the oven operates. Do not open the oven door too often during cooking. Keep the door gasket clean and make sure it is well fixed in its position.
- Use metal cookware to improve energy saving.
- When possible, do not preheat the oven before cooking.
Keep breaks between baking as short as possible when you prepare a few dishes at one time.
Cooking with fan
When possible, use the cooking functions with fan to save energy.
Residual heat
When the cooking duration is longer than 30 min, reduce the oven temperature to minimum 3 – 10 min before the end of cooking. The residual heat inside the oven will continue to cook.
Use the residual heat to warm up other dishes.
Keep food warm
Choose the lowest possible temperature setting to use residual heat and keep a meal warm.
Moist Fan Baking
Function designed to save energy during cooking.
GUARANTEE

Spare parts service: Industriestrasse 10, 5506 Mägenwil, Tel. 0848 848 111
Specialist advice/Sale: Badenerstrasse 587, 8048 Zürich, Tel. 044 405 81 11
Warranty
For each product we provide a two-year guarantee from the date of purchase or delivery to the consumer (with a guarantee certificate, invoice or sales receipt serving as proof). The guarantee covers the costs of materials, labour and travel. The guarantee will lapse if the operating instructions and conditions of use are not adhered to, if the product is incorrectly installed, or in the event of damage caused by external influences, force majeure, intervention by third parties or the use of non-genuine components.
ENVIRONMENTAL CONCERNS
Recycle materials with the symbol . Put the packaging in relevant containers to recycle it. Help protect the environment and human health by recycling waste of electrical and electronic appliances. Do not dispose of
appliances marked with the symbol with the household waste. Return the product to your local recycling facility or contact your municipal office.
INFO: For Switzerland
- Where should you take your old equipment?
- Anywhere that sells new equipment or hand it in to official SENS collection points or official SENS recycling firms.
- The list of official SENS collection points can be found at www.erecycling.ch
SAFETY INFORMATION
USING THE ACCESSORIES


















