KMC CONTROLS BAC-12xx63 FlexStat Room Controllers and Sensors

CAUTION
This document is for 6-relay, 3-analog-output, 6-external-input BAC-12xx63/13xx63/14xx63 series only. These models are not compatible with the backplates of older BAC-10000 series FlexStats (with only 3 external outputs). If replacing an older 3-input FlexStat, replace the backplate as well. See other installation guides for other models.
NOTE: BAC-14xx63 series FlexStats were discontinued in August 2021.
To select and use a FlexStat in an application:
- Select the appropriate model for the in-tended application and options (see the BAC-12xxxx/13xxxx Series FlexStat Data Sheet).
- Mount and wire the unit (see this Installation Guide).
- Configure/program the unit (see the FlexStat Operation and the Application Guide).
- If necessary, troubleshoot any issues (see the FlexStat Operation Guide).
- Operate the unit (see the FlexStat Operation Guide).
NOTE: This document gives basic mounting, wiring, and setup information only. For configuration, programming, operation, and other information, see the KMC Controls web site for the latest documents.
| Models | Dimensions in Inches (mm) | ||
| A | B | C | |
| BAC-12xxxx (shown) | 1.125 (29) | 5.551 (141) | 4.192 (106) |
| BAC-13xxxx/14xxxx | 1.437 (36.5) | 5.192 (132) | |

Illustration 1—Dimensions and Installation
Mounting
For optimum temperature sensor performance, the FlexStat must be mounted on an interior wall and away from heat sources, sunlight, windows, air vents, and air circulation obstructions (e.g., curtains, furniture). Additionally, for a model with an occupancy sensor option, install it where it will have unobstructed view of the most typical traffic area. (See the FlexStat Application Guide for more information.)
If replacing an existing thermostat, label wires as needed for reference when removing the existing thermostat.
- Complete rough-in wiring at each location prior to thermostat installation. Cable insulation must meet local building codes.
CAUTION
To prevent mounting screw heads from touching the circuit board in the thermostat, use only the mounting screws supplied by KMC Controls. Using other screws may damage the FlexStat. Do not turn screws in farther than necessary to remove the cover. - If the cover is locked on the backplate, turn the hex screws in the bottom and top of the FlexStat CLOCKWISE until they (just) clear the cover.(See Illustration 1.) Pull the cover away from the backplate (mounting base).
- Route the wiring through the backplate.
- With the embossed “UP” and arrows toward the ceiling, fasten the backplate to a wall handy-box. BAC-12xxxx models mount directly on vertical 2 x 4 inch boxes, but they require an HMO-10000/HMO-10000W wall mounting plate for horizontal or 4 x 4 boxes. BAC-13xxxx/14xxxx models mount directly on any of those types of boxes.
- Make the appropriate connections to the terminal blocks. (See Connections and Wiring on page 2.)
- Place the FlexStat cover over the backplate while being careful not to pinch or dislodge any wiring. Back the hex screws (counterclockwise) out of the brackets until they engage the FlexStat cover and hold it in place.
Connections and Wiring
Wiring Considerations
- Because of the many connections (power, network, inputs, outputs, and their respective grounds or switched commons), be sure wiring is well planned before installation of conduit!
- Make sure that conduit for all wiring has ad-equate diameter for all necessary wiring. Using 1- inch conduit and junction boxes is recommended! Use external junction boxes above the ceiling or in another convenient location as needed to make connections that run to the FlexStat’s junction box.
- To prevent excessive voltage drop, use a conductor size that is adequate for the wiring length! Allow plenty of “cushion” to allow for transient peaks during startup.
- Using multiple conductor wires for all relevant inputs (e.g., 8 conductor) and outputs (e.g., 12 conductor) is recommended. Grounds for all the inputs can be combined on one wire.
CAUTION
To avoid damage from ground loops and other communication issues in networked FlexStats, correct phasing on MS/TP network and power connections on ALL the networked controllers is critically important.
Network Wiring
For Ethernet or IP communications, plug an Ethernet cable into the RJ-45 jack on the back of the FlexStat.
For MS/TP communications, connect the –A terminals in parallel with all other –A terminals on the network and the +B terminals in parallel with all other +B terminals. (See Illustrations 2 and 4.) Con-nect the shields of the cable (Belden cable #82760 or equivalent) together at each device. Use a wire nut or the S terminal in KMC BACnet controllers. (FlexStats, however, do not have an S terminal.) Connect the cable shield to a good earth ground at one end only.
NOTE: The S terminal in KMC controllers is provided as a connecting point for the shield. The terminal is not connected to the ground of the controller. When connecting to controllers from other manufacturers, verify the shield connection is not connected to the controller’s ground.
For more information on principles and good practices when connecting an MS/TP network, see Planning BACnet Networks (Application Note AN0404A).
MS/TP EOL (End-Of-Line) Termination
The controllers/thermostats on the physical ends of an EIA-485 wiring segment must have end-of-line termination installed for proper network operation. (See Illustrations 2 through 4.) If a FlexStat is at the physical end of the MS/TP network line, set both the EOL termination switches to On (to the right/up) on the back of the circuit board. If not on the end, ensure that both switches are Off (left/down).

Illustration 2—MS/TP Network End-Of-Line Termination
Input Pull-Up Switches

Illustration 3—BAC-12xxxx EOL/Pull-Up Switch Positions

Illustration 4—BAC-13xxxx/14xxxx Switch Positions
CAUTION
This document is for 6-relay, 3-analog-output, 6-external-input BAC-12xx63/13xx63/14xx63 series only. These models are not compatible with the backplates of older BAC-10000 series FlexStats (with only 3 external outputs). If replacing an older 3-input FlexStat, replace the backplate as well. See other installation guides for other models.
NOTE: BAC-14xx63 series FlexStats were discontinued in August 2021.

Illustration 5—(BAC-12xx63) Terminals and Connections
NOTE: On BAC-13xxxx/14xxxx models, terminals are rotated 90° CCW.
Input Connections
Passive input devices require pull-up resistors in the circuit. For passive input devices (e.g., switch contacts and 10K ohm thermistors) on IN2 through IN4 and IN7 through IN9, set the pull-up switches on the back of the circuit board to the 10K position. For active voltage devices, set the switches to the 0–12 VDC position. (See Illustrations 3 through 5.)
NOTE: Unlike the EOL switch pairs, the INPUT switch pairs must NOT have both switches set to the same direction—if one of the pair’s switches is set to the left, for example, the other must be set to the right (or vice versa). ALL the input pull-up resistor switch pairs must be fully latched in either 10K Ohm or 0–12 VDC position even if a switch pair has no input connected! A single incorrect switch position may cause errors in multiple inputs.
NOTE: Type II or III 10K ohm thermistors can be selected by changing the menu setting in Advanced > Inputs > Input # > Sensor (see the Configuration section). If a remote space temperature sensor is connected to AI7, space temperature can be configured for onboard, remote, averaging of the two, the lowest reading, or the highest reading.
NOTE: FlexStat inputs do not support 1K ohm RTDs.
NOTE: To use a 4–20 current loop input or map analog inputs as binary values, see the FlexStat Application Guide.
NOTE: To use a remote SAE-10xx CO2 sensor, see the FlexStat Operation Guide.
NOTE: For more information on wiring specific applications (AHU, FCU, HPU, RTU), see the Applications section starting on page 5. (These applications are the packaged programs selectable from the Advanced Application menu in the BAC-1xxx63C models.)
CAUTION
Relays are for Class-2 voltages (24 VAC) only. Do not connect line voltage to the relays!
CAUTION
Do not mistakenly connect 24 VAC to an analog output ground. This is not the same as a relay’s switched common. See the backplate’s terminal label for the correct terminal.
Output Connections
Connect the device under control between the desired output terminal and the related SC (Switched Com-mon for relays) or GND (Ground for analog outputs) terminal. (See Illustration 5).
For the bank of three relays, there is one Switched
(relay) Common connection (in place of the GND terminal used with analog outputs). (See Illustration 6.) For the relay circuit, the phase side of the AC should be connected to the SC terminal.

Illustration 6—Switched (Relay) Common and Relays
Do not attach a device that draws current exceeding the FlexStat’s output capacity:
- Maximum output current for individual ANA-LOG outputs (7–9) is 20 mA @ 12 VDC (each).
- Max. output current is 1 A for individual RELAYS @ 24 VAC/VDC or a total of 1.5 A per bank of 3 relays (relays 1–3 and 4–6).
For example, (discontinued) KMC REE-3211 relays would exceed the FlexStat’s analog output capacity, but they can be used with the FlexStat’s internal relays 1–3 as shown in the following applications pages. (Use a Core Components CVR11C-0/LD96200 in the REE-3211’s place in those applications.)
FlexStat relays 1–6 are NO, SPST (Form “A”). (To emulate binary outputs with the analog outputs, set the output voltage to be either 0 or 12 VDC in Control Basic.)
Power Connection
The FlexStat requires an external, 24 volt, AC power source. Use a KMC Controls Class-2 transformer to supply power. Connect the transformer’s neutral lead to the 24 VAC Common/–/C terminal and the AC phase lead to the 24 VAC Phase/~/R terminal.(See Illustration 5.) Power is applied to the FlexStat when the transformer is powered.
KMC Controls recommends powering only one con-troller/thermostat from each transformer. If installing a FlexStat in a system with other controllers/thermo-stats powered from a single transformer, however, phasing must be correct and the total power drawn from the transformer must not exceed its rating.
Configuration
To configure the FlexStat, navigate the menus and change settings by pressing a combination of buttons. Press the Right (Menu) button and then the:
- Enter button to select and/or exit value editing.
- Up/Down button to move among entries (up/down lines).
- Left/Right button to move among value fields (left/right spaces).
- Left button to return to the Home screen.

Illustration 6—Configuration Screens
NOTE: Applications on pages 5–9 are the packaged programs selectable from the Advanced > Application menu in the BAC-1xxx63 (only) models. Other FlexStat models have other applications.
NOTE: Humidity, motion, and CO2 sensor options are dependent on the FlexStat model.
For detailed configuration, operation, troubleshoot-ing, and other information, see the FlexStat Opera-tion Guide.
For additional wiring, customization, programming, and application information, see the FlexStat Application Guide.
Applications Notes and Cautions
CAUTION
Relays are for Class-2 voltages (24 VAC) only. Do not connect line voltage to the relays!
Do not mistakenly connect 24 VAC to an analog output ground.
- NOTE: Although typical terminal code letters are shown, check the schematics of your unit for wiring details!
- NOTE: These applications are for 6 relay and 3 analog output BAC-12xx63/13xx63/14xx63 series only. See other installation guides for other models.
- NOTE: CO2, humidity, and motion sensor options are dependent on FlexStat model.
- NOTE: For Bill of Materials listings of the various accessories shown in the sample diagrams, see the FlexStat Application Guide.
- NOTE: Since the KMC REE-3211 is discontinued, use Core Components CVR11C-0/LD96200 in its place. Do not use either with analog outputs! See Output Connections .
Maintenance
Remove dust as necessary from the holes in the top and bottom. Clean the display with a soft, damp cloth and mild soap.
To maintain maximum sensitivity of the built-in motion sensor, occasionally wipe dust or dirt off the lens—but do not use any fluid on the sensor.
Applications
Air Handler Unit (AHU)—
Modulating Heat and Modulating Cool
NOTE: See also the RTU section



APPLICATION
DEGREES SCALE: °F APP: AIR HANDLER ADDITIONAL SETUP
ADDITIONAL SETUP
DAMPER
FAN
HUMIDITY OPTIMUM START SENSORS
NOTE: For MAT sensor use with firmware earlier than R2.1.0.18, see the FlexStat Economizer Change of MAT to DAT Service Bulletin available on the KMC Partners web site.
| Input Terminals | AHU Input Connections | BACnet Objects |
| IN9 | Opt. Remote CO2 Sensor* | AI9 |
| IN8 | AI8 | |
| IN7 | Opt. Remote Temp. Sensor* | AI7 |
| IN4 | Opt. Outside Air Temp. (OAT)** | AI4 |
| IN3 | Opt. Discharge Air Temp. (DAT)** | AI3 |
| GND | Ground | |
| IN2 | Optional FST* | AI2 |
| *Fan Status (FST), Discharge Air Temperature (DAT), and (not shown on the diagram) remote temp./CO2 sensors are optional inputs. Set pull-up resistor switch positions appropriately (see the Input Connections section). **When using the optional Outside Air Damper, DAT/OAT inputs must also be connected. | ||
| Output Terminals | AHU Output Connections (Modulating) | BACnet Objects |
| Analog 9 | Outside Air Damper (OAD/RTD)* | AO9 |
| GND | Ground (for analog output terminals 7–9) | |
| Analog 8 | Heating Valve (HTV) | AO8 |
| Analog 7 | Cooling Valve (CLV) | AO7 |
| Relay 6 | BO6 | |
| SC 4–6 | ||
| Relay 5 | BO5 | |
| Relay 4 | BO4 | |
| Relay 3 | BO3 | |
| SC 1–3 | 24 VAC (for relay terminals 1–3) | |
| Relay 2 | BO2 | |
| Relay 1 | Fan | BO1 |
| *If optional Outside Air Damper is used, must also have DAT/OAT inputs. | ||
Heat Pump Unit (HPU)—
1 or 2 Compressors with Auxiliary and Emergency Heat
NOTE: For MAT sensor use with firmware earlier than R2.1.0.18, see the FlexStat Economizer Change of MAT to DAT Service Bulletin available on the KMC Partners web site.


APPLICATION DEGREES SCALE: °F APP: ROOF TOP OPT: 1H/1C ADDITIONAL SETUP
ADDITIONAL SETUP DAMPER FANHUMIDITY OPTIMUM START SENSORS
| Input Terminals | HPU Input Connections | BACnet Objects |
| IN9 | Opt. Remote CO2 Sensor* | AI9 |
| IN8 | AI8 | |
| IN7 | Opt. Remote Temp. Sensor* | AI7 |
| IN4 | Opt. Outside Air Temp. (OAT)** | AI4 |
| IN3 | Opt. Discharge Air Temp. (DAT)** | AI3 |
| GND | Ground | |
| IN2 | Optional FST* | AI2 |
| *Fan Status (FST), Discharge Air Temperature (DAT), and (not shown on the diagram) remote temp./CO2 sensors are optional inputs. Set pull-up resistor switch positions appropriately (see the Input Connections section). *When using the optional Outside Air Damper, DAT/OAT inputs must also be connected. | ||
| Output Terminals | Typical Terminal Codes | HPU Output Connections | BACnet Objects |
| Analog 9 | Outside Air Damper (OAD/RTD)* | AO9 | |
| GND | Ground (for analog output terminals 7–9) | ||
| Analog 8 | AO8 | ||
| Analog 7 | AO7 | ||
| Relay 6 | W2/E | Emergency Heat (Optional) | BO6 |
| SC 4–6 | R | 24 VAC (for relay terminals 4–6) | |
| Relay 5 | W | Auxiliary Heat (Optional) | BO5 |
| Relay 4 | Y2 | Compressor 2 (Optional) | BO4 |
| Relay 3 | Y1 | Compressor 1 | BO3 |
| SC 1–3 | R | 24 VAC (for relay terminals 1–3) | |
| Relay 2 | O/B | Reversing Valve (see O/B Note in schematic) | BO2 |
| Relay 1 | G | Fan | BO1 |
| *If optional Outside Air Damper is used, must also have DAT/OAT inputs. | |||
Roof Top Unit (RTU)—
1 or 2 Heat and 1 or 2 Cool
NOTE: For MAT sensor use with firmware earlier than R2.1.0.18, see the FlexStat Economizer Change of MAT to DAT Service Bulletin available on the KMC Partners web site.


APPLICATION
DEGREES SCALE: °F APP: OPT: 1H/1C ADDITIONAL SETUP
ADDITIONAL SETUP
DAMPER FAN HUMIDITY OPTIMUM START SENSORS
| Input Terminals | RTU Input Connections | BACnet Objects |
| IN9 | Opt. Remote CO2 Sensor* | AI9 |
| IN8 | AI8 | |
| IN7 | Opt. Remote Temp. Sensor* | AI7 |
| IN4 | Opt. Outside Air Temp. (OAT)** | AI4 |
| IN3 | Opt. Discharge Air Temp. (DAT)** | AI3 |
| GND | Ground | |
| IN2 | Optional FST* | AI2 |
| *Fan Status (FST), Discharge Air Temperature (DAT), and (not shown on the diagram) remote temp./CO2 sensors are optional inputs. Set pull-up resistor switch positions appropriately (see the Input Connections section). **When using the optional Outside Air Damper, DAT/OAT inputs must also be connected. | ||
| Output Terminals | Typical Terminal Codes | RTU Output Connections (1 or 2 H and 1 or 2 C) | BACnet Objects |
| Analog 9 | Modulating OAD/RTD* | AO9 | |
| GND | Ground (for analog output terminals 7–9) | ||
| Analog 8 | AO8 | ||
| Analog 7 | AO7 | ||
| Relay 6 | Enable/Disable Economizer* | BO6 | |
| SC 4–6 | RH/R | 24 VAC (for relay terminals 4–6) | |
| Relay 5 | W2 | Heat 2 (Optional) | BO5 |
| Relay 4 | W1 | Heat 1 | BO4 |
| Relay 3 | Y2 | Cool 2 (Optional) | BO3 |
| SC 1–3 | RC/R | 24 VAC (for relay terminals 1–3) | |
| Relay 2 | Y1 | Cool 1 | BO2 |
| Relay 1 | G | Fan | BO1 |
| *If optional modulating Outside Air Damper or enable/disable Economizer is used, DAT/OAT inputs must also be connected. | |||
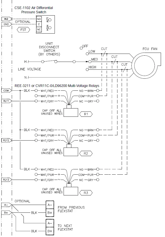
Fan Coil Unit (FCU)—
2 or 4 Pipe, Modulating or 2 Position
4-PIPE MODULATING OPTION
(See the FCU—Other Options section on the next page for more options)

NOTE: To see Humidity options in the Additional Setup menu, select the 4-Pipe option.

NOTE: In firmware earlier than R2.1.0.18, an option for a DAT on IN2 was available for a built-in trend log. For later firmware, use KMC Connect or TotalControl to create a custom trend if this is desired.

| Input Terminals | FCU Input Connections | BACnet Objects |
| IN9 | Opt. Remote CO2 Sensor* | AI9 |
| IN8 | AI8 | |
| IN7 | Opt. Remote Temp. Sensor* | AI7 |
| IN4 | AI4 | |
| IN3 | Supply Water Temp. (W-TMP)** | AI3 |
| GND | Ground | |
| IN2 | Optional FST* | AI2 |
| *Fan Status (FST) and (not shown on the diagram) remote temp./ CO2 sensors are optional inputs. Set pull-up resistor switch positions appropriately (see the Input Connections section). **W-TMP is for 2-pipe applications only (see drawings on the next page) | ||
APPLICATION DEGREES SCALE: °F APP: FAN COIL OPT: 4–PIPE ADDITIONAL SETUP
ADDITIONAL SETUP HUMIDITY OPTIMUM START SENSORS VALVE
| Output Terminals (BAC-12xxx63C) | FCU Output Connections | BACnet Objects | |
| 2-Pipe | 4-Pipe | ||
| Analog 9 | AO9 | ||
| GND | Ground (for analog output terminals 7–9) | ||
| Analog 8 | Heat Valve, Proportional (HTV) | AO8 | |
| Analog 7 | Valve, Proportional (VLV) | Cool Valve, Proportional (CLV) | AO7 |
| Relay 6 | BO6 | ||
| SC 4–6 | 24 VAC (for relay terminals 4–6) | ||
| Relay 5 | Heat Valve, 2-Position (HTV) | BO5 | |
| Relay 4 | Valve, 2-Position (VLV) | Cool Valve, 2-Position (CLV) | BO4 |
| Relay 3 | Fan 3 | BO3 | |
| SC 1–3 | 24 VAC (for relay terminals 1–3) | ||
| Relay 2 | Fan 2 | BO2 | |
| Relay 1 | Fan 1 | BO1 | |
Fan Coil Unit (FCU)—Other Options
NOTE: See the FCU—Overview section on the previous page for the 4-Pipe Modulating option and the general schematic.
(4-PIPE 2-POSITION FCU OPTION)

(2-PIPE MODULATING FCU OPTION)

(2-PIPE 2-POSITION FCU OPTION)

NOTE: In FCU firmware earlier than R2.1.0.18, an option for a DAT on IN2 was available for a built-in trend log. For later firmware, use KMC Connect, TotalControl, or KMC Converge to create a custom trend if this is desired.
Additional Resources
The latest support files are always available on the KMC Controls web site (www.kmccontrols.com). To see all available files, you will need to log-in to the Partners site
For specifications and accessories, see the BAC-12xxxx/13xxxx Series FlexStat Data Sheet.
For operation, configuration, troubleshooting, and other information, see the FlexStat Operation Guide.
For additional wiring, application, and programming information, see the FlexStat Application Guide.
For additional instructions on programming, see the Help system for KMC Connect, TotalControl, or KMC Converge.
Important Notices
The material in this document is for information purposes only. The contents and the product it describes are subject to change without notice. KMC Controls, Inc. makes no representations or warranties with respect to this document. In no event shall KMC Controls, Inc. be liable for any damages, direct or incidental, arising out of or related to the use of this document.
This device complies with Part 15 of the FCC Rules. Operation is subject to the following two conditions:
- This device may not cause harmful interference, and
- This device must accept any interference received, including interference that may cause undesired operation.
A BAC-12xxxx Class B digital apparatus complies with Canadian ICES-003. A BAC-13xxxx/14xxxx Class A digital apparatus com-plies with Canadian ICES-003 Class A.
KMC Controls, Inc.
19476 Industrial Drive
New Paris, IN 46553
574.831.5250; Fax 574.831.5252
www.kmccontrols.com
[email protected]



















