AGRAS T20
Quick Start Guide
v1.0

![]()
![]()
Aircraft
The AGRAS™ T20 features a brand-new design including a foldable frame and a quick-release spray tank and flight battery, making replacement, installation, and storage easy. The stable and reliable modular aerial-electronics system is integrated with a dedicated industrial flight controller, OCUSYNC™ 2.0 HD transmission system, and RTK module. It has dual IMUs and barometers and adopts a propulsion control system redundancy design including both digital and analog signals to ensure flight safety.
The GNSS+RTK dual-redundancy system is compatible with GPS, GLONASS, BeiDou, and Galileo. The T20 also supports centimeter-level positioning* when used with the onboard D-RTK™. Dual-antenna technology provides strong resistance against magnetic interference. The upgraded spraying system features an improvement in payload. It also has a 4-channel electromagnetic flow meter to ensure consistent spraying for all sprinklers. The new-generation omnidirectional digital radar provides functions such as terrain following and obstacle sensing and circumventing in all horizontal directions. The aircraft is equipped with a wide-angle FPV camera that enables users to observe the landscape from the front of the aircraft.
Due to its industrial design and material, the T20 is dustproof, waterproof, and corrosion-resistant. The aircraft has a protection rating of IPX6 (IEC standard 60529), while the protection rating of the aerial-electronics system, spray control system, propulsion ESC system, and radar module is up to IP67.

• Aircraft Front



Bottom View Right View Folded
- Propellers
- Motors
- ESCs
- Frame Arms
- Aircraft Front Indicators (on the three front arms)
- Hoses
- Sprinklers
- Electromagnetic Exhaust Valves
- Nozzles
- Aerial-Electronics System
- FPV Camera
- USB-C Port (on the bottom of the aerial-electronics system, under the waterproof cover)
- 4-Channel Electromagnetic Flow Meter
- Delivery Pumps
- Omnidirectional Digital Radar
- Landing Gear
- Spray Tank
- Battery Compartment
- OcuSync Antennas
- Onboard D-RTK Antennas
- Aircraft Status Indicators (on the three rear arms)
- Remote Controller Holder
* Must be used with a DJI D-RTK 2 High Precision GNSS Mobile Station (sold separately) or a DJI-approved Network RTK service.
Remote Controller
The Smart Controller 2.0 uses the DJI™ OcuSync 2.0 transmission system, has a maximum control distance of up to 5 km*, and supports Wi-Fi and Bluetooth functions. The remote controller is equipped with a 5.5-inch bright, dedicated screen that has the DJI Agras app built in, significantly improving smoothness and stability. When the RTK dongle is connected to the remote controller, users can plan operations to centimeter-level precision. The Multi-Aircraft Control mode* of the remote controller can be used to coordinate the operation of up to three aircraft at the same time, enabling pilots to work efficiently. Both the built-in battery and external battery can be used to supply power to the remote controller. The total working time is up to 4 hours, which fully meets the requirements for long and high-intensity operations.



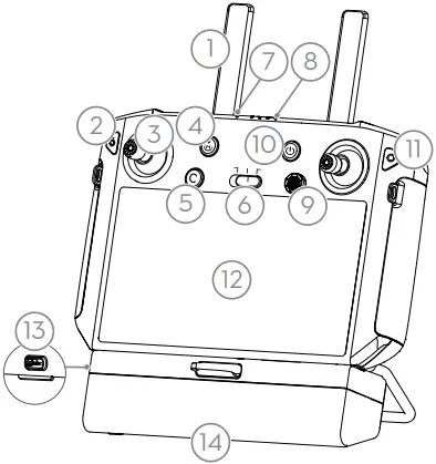
- Antennas
- Back Button / Function Button
- Control Sticks
- RTH Button
- Button C3 (customizable)
- Flight Mode Switch
- Status LED
- Battery Level LEDs
- 5D Button (customizable)
- Power Button
- Confirm Button
- Touch Screen
- USB-C Charging Port
- Dongle Compartment Cover
- Spray Rate Dial
- Spray Button
- HDMI Port
- microSD Card Slot
- USB-A Port
- FPV / Map Switch Button
- Work Efficiency Dial
- Air Outlet
- Button C1 (customizable)
- Button C2 (customizable)
- Battery Cover
- Battery Cover Release Button
- Handle
The figure below shows the function that each control stick movement performs, using Mode 2 as an example. In Mode 2, the left stick controls the aircraft’s altitude and heading, while the right stick controls its forward, backward, and left and right movements.
Left Stick Right Stick


* The remote controller is able to reach its maximum transmission distance (FCC / NCC: 5 km (3.11 mi); CE / KCC / MIC / SRRC: 3 km (1.86 mi)) in an open area with no electromagnetic interference, and at an altitude of approximately 2.5 m (8.2 ft). Make sure to comply with local laws and regulations when using Multi-Aircraft Control mode.
Fly Safe
It is important to understand some basic flight guidelines, both for your protection and for the safety of those around you.
- Flying in Open Areas: Pay attention to utility poles, power lines, and other obstacles. DO NOT fly near or above water, people, or animals.
- Maintain Control at All Times: Keep your hands on the remote controller and maintain control of your aircraft when it is in flight, even when using intelligent functions such as the Route and A-B Route operation modes and Smart Return to Home.
- Maintain Line of Sight: Maintain visual line of sight (VLOS) with your aircraft at all times and avoid flying behind buildings or other obstacles that may block your view.
- Monitor Your Altitude: For the safety of manned aircraft and other air traffic, fly at altitudes lower than 30 m (98 ft) and in accordance with all local laws and regulations.
Visit https://www.dji.com/flysafe for more information on critical safety features such as GEO zones.
Flying Considerations
- DO NOT use the aircraft to spray in winds exceeding 18 kph (11 mph).
- DO NOT use the aircraft in adverse weather conditions such as winds exceeding 28 kph (17 mph), heavy rain (precipitation rate exceeding 25 mm (0.98 in) in 12 hours), snow, or fog.
- The recommended maximum operating altitude is 2 km (6,560 ft) above sea level. DO NOT fly over 3 km (9,842 ft) above sea level.
- Once the operating altitude reaches 1 km (3,280 ft), the payload capacity of the spray tank is reduced by 2 kg. For every additional km, the payload capacity will reduce by a further 2 kg.
- Make sure that there is a strong GNSS signal and the D-RTK antennas are unobstructed during operation.
Return to Home (RTH)
The aircraft will automatically return to the Home Point in the following situations:
Smart RTH: You press the RTH button.
Failsafe RTH: The remote controller signal is lost.*
If there is an obstacle within 20 m of the aircraft, the aircraft decelerates and then stops and hovers. If the aircraft comes within 6 m of the obstacle while decelerating, the aircraft stops, flies backward to a distance of approximately 6 m from the obstacle, and hovers. The aircraft exits the RTH procedure and waits for further commands.

* If Failsafe RTH is disabled (the default setting in the DJI Agras app), the aircraft hovers in place when the remote controller signal is lost.

- Obstacle avoidance is disabled in Attitude mode (which the aircraft enters in situations such as when the GNSS signal is weak) and is not available if the operating environment is not suitable for the radar module. Extra caution is required in such situations.
Pesticide Usage
- Avoid the use of powder pesticides as much as possible as they may reduce the service life of the spraying system.
- Pesticides are poisonous and pose serious risks to safety. Only use them in strict accordance with their specifications.
- Use clean water to mix the pesticide and filter the mixed liquid before pouring into the spray tank to avoid blocking the strainer.
- Effective use of pesticides depends on pesticide density, spray rate, spray distance, aircraft speed, wind speed, and wind direction. Consider all factors when using pesticides.
- DO NOT compromise the safety of people, animals, or the environment during operation.
It is important to understand some basic flight guidelines, both for your protection and for the safety of those around you. Make sure to read the disclaimer and safety guidelines.
Using the T20
1. Preparing the Intelligent Flight Battery
Only use official DJI flight batteries (model: AB3-18000mAh-51.8V). Check the battery level before flying, and charge it according to the corresponding document.

2. Preparing the Aircraft

![]()
Unfold the M2 and M6 arms, and tighten the two arm sleeves.

![]()
Unfold the M3 and M5 arms followed by M1 and M4, and then tighten the four arm sleeves.

Unfold the propeller blades.

Insert the Intelligent Flight Battery into the aircraft until you hear a click.

- Make sure that the battery is firmly inserted into the aircraft. Only insert or remove the battery when the aircraft is powered off.
- To remove the battery, press and hold the clamp, and then lift the battery up.
- When folding the arms, make sure to fold the M3 and M5 arms first, and then the M2 and M6 arms. Otherwise, the arms may be damaged. Lift and lower the M1 and M4 arms gently to reduce wear and tear.
3. Preparing the Remote Controller
Charging the Batteries
Charge the external Intelligent Battery using the charging hub and AC power adapter. Charge the internal battery of the remote controller using the USB charger and USB-C cable. Fully charge the batteries before using for the first time.

- Charging Hub
- AC Power Adapter
- Power Outlet (100 – 240 V)
- USB Charger
Mounting the External Battery
- Press the battery cover release button on the back of the remote controller to open the cover.
- Insert the Intelligent Battery into the compartment and push it to the top.
- Close the cover.

A Battery Release Button
![]()
• To remove the Intelligent Battery, press and hold the battery release button, then push the battery downward.
Mounting the 4G Dongle and SIM Card
![]()
- Only use a DJI-approved dongle. The dongle supports various network standards. Use a SIM card that is compatible with the chosen mobile network provider, and select a mobile data plan according to the planned level of usage.
- The dongle and SIM card enable the remote controller to access specific networks and platforms, such as the DJI AG platform. Make sure to employ them correctly. Otherwise, network access will not be available.

![]()
Remove the dongle compartment cover.

![]()
Insert the dongle into the USB port with the SIM card inserted into the dongle, and test the dongle.*

Reattach the cover firmly.
* Test procedure: Press the remote controller power button once, then press again and hold to power the remote controller on. In DJI Agras, tap
, and select Network Diagnostics. The dongle and SIM card are functioning properly if the status of all the devices in the network chain are shown in green.
Mounting the RTK Dongle
When using the RTK planning method to plan the operation area, attach the RTK dongle to the USB-A port on the remote controller.

Checking the Battery Levels


Press the power button on the remote controller once to check the internal battery level. Press once, then press again and hold for two seconds to power on or off.
Press the battery level button on the external Intelligent Battery once to check the battery level.
![]()
- When using an external Intelligent Battery, it is still necessary to make sure that the internal battery has some power. Otherwise, the remote controller cannot be powered on.
Adjusting the Antennas
Lift the antennas and adjust them. The strength of the remote controller signal is affected by the position of the antennas. When the angle between the antennas and the back of the remote controller is 80° or 180°, the connection between the remote controller and aircraft can reach its optimal performance.

Try to keep the aircraft inside the optimal transmission zone. If the signal is weak, adjust the antennas or fly the aircraft closer.
Optimal Transmission Zone
![]()
- Avoid using wireless devices that use the same frequency bands as the remote controller.
- If the RTK dongle is used for field planning, the module should be disconnected from the remote controller after planning is completed. Otherwise, it will affect the communication performance of the remote controller.
4. Getting Ready for Takeoff
A. Place the aircraft on open, flat ground with the aircraft rear facing toward you.
B. Make sure that the propellers are securely mounted, there are no foreign objects in or on the motors and propellers, the propeller blades and arms are unfolded, and the arm sleeves are firmly tightened.
C. Make sure that the spray tank and flight battery are firmly in place.
D. Pour liquid into the spray tank, and tighten the cover. Make sure that the four lines on the cover are aligned to the horizontal or vertical direction.
E. Power on the remote controller, make sure that the DJI Agras app is open, and then power on the aircraft.

![]()
Internet
- When using for the first time, activate the aircraft using the DJI Agras app. Your DJI account and an internet connection Internet are required.
Calibrating the Compass
When the app prompts that compass calibration is required, tap
, then
, slide to the bottom, and select Advanced Settings, then Sensors. Tap Calibration in the compass calibration section, then follow the on-screen instructions.
![]()
- DO NOT calibrate your compass where there is a chance of strong magnetic interference. This includes areas where there are utility poles or walls with steel reinforcements.
- DO NOT carry ferromagnetic materials with you during calibration such as keys or mobile phones.
Calibrating the Flow Meter
Make sure to calibrate the flow meter before your first operation. Otherwise, the spraying performance may be adversely affected.
A. Preparation before calibration: Discharging the bubbles in the hoses
1 Fill the spray tank with approximately 2 L of water.
2 Use the automatic bubbles discharge function to discharge the bubbles according to the descriptions in the Discharging the Bubbles in the Hoses section below. Users can also manually discharge the bubbles. Press the spray button to spray the bubbles and press the button again once all bubbles are discharged.
B. Flow Meter Calibration
1 In the app, tap Execute Operation to enter Operation View. Tap
, then
, and tap Calibration on the right of the flow meter section.
2 Calibration starts automatically. After 25 seconds, the result of the calibration is displayed in the app.
• After calibrating successfully, users can proceed with the operation.
• If calibration fails, tap “?” to view and resolve the problem. Afterward, recalibrate.
Discharging the Bubbles in the Hoses
The T20 features an automatic bubbles discharge function. When it is necessary to discharge bubbles, press and hold the spray button for two seconds. The aircraft will discharge automatically until the bubbles are fully discharged.
5. Flight
In the app, go to Operation View. Make sure that there is a strong GNSS signal, and the system status bar indicates Manual Route (GNSS) or Manual Route (RTK).* Otherwise, the aircraft cannot take off. It is recommended to create a plan for a field and select an operation to enable the aircraft to take off and perform the operation automatically. Refer to the Starting Operations section for more information. In other cases, take off and land manually.
Takeoff
Perform a Combination Stick Command (CSC) and push the throttle stick up to take off.

- Throttle Stick (left stick in Mode 2)
Landing
To land, pull down on the throttle stick to descend until the aircraft touches the ground. There are two methods to stop the motors.
Method 1: When the aircraft has landed, push and hold the throttle stick down. The motors will stop after three seconds.
Method 2: When the aircraft has landed, push the throttle stick down, and perform the same CSC that was used to start the motors. Release both sticks once the motors have stopped.
* RTK positioning is recommended. In the app, go to Operation View, tap
, then RTK to enable Aircraft RTK, and select a method for receiving RTK signals.

Method 1 Method 2
![]()
- Spinning propellers can be dangerous. Stay away from spinning propellers and motors. DO NOT start the motors in confined spaces or when there are people nearby.
- Keep your hands on the remote controller when the motors are spinning.
- DO NOT stop the motors mid-flight unless in an emergency situation where doing so will reduce the risk of damage or injury.
- Method 1 is the recommended method for stopping the motors. When using Method 2 to stop the motors, the aircraft may roll over if it is not completely grounded. Use Method 2 with caution.
- After landing, power off the aircraft before turning off the remote controller.
Starting Operations
After the operation area and obstacles have been measured and settings have been configured, DJI Agras uses a built-in intelligent operation planning system to produce a flight route based on the user’s input. Users can invoke an operation after planning a field. The aircraft will begin the operation automatically and follow the planned flight route.
In scenarios with complicated terrain, users can use the Phantom 4 RTK and DJI TERRA™ to plan 3D flight routes, and then import the routes to the DJI Agras app for operation. Refer to the Agras T20 User Manual for more information.
Field Planning
The DJI Agras app supports flight route planning by flying the aircraft to waypoints, obstacles, and calibration points or by walking to these points carrying a remote controller, a remote controller with an RTK dongle, or an RTK device. The following route has been planned by walking to the points with a remote controller that has a RTK dongle connected. Before planning, make sure that the RTK dongle is mounted to the remote controller.

![]()
Power on the remote controller. Launch DJI Agras.

![]()
Tap Plan Field, select Walk with RTK, then Walk with RTK Dongle.

![]()
In RTK settings, select a method for receiving RTK signals and configure corresponding settings. Make sure the aircraft status bar on top of the screen is green.

![]()
Walk with the remote controller alongside the boundary of the operation area and tap Add Waypoint C2 at turning points.

![]()
Walk to each obstacle* in turn and tap Obstacle Mode C1.*

![]()
Walk around the obstacle and tap Add Obstacle C2 at several points around the obstacle.*

![]()
Tap Waypoint Mode C1 to return to add edge points to the operation area.

![]()
Walk to the location of each calibration point and tap Calibration Point.

![]()
The waypoints and flight route can be edited. Fine-tune waypoint positions, configure distance and line spacing, and adjust the route direction by tapping or dragging the
icon.

![]()
Save the field plan.
Once you have finished planning, tap
in the upper left corner of the screen to return to the home screen.
* If any obstacles are in the operation area.
![]()
- Calibration points are used to rectify flight route biases caused by positioning deviations. Choose one or more fixed reference points for calibration like a metal peg or obvious marker that is easy to identify for bias rectification when using the operation.
Performing an Operation

![]()
Take the aircraft to one of the calibration points.

![]()
Tap Execute Operation in the home screen of the app.

![]()
Tap
, select the field from the field list.

![]()
Tap Edit to edit the waypoints and flight route again.

![]()
Tap Invoke, and then tap Rectify Offset.

![]()
Tap Start.

![]()
Set the operation parameters, then confirm.

Set the auto-takeoff height and move the slider to take off. The aircraft will perform the operation automatically.
![]()
- Only take off in open areas and set an appropriate auto-takeoff height according to the operating environment.
- An operation can be paused by moving the control stick slightly. The aircraft will hover and record the breakpoint, and then the aircraft can be controlled manually. To continue the operation, select it again from the Executing tag in
list, and the aircraft will return to the breakpoint automatically and resume the operation. Pay attention to aircraft safety when returning to a breakpoint. - In Route Operation mode, the aircraft is able to circumvent obstacles, which is disabled by default and can be enabled in the app. If the function is enabled and the aircraft detects obstacles, the aircraft will slow down and circumvent the obstacles, and then return to the original flight path.
- Users can set the action the aircraft will perform after the operation is completed in the app.
More Operation Modes
Refer to the Agras T20 User Manual for more information about the A-B Route, Manual, and Manual Plus Operation modes.
More Functions

Operation Resumption System Data Protection Empty Tank
Refer to the Agras T20 User Manual for more information.
6. Maintenance
Clean all parts of the aircraft and remote controller daily and immediately after spraying:
- Fill the spray tank with clean water or soapy water and spray the water through the nozzles until the tank is empty. Repeat the step two more times.
- Detach the spray tank and spray tank connector to clean them. Remove the spray tank strainer, nozzle strainers, and nozzles to clean them and clear any blockage. Afterwards, immerse them in clean water for 12 hours.
- Use a water-filled spray washer to clean the aircraft body and wipe it with a soft brush or wet cloth before cleaning water stains with a dry cloth.
- If there is dust or pesticide liquid on the motors and propellers, wipe them with a wet cloth before cleaning water stains with a dry cloth.
- Wipe the surface and screen of the remote controller with a clean wet cloth that has been wrung out with water daily after operations.
Refer to the disclaimer and safety guidelines for more information on product maintenance.
Specifications
| ● Product Model | 3WWDZ-15.1B |
| ● Airframe | |
| Max Diagonal Wheelbase | 1883 mm |
| Dimensions | 2509×2213×732 mm (Arms and propellers unfolded) 1795×1510×732 mm (Arms unfolded and propellers folded) 1100×570×732 mm (Arms and propellers folded) |
| ● Propulsion System | |
| Motors | |
| Stator Size | 100×15 mm |
| KV | 75 rpm/V |
| Max Thrust | 13.5 kg/rotor |
| Max Power | 2400 W/rotor |
| Weight | 666 g |
| ESCs | |
| Max Working Current (Continuous) | 40 A |
| Max Working Voltage | 58.8 V (14S LiPo) |
| Foldable Propellers (R3390) | |
| Diameter × Pitch | 33×9 in |
| Weight (Single propeller) | 90 g |
| ● Spraying System | |
| Spray Tank | |
| Volume | Full: 20 L |
| Operating Payload | Full: 20 kg |
| Nozzles | |
| Model | XR11001VS (Standard); XR110015VS, XR11002VS (Optional, purchase separately) |
| Quantity | 8 |
| Max Spray Rate | XR11001VS: 3.6 L/min, XR110015VS: 4.8 L/min, XR11002VS: 6 L/min |
| Spray Width | 4 – 7 m (8 nozzles, at a height of 2 – 3 m above crops) |
| Droplet Size | XR11001VS: 130 – 250 μm, XR110015VS: 170 – 265 μm, XR11002VS: 190 – 300 μm (Subject to operating environment and spray rate) |
| Flow Meter | |
| Measurement Range | 0.25 – 20 L/min |
| Error | < ±2% |
| Measurable Liquid | Conductivity > 50 μS/cm (Liquids such as tap water or pesticides that contain water) |
| ● Omnidirectional Digital Radar | |
| Model | RD2428R |
| Operating Frequency | CE / FCC / NCC: 24.05 – 24.25 GHz MIC / KCC: 24.05 – 24.25 GHz |
| Transmitter Power (EIRP) | MIC / KCC / CE / FCC / NCC: < 20 dBm |
| Power Consumption | 18 W |
| Altitude Detection & Terrain | Altitude detection range: 1 – 30 m |
| Follow[1] | Stabilization working range: 1.5 – 15 m Max slope in Mountain mode: 35° |
| Obstacle Avoidance System[1] | Obstacle sensing range: 1.5 – 30 m FOV: Horizontal: 360°, Vertical: ±15° Working conditions: Flying higher than 1.5 m over the surface below at a speed lower than 7 m/s Safety distance: 2.5 m (Distance between the front of propellers and the obstacle after braking) Obstacle avoidance direction: Omnidirectional obstacle avoidance in the horizontal direction |
| IP Rating | IP67 |
| ● FPV Camera | |
| FOV | Horizontal: 98°, Vertical: 78° |
| Resolution | 1280×960 30fps |
| FPV Spotlight | FOV: 110°, Max brightness: 12 lux at 5 m of direct light |
| ● Flight Parameters | |
| OcuSync 2.0 Operating | CE / MIC / KCC / FCC / NCC / SRRC: 2.4000 – 2.4835 GHz |
| Frequency[2] | FCC / NCC / SRRC: 5.725 – 5.850 GHz |
| OcuSync 2.0 Transmitter Power (EIRP | 2.4 GHz SRRC / CE / MIC / KCC: 18.5 dBm, FCC / NCC: 25.5 dBm 5.8 GHz SRRC / FCC / NCC: 25.5 dBm |
| Total Weight (Excluding battery) | 21.1 kg |
| Max Takeoff Weight | 47.5 kg (At sea level) |
| Max Thrust-Weight Ratio | 1.70 (Takeoff weight of 47.5 kg) |
| Hovering Accuracy Range (With strong GNSS signal) | D-RTK enabled: Horizontal: ±10 cm, Vertical: ±10 cm D-RTK disabled: Horizontal: ±0.6 m, Vertical: ±0.3 m (Radar module enabled: ±0.1 m) |
| RTK / GNSS Operating | RTK: GPS L1/L2, GLONASS F1/F2, BeiDou B1/B2, Galileo E1/E5[3] |
| Frequency | GNSS: GPS L1, GLONASS F1, Galileo E1[3] |
| Battery | DJI-approved flight battery (AB3-18000mAh-51.8V) |
| Max Power Consumption | 8300 W |
| Hovering Power Consumption | 6200 W (Takeoff weight of 47.5 kg) |
| Hovering Time[4] | 15 min (Takeoff weight of 27.5 kg with an 18000 mAh battery) 10 min (Takeoff weight of 42.6 kg with an 18000 mAh battery) |
| Max Tilt Angle | 15° |
| Max Operating Speed | 7 m/s |
| Max Flying Speed | 10 m/s (With a strong GNSS signal) |
| Max Wind Resistance | 8 m/s |
| Max Service Ceiling Above Sea Level | 2000 m |
| Recommended Operating Temperature | 0° to 40° C (32° to 104° F) |
| ● Remte Controller | |
| Model | RM500-AG |
| Screen | 5.5-inch screen, 1920×1080, 1000 cd/m2 , Android system |
| RAM | 4 GB LPDDR4 |
| ROM | 32 GB + scalable storage; microSD cards supported; Max Capacity: 128 GB. UHS-I Speed Grade 3 rating required |
| Built-in Battery | 18650 Li-ion (5000 mAh @ 7.2 V) |
| GNSS | GPS+GLONASS |
| Power Consumption | 18 W |
| Operating Temperature | -10° to 40° C (14° to 104° F) |
| Charging Temperature | 5° to 40° C (40° to 104° F) |
| Storage Temperature | -30° to 25° C (-22° to 77° F) |
| OcuSync 2.0 | |
| Operating Frequency[2] | CE / MIC / KCC / FCC / NCC / SRRC: 2.4000 – 2.4835 GHz FCC / NCC / SRRC: 5.725 – 5.850 GHz |
| Max Transmission Distance | FCC / NCC: 5 km, SRRC / MIC/ KCC / CE: 3 km (Unobstructed, free of interference) |
| Transmitter Power (EIRP) | 2.4 GHz SRRC / CE / MIC / KCC: 18.5 dBm, FCC / NCC: 25.5 dBm 5.8 GHz SRRC / FCC / NCC: 25.5 dBm |
| Wi-Fi Protocol | Wi-Fi Direct, Wi-Fi Display, 802.11a/g/n/ac. Wi-Fi with 2×2 MIMO is supported |
| Operating Frequency[2] | 2.4000 – 2.4835 GHz 5.150 – 5.250 GHz 5.725 – 5.850 GHz |
| Transmitter Power (EIRP) | 2.4 GHz SRRC / CE: 18.5 dBm, FCC / NCC / MIC / KCC: 20.5 dBm 5.2 GHz SRRC / FCC / NCC / CE / MIC: 14 dBm, KCC: 10 dBm 5.8 GHz SRRC / FCC / NCC: 18 dBm, CE / KCC: 12 dBm |
| Bluetooth | |
| Protocol | Bluetooth 4.2 |
| Operating Frequency | 2.4000 – 2.4835 GHz |
| Transmitter Power (EIRP) | SRRC / FCC / NCC / CE / MIC / KCC: 6.5 dBm |
| ● Remote Controller Intelligent Battery | |
| Model | WB37-4920mAh-7.6V |
| Battery Type | 2S LiPo |
| Capacity | 4920 mAh |
| Voltage | 7.6 V |
| Energy | 37.39 Wh |
| Charging Temperature | 5° to 40° C (40° to 104° F) |
| ● Intelligent Battery Charging Hub | |
| Model | WCH2 |
| Input Voltage | 17.3 – 26.2 V |
| Output Voltage and Current | 8.7 V, 6 A |
| Operating Temperature | 5° to 40° C (40° to 104° F |
| ● AC Power Adapter | |
| Model | A14-057N1A |
| Input Voltage | 100 – 240 V, 50/60 Hz |
| Output Voltage | 17.4 V |
| Rated Power | 57 W |
[1] The effective radar range varies depending on the material, position, shape, and other properties of the obstacle.
[2] Local regulations in some countries prohibit the use of the 5.8 GHz and 5.2 GHz frequencies. In some countries, the 5.2 GHz frequency band is only allowed for indoor use.
[3] Support for Galileo will be available at a later date.
[4] Hovering time acquired at sea level with wind speeds lower than 3 m/s.
Download the Agras T20 User Manual for more information:
http://www.dji.com/t20
※ The content is subject to change without prior notice.
AGRAS and
are trademarks of DJI. Copyright © 2020 DJI All Rights Reserved.
Printed in China.
For the latest information on Agras products, scan the Facebook or YouTube QR code.
AGRAS T20
https://www.dji.com/t20/downloads

35PDT2RMDY02





















