r-go Riser Attachable Ergonomic Laptop Stand

Product overview
- R-Go Riser Attachable
- 3M Dual Lock sticker 4x
- Foam sticker square 4x
- Foam sticker round 1x
- Foam sticker oval 2x
- Rubber antislip cap 4x

Setup
Step A
Place the rubber antislip caps on the corners of the logo side of the tablet stand.

Parts needed

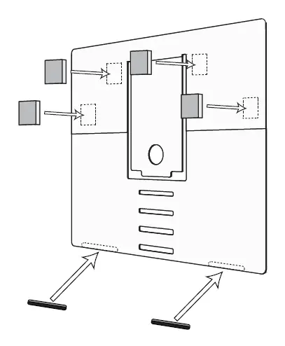
Step B
Turn the stand, and place the 3M Dual Lock stickers and rectangular foam stickers on the indicated places on the stand.
Parts needed

Step C
Peel off the protection layer of the 3M Dual Lock stickers.

Optional If your laptop has large anti-slip pads sticking out, you can add extra square foam stickers to fill up the excesive space.
Place the foam stickers on top of the 3M Dual Lock stickers. Caution: place the foam stickers on the 3M Dual Lock stickers in such a way that the peel-off layer is on the top side, see below*.
Parts needed

Step D
Place the laptop stand on the bottom side of your laptop.

Step E
Place the blue round foam sticker in the hole of the laptop stand with protection layer removed. Press down the laptop stand, making sure that the sticker stays properly on the bottom of the laptop. You can open the laptop stand again. It is now ready for use!
Parts needed

Final product


















