

User Manual
PCE-RT 1200 / PCE-RT 2000 / PCE-RT 2200 Roughness Tester
![]() | User manuals in various languages can be found by using our product search on: www.pce-instruments.com |
| http://www.pce-instruments.com | |
Safety notes
Please read this manual carefully and completely before you use the device for the first time. The device may only be used by qualified personnel and repaired by PCE Instruments personnel. Damage or injuries caused by non-observance of the manual are excluded from our liability and not covered by our warranty.
- The device must only be used as described in this instruction manual. If used otherwise, this can cause dangerous situations for the user and damage to the meter.
- The instrument may only be used in the environmental conditions (temperature, relative humidity, …) within the ranges stated in the technical specifications. Do not expose the device to extreme temperatures, direct sunlight, extreme humidity, or moisture.
- Do not expose the device to shocks or strong vibrations.
- The case should only be opened by qualified PCE Instruments personnel.
- Never use the instrument when your hands are wet.
- You must not make any technical changes to the device.
- The appliance should only be cleaned with a damp cloth. Use only pH-neutral cleaner, no abrasives or solvents.
- The device must only be used with accessories from PCE Instruments or equivalent.
- Before each use, inspect the case for visible damage. If any damage is visible, do not use the device.
- The sensor is a sensitive device that needs protection and extra care. Please put the sensor back into the box after using it.
- The device may also not be used in heavy dusty, oily areas and strong magnetic fields.
- Do not use the instrument in explosive atmospheres.
- The measurement range as stated in the specifications must not be exceeded under any circumstances.
- Non-observance of the safety notes can cause damage to the device and injuries to the user.
We do not assume liability for printing errors or any other mistakes in this manual.
We expressly point to our general guarantee terms which can be found in our general terms of business.
If you have any questions please contact PCE Instruments. The contact details can be found at the end of this manual.
Specifications
2.1 Technical specifications of the PCE-RT 1200
2.1.1 Sensor
| Testing principle | Inductance Type |
| Measurement Range | 200 μm |
| Stylus tip radius | 5 μm |
| Stylus tip material | Diamond |
| Maximum recommended static measuring force | 4 mN (0.4 gf) |
| Conical stylus with a spherical tip angle | 90 ° |
| Longitudinal guide head radius | 45 mm |
| Standards | ANSIB46.1/ASMEB46.1 (DIN EN ISO 4287) |
2.1.2 Driving parameters
| Maximum driving distance | 15 mm |
| Driving speed during measurement | sampling length = 0.25mm: Vt=0.135mm/s sampling length = 0.8mm: Vt=0.5mm/s sampling length = 2.5mm: Vt=1mm/s |
| Driving speed during retraction | V=1mm/s |
| Indication error | < ±10% |
| Indication repeatability | < 6% |
2.1.3 Measurement range
| Parameter | Measurement range |
| Ra | 0.005 µm … 16 μm |
| Rq | 0.005 µm … 16 μm |
| Rz | 0.02 µm … 200 μm |
| Rt | 0.02 µm … 200 μm |
2.1.4 Scope of delivery
| Article | Amount |
| Roughness tester | 1 |
| Stylus tip | 1 |
| Protection for the stylus tip | 1 |
| Mounting device | 1 |
| Calibration plate | 1 |
| Roughness standard | 1 |
| USB-cable | 1 |
| Charging adaptor | 1 |
| Carrying case | 1 |
| Mounting screws | 6 |
| User manual | 1 |
The PC software can be downloaded here:
https://www.pce-instruments.com/english/download-win_4.htm
2.2 Technical specifications of the PCE-RT 2000
2.2.1 Sensor
| Testing principle | Inductance Type |
| Measurement Range | 200 μm |
| Stylus tip radius | 5 μm |
| Stylus tip material | Diamond |
| Maximum recommended static measuring force | 4 mN (0.4 gf) |
| Conical stylus with a spherical tip angle | 90 ° |
| Longitudinal guide head radius | 45 mm |
| Standards | ANSIB46.1/ASMEB46.1 (DIN EN ISO 4287) |
2.2.2 Driving parameters
| Maximum driving distance | 15 mm |
| Driving speed during measurement | sampling length = 0.25mm: Vt=0.135mm/s sampling length = 0.8mm: Vt=0.5mm/s sampling length = 2.5mm: Vt=1mm/s |
| Driving speed during retraction | V=1mm/s |
| Indication error | < ±10% |
| Indication repeatability | < 6% |
2.2.3 Measurement range
| Measurement parameter | Measurement range |
| Ra | 0.005 µm … 16 µm |
| Rq | 0.005 µm … 16 µm |
| Rsm | 5 µm … 1000 µm |
| Rsk | -1 … +1 |
| Rz | 0.02 µm … 200 µm |
| Rt | 0.02 µm … 200 µm |
| Rp | 0.02 µm … 200 µm |
| Rv | 0.02 µm … 200 µm |
| Rc | 0.05 µm … 16 µm |
2.2.4 Scope of delivery
| Article | Amount |
| Roughness tester | 1 |
| Stylus tip | 1 |
| Protection for stylus tip | 1 |
| Mounting device | 1 |
| Calibration plate | 1 |
| Roughness standard | 1 |
| USB-cable | 1 |
| Charging adaptor | 1 |
| Carrying case | 1 |
| Mounting screws | 6 |
| User manual | 1 |
The PC software can be downloaded here:
https://www.pce-instruments.com/english/download-win_4.htm
2.3 Technical specifications of the PCE-RT 2200
2.3.1 Sensor
| Testing principle | Inductance Type |
| Measurement Range | 200 μm |
| Stylus tip radius | 5 μm |
| Stylus tip material | Diamond |
| Maximum recommended static measuring force | 4 mN (0.4 gf) |
| Conical stylus with a spherical tip angle | 90 ° |
| Longitudinal guide head radius | 45 mm |
| Standards | ANSIB46.1/ASMEB46.1 (DIN EN ISO 4287) |
2.3.2 Driving parameters
| Maximum driving distance | 15 mm |
| Driving speed during measurement | sampling length = 0.25mm: Vt=0.135mm/s sampling length = 0.8mm: Vt=0.5mm/s sampling length = 2.5mm: Vt=1mm/s |
| Driving speed during retraction | V=1mm/s |
| Indication error | < ±10% |
| Indication repeatability | < 6% |
2.3.3 Measurement range
| Measurement parameter | Measurement range |
| Ra | 0.005 μm … 16 μm |
| Rq | 0.005 μm … 16 μm |
| Rsm | 5 μm … 1000 μm |
| Rsk | -1 … +1 |
| Rz | 0.02 μm … 200 μm |
| Rt | 0.02 μm … 200 μm |
| Rp | 0.02 μm … 200 μm |
| Rv | 0.02 μm … 200 μm |
| Rc | 0.005 μm … 16 μm |
| Rmax | 0.02 μm … 200 μm |
| Ry(JIS) | 0.02 μm … 200 μm |
| Rz(JIS) | 0.02 μm … 200 μm |
| Rp(ASME) | 0.02 μm … 200 μm |
| Rpm(ASME) | 0.02 μm … 200 μm |
| Rv(ASME) | 0.02 μm … 200 μm |
| R3z | 0.02 μm … 200 μm |
| R3zmax | 0.02 μm … 200 μm |
| Rz1max | 0.02 μm … 200 μm |
| Rmr(c) | 0 … 100 % |
| Rdc | 0.02 μm … 200 μm |
| Rmr | 0 … 100 % |
Note:
To view all measuring parameters, press the “Enter“ key after making a measurement.
2.3.4 Scope of delivery
| Article | Amount |
| Roughness tester | 1 |
| Stylus tip | 1 |
| Protection for the stylus tip | 1 |
| Mounting device | 1 |
| Calibration plate | 1 |
| Roughness standard | 1 |
| USB-cable | 1 |
| Charging adaptor | 1 |
| Carrying case | 1 |
| Mounting screws | 6 |
| User manual | 1 |
The PC software can be downloaded here:
https://www.pce-instruments.com/english/download-win_4.htm
2.4 Optional accessories
2.4.1 Measurement platform
Use the measurement platform to easily adjust the position between the instrument and the workpiece to be measured. This ensures a more flexible and stable operation and creates a bigger use scope and measures the roughness on the surface of complex shape parts. When the platform is used the needle position can be adjusted more precisely and it measures more smoothly. It is suggested to use the platform when the Ra value is expected to be small.

2.4.2 Extension bar
Use the extension bar to increase the sensor depth of the workpiece inside. The length of the extension bar is 50 mm.

System description
The roughness tester is suitable for laboratories and the production field. It is able to measure a variety of surface roughness of machined parts. Furthermore, it can calculate the corresponding parameters according to the selected measurement conditions and in addition to that, the measurement results are clearly shown on the OLED display as tables and graphics.
3.1 Device

- Screen
- Start key
- Esc key
- Up key
- Left key
- Power key
- Right key
- Enter key
- Down key
- Menu key

- Guide
- Stylus tip
- Main body
- Cover
- Plug
3.2 Interfaces

- USB interface
- Main switch
3.3 Display

- Record number
- Result
- Parameter
- GAUSS Filter
- Battery condition
- Unit
- Multiplied overall evaluation length
- Sampling length
Function keys
| Key | Name | Function |
| “Start” key | Measurement will start |
| “Esc” key | The menu will return to the upper level |
| “Up” key | Cursor moves up |
| “Left” key | Cursor moves to the left |
| “Power” key | The device is switched on by entering boot mode, The device is switched off |
| “Right” key | Cursor moves to the right |
| “Enter” key | Confirm |
| “Down” key | Cursor moves down |
| “Menu” key | Menu is entered |
Getting started
5.1 Power supply
5.1.1 Power on
When the device is in standby mode, hit the “Power”-key to start the instrument and enter the main menu.

Note: The battery switch has to be set to “ON”.
5.1.2 Power off
When the device is switched on, hit the “Power”-key to put the device into standby mode.
Note: If the instrument is not used for a longer period of time, please set the battery switch to “OFF”.
5.2 Preparation
– Check the battery voltage
– Clean the workpiece surface that needs to be tested
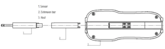
– Connect the sensor to the host with reference to the graphic below

– Make sure that the instrument is correctly placed on the workpiece surface that needs to be tested (figures below)

– The sensor movement must be vertical to the tested surface (figure below)

If measurements are not performed the correct way, the sensor and the device may suffer damage.
Operation
6.1 Measurement
By hitting the “Start”-key the measurement will start in any menu item. The instrument will measure according to the current operation. After the measurement is finished, it will return to the main screen. If the measurement has to be canceled, hit “Esc”-key
6.2 Further functions
6.2.1 Data management

When the instrument shows the main screen, hit the “Menu”-key to enter the main menu. Choose the submenu “Data”. If this is done the display shows the data management. Use the “Up” or “Down” keys to either choose “Test Data” or “Clear Data” and confirm your choice by hitting the “Enter” key. The point “Test Data” shows the gathered measurement data. “Clear Data” will delete all measurement data.
6.2.2 Check measurement data

The measurement data can be observed in two different ways:
– Main screen → Main menu → data management submenu →single record all parameters submenu
– Main screen → single record all parameters submenu (see image above)
6.2.3 Original and filter curve

–
In order to select the measurements to choose the desired set of data and hit “Enter”.
– Use the “UP” and “DOWN” keys to change the curve magnification. Magnification can be set to: 1x, 2x, 3x, 4x, 5x, 10x, 20x, 30x, 40x and 50x. The user can view the curve
which is demanded. By using the “right” or “Left” key the next graph can be selected.
The magnification is default 1x.
– Use “Up” or “Down” key to show the sampling lengths and the evaluation length.
– Use “Esc”-key to return to the level above.
6.2.4 Stylus Position

– Go to the main menu and then choose the submenu “Function” and select the point “Stylus Position”. Set the desired position. When this is done hit the “Esc”-key to return
to the level above.
6.2.5 Bluetooth connection (PCE-RT xxxxBT only)
To establish a Bluetooth connection with a mobile device, first, go to the relevant menu. Main menu>“Function“>“Bluetooth Config“
| Function | Description |
| Open Bluetooth for Print | Enables the Bluetooth connection and allows connection to a compatible Bluetooth printer. |
| Open Bluetooth for App | Enables the Bluetooth connection and allows connection to the free app. |
| Close Bluetooth | Disables the Bluetooth connection. |
The free app for Android systems can be found directly at the Google Play Store:
„PCE-RT xxxxBT series“
https://play.google.com/store/apps/details?id=com.pceinstruments.rtseries
Note: This function is only available for PCE-RT xxxxBT models.
6.2.6 Automatic shutdown

– Enter the main menu, select “Function” and go to the point “Time close”.
– The automatic shutdown can be selected. The user can either deactivate the automatic shutdown or set the automatic shutdown to 1 minute, 3 minutes, 5 minutes, 10 minutes, or 30 minutes.
– Confirm your choice using the “Enter”-key.
– Use the “Esc”-key to return to the main menu.
6.2.7 Restore factory settings

–
In order to avoid the wrong operations and deleting test data that shall not be deleted, the device double checks and asks for confirmation.
– Enter the main menu, go to “Function” and go to the point “Reset default”
– Hit the “Esc”-key to return to the higher level.
– By hitting the “Left”-key you can choose the YES button. Confirm your choice by hitting the “Enter”-key. hit the “Left”-key to choose the “No” button and confirm your choice by pressing the “Enter”-key. The memory will be cleared and no records will be left in the storage. The device will change to the main screen.
6.3 Settings
6.3.1 Measurement settings

– Enter the main menu and select “Config”
– Use the “Up” or “Down” key to select the parameters that you want to change. You will be able to set the parameters, the sampling length, and the evaluation length. The selected object will be highlighted in black.
– Use the “Enter”-key to scroll through the configuration options.
– Use the “Esc”-key to return to the main menu. The configuration options will automatically be saved.
Note:
– The following measurement parameters can be set::
– PCE-RT 1200: Ra / Rq / Rz / Rt
– PCE-RT 2000: Ra / Rq / Rsm / Rsk / Rz / Rt / Rp / Rv / Rc
– PCE-RT 2200: Ra / Rq / Rsm / Rz / Rt / Rp / Rv / Rc
Note:
To view all measuring parameters, press the “Enter“ key after making a measurement.
– The sampling length can be set to: 0,25 mm / 0,8 mm / 2,5 mm. 0,8 mm is set default.
– The evaluation length can be set to: 1 / 2 / 3 / 4 / 5. 5 is set default.
– The units can be set to: metric/inch. Metric is set to default
6.3.2 Ways to modify measurement parameters

– Go into the main menu, choose “Config” and use the “Enter”-key to switch between the units.
– Hit “Esc”-key to return to the main screen.
– You can also change the settings when the main screen is shown. Simply use the “Left” and “Right” keys to select the correct parameters and change them using the “Enter”-key.
Calibration
7.1 Result calibration

– Enter the main menu, choose “Function” and choose “Result Correct”. Use the “Up” or “Down” key to set your desired value. Confirm your setting using the “Enter”-key.
– Hit “Esc”-key to return to the main menu.
7.2 Stylus correct

– Enter the main menu and select “Stylus Correct”. Choose “Yes” or “No” in order to perform a correction of the stylus and confirm your choice using the “Enter”-key. The correction is performed when “Yes” is chosen and the device will then display the main screen again.
Warranty
You can read our warranty terms in our General Business Terms which you can find here: https://www.pce-instruments.com/english/terms.
Disposal
For the disposal of batteries in the EU, the 2006/66/EC directive of the European Parliament applies. Due to the contained pollutants, batteries must not be disposed of as household waste. They must be given to collection points designed for that purpose.
In order to comply with the EU directive 2012/19/EU, we take our devices back. We either re-use them or give them to a recycling company that disposes of the devices in line with the law.
For countries outside the EU, batteries, and devices should be disposed of in accordance with your local waste regulations.
If you have any questions, please contact PCE Instruments.
![]()
![]()
PCE Instruments contact information
United States of America
PCE Americas Inc.
711 Commerce Way suite 8
Jupiter / Palm Beach
33458 FL USA
Tel: +1 (561) 320-9162
Fax: +1 (561) 320-9176
[email protected]
www.pce-instruments.com/us
United Kingdom
PCE Instruments UK Ltd
Unit 11 Southpoint Business Park
Ensign Way, Southampton Hampshire
United Kingdom, SO31 4RF
Tel: +44 (0) 2380 98703 0
Fax: +44 (0) 2380 98703 9
[email protected]
www.pce-instruments.com/english
© PCE Instruments
Last change: 21 December 2020
v1.2
References
France.fr : Actualités, destinations et infos du tourisme en France
iberica.es
instruments.cn
Make an offer on the domain instruments.co.uk - Domains.co.uk
Computer Instruments | Home
Discover Italy: Official Tourism Website - Italia.it
PCE(北京)科技有限公司
Industrial Measurement Products and Solutions | PCE Instruments
Improtek LTDA Distribuidor oficial de PCE Instruments | PCE Instruments
PCE Deutschland GmbH Prüfgeräte vom Hersteller | PCE Instruments
PCE Brookhuis B.V. | PCE Instruments
PCE Americas Inc. : Test Instruments | PCE Instruments
PCE Iberica S.L. Instrumentación | PCE Instruments
PCE Instruments France | PCE Instruments
PCE Italia s.r.l. / Strumenti di Misura | PCE Instruments
PCE Teknik Cihazlar Paz. Tic. Ltd.Şti. | PCE Instruments
Download | PCE Instruments
PCE Americas Inc. : Test Instruments | PCE Instruments













