NORTH BAYOU AVF1800-70-1P Mobile TV Stand

AVF1800-10-1P
Multi-functional and professional mobile stand
- For TV panel: 55″-80″
- Maximum load capacity: 125 lbs/ 56.8 kg
- AV shelf max load: 10 lbs/ 4.5 kg
- Video tray max load: 10 lbs/ 4.5 kg
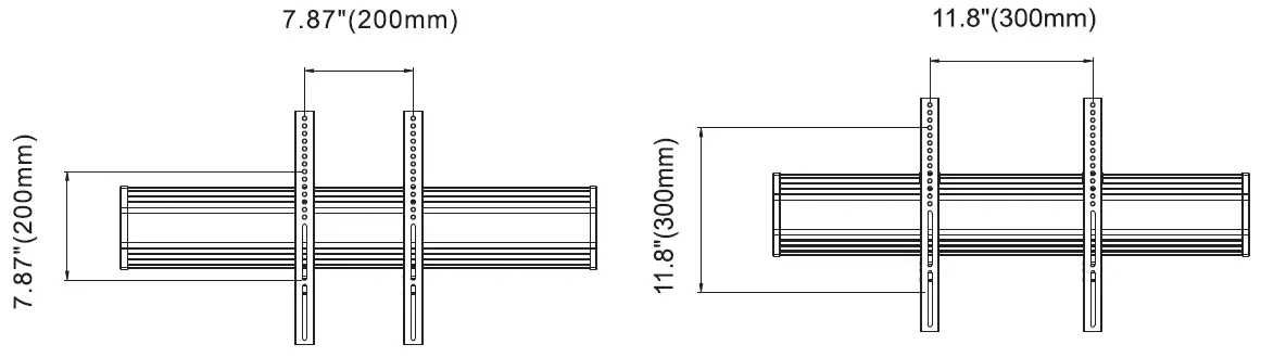
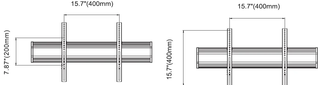
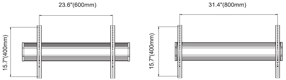
- VESA:200×200-800x400mm
Kunshan Hongjie Electronics Co., Ltd
Add:58, South of Xlrndng R.oad, Economic Development Zone. Kunshan Qty, Jiangsu Province, O,ina
TEL: 86-512-57971 ?TT
http://www.nbavmount.com.cn
FAX: 86-512-57970776
E-mail: [email protected]
We reserve the right to modify or alter instructions. No modification or alteration without formal notice.
* Can fit smaller or larger TVs depending upon VESA and TV weight.
WARNING!
Severe personal injury and property damage can result from improper installation or assembly. Read the following warning carefully before beginning.
- If you do not understand the instructions or have any concerns or questions, please contact a qualified local installer.
- Do not install or assemble if the product or hardware is damaged or missing, if you require replacement parts, please contact your local distributor for assistance.
- This product fits most 55″-80″ LCD/plasma screen; maximum weight of LCD/plasma screen: 125Ibs/56.8kg; AV shelf max load: 1 0lbs/4.5kg;Video tray max load : 1 0lbs/4.5kg.
- Do not use this product for anything other than the original design.
- This product contains moving parts, please use with caution.
- The manufacturer disclaims any liability for the modifications, improper installation, or installation over the specified weight range. The manufacturer will not be liable for any damages arising out of the use of, or inability to use, the product.
- All images are for reference, to prevail in product.
Manual
Tightening Direction
Loosening Direction
Phillips Screwdriver
Metre Rule
Adjustment
By Hand
Hex Wrench
+ Tightening- – Loosening
Parts List


Wheels to base installation
- Step 1:
Take sheet foam from box and lay it on floor.
- Step 2:
Put base upside down on sheet foam.
- Step 3

- Step 4

- Step 5
- Step 6

- Step 7:
Over turn base back to normal, release wheels lock and push aside.
Poles installation
- Step 1

- Step 2:
Release se 4 screw s from both sides slot.
- Step 3:
Pull upper pole to about 1350mm location.
- Step 4:
Tighten 4 screws both sides and put aside.
- Step 5:
Repeat steps 1 to 4 for right pole
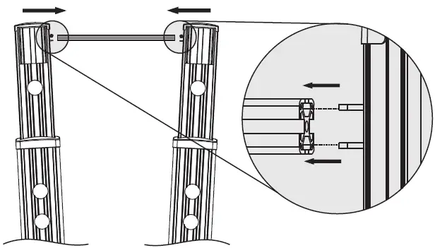
Cross bar to poles installation
- Step 1

- Step 2

- Slep3
Note:
Cable windows facing NB LOGO.
- Step 4

- Step 5

- Step 6
Caution:
Ensure screws are secured firmly.
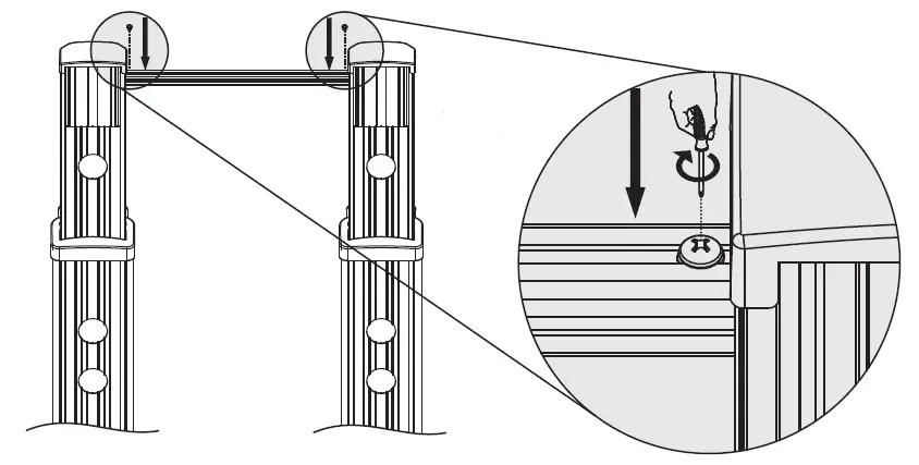
Poles to base installation
- Step 1

- Step 2
Caution: Ensure screws are secured firmly. - Step 3

- Step 4

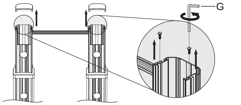
Interface adaptor to poles installation
- Step 1
- Step 2

- Step 3

- Step 4

- Step 5
Caution:
Ensure screws are secured firmly.
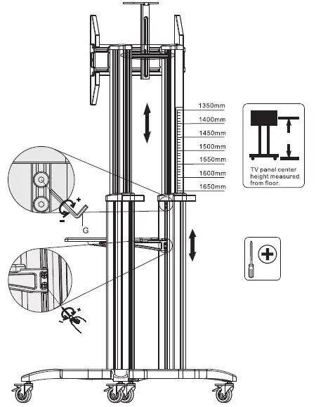
TV height adjustment

Caution: Need 2 men to adjust TV height! (TV adaptor)
- Step1. 1 man holds onto the TV adaptor, another release 8 screws from 2 poles as shown in fig 1.
- Step2. To set TV height, simply slide poles assembly up or down to your desire height using height indicator as guide as shown in fig 2. Step3. Tighten and secured 8 screws firmly.

AV shelf to stand installation
- Step 1

- Step 2

- Step 3
Note:
Insert into slots.
Caution:
Ensure screws are tighten and gripped firmly.
Wires and cables routing and management

Caution:
Be gentle when routing wires and cables to avoid damages.
VESA mounting patterns
( VESA: 200×200~800x400mm]



Selection of VESA mounting patterns
- Step 1

- Step2

- Step 3
Note:
To avoid damaging to TV, plastic spacers must be used when depth of mounting holes is at minimal

Mounting TV on interface

Caution: Push lock blade upward until it clicked on and locked.
Video tray installation
- Step 1

- Step 2

- Step 3

- Step 4

- Step 5

Caution:
Ensure screws are secured firmly.
TV center height and AV shelf height adjustment


Tightening Direction
Phillips Screwdriver
Metre Rule
Adjustment
By Hand
Hex Wrench
+ Tightening

















Caution: Ensure screws are secured firmly.



































