AOIKTYE SKB886S Wireless Shortcut Keypad for Procreate

Acknowledgment
Thankyou very much for using the keyboard provided by our company, please read this manual carefully before using this product
Caution
- Bluetooth version: Bluetooth 5.0
- Lithium battery capacity: 250mah
- Hibernation time:15minutes
- Working temperature: -10°C-~+55°C
- Low battery indication: Yes
- Operational distance: 10
- Dimension: 146.4″86*24.9mm
- Material: PC+ABS+Silicone
Charging the Device
- This Bluetooth keypad builds with a 250mAh rechargeable lithium battery. Please get it charged before the first usage
- If the Led indicator on the top left corner flashes in red color, please charge the keypad in time via supplied micro USB charging cable.
- The charging port is located above the keyboard, plug in the Micro USB The charging cable can start charging.
- Charging time is about 2 hours

Product Specifications
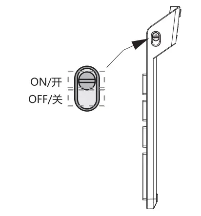
Keyboard Power Switch
Get It Started
- Push up On/Off button on the top to power on the keypad.

- Long press the
until the LED indicator light flashing into blue color, which means the keyboard has entered into pairing mode. - Run the Bluetooth Setup Assistant on your Pad and select “AOIKTYE” from the list for pairing connection
Note:
Try to pair them again if the pairing operation is failed.
Toggle the switch down to close the keyboard, and the keyboard enters the energy-saving state.
Common problem solutions
- Some keys cannot be used: the IPAD input method can be used by changing it to American English input method.
- The color sucking key in Procreate software cannot be used: operation preference Settings gesture controlstraw> 0+Apple Pencil
- How to active your onscreen keyboard. Please do the follewings in Ipad settings:Settings Accessibility
TouchAssistiveTouch show onscreen keyboard mouse Keys select “mouse Keys” close “mouse Keys”
More shortcut, more art Wireless shortcut keypad for Procreate
AOIKTYE Co.,LIMITED
ADD No.8,11th Floor, Wanghui Industrial Building,
29 Liuhe Street, San Po Kong,Kowloon,Hong Kong
Web: https://www.aoiktye.com
Twitter: https://twitter.com/aoiktye
Facebook: https://www.com/Aoiktye-106330841558250/
Mail: [email protected]























