CHICKEN PLUCKER
USE & MAINTENANCE 1516

IMPORTANT WARRANTY INFORMATION PLEASE READ
FILL OUT AND RETURN ENCLOSED WARRANTY CARD
THIS WARRANTY COVERS
Roots & Harvest Chicken Plucker #1516
THE WARRANTY IS EXTENDED TO THE ORIGINAL PURCHASER ONLY
WARNING ![]()
READ CAREFULLY AND UNDERSTAND ALL INSTRUCTIONS BEFORE OPERATING. FAILURE TO FOLLOW THE SAFETY RULES AND OTHER BASIC SAFETY PRECAUTIONS MAY RESULT IN SERIOUS PERSONAL INJURY. SAVE THESE INSTRUCTIONS IN A SAFE PLACE AND ON HAND SO THAT THEY CAN BE READ WHEN REQUIRED. KEEP THESE INSTRUCTIONS TO ASSIST IN FUTURE SERVICING.
GENERAL WARNINGS AND SAFETY INFORMATION 
IT IS IMPORTANT TO READ AND UNDERSTAND ALL OF THE INSTRUCTIONS AND SAFEGUARDS PRIOR TO USE Operate according to Operation Method and read the proper operation procedures before using. Please assemble and operate carefully, taking care, not to scratch skin. Please do not put your hands around the paddles to avoid any possible injury. Please read and follow all safety precautions in this instruction manual.
- Keep all loose clothing, away from moving parts when plucker is in use.
- Keep fingers and hair away from moving parts when plucker is in use.
- Turn the plucker off before unplugging it from the outlet.
- Always unplug the plucker when changing parts on the plucker.
- Unplug when assembling or disassembling the unit.
- Close supervision is necessary when any appliance is used near children.
- NEVER move the unit when it is running.
- DO NOT disassemble the plucker or place anything other than the chicken in the plucker during operation.
- DO NOT use the plucker if the power cord is broken. Please return the unit to Roots and Harvest.
- To protect against the risk of electrical shock do not put the base with motor assembly in water or other liquid.
- Unplug the unit when not in use, before putting on or taking off parts, and before cleaning.
- DO NOT operate any appliance with a damaged cord or plug or after the appliance malfunctions, or is dropped or damaged in any manner. Return appliance to the nearest authorized service facility for examination, repair, or electrical or mechanical adjustment.
- The use of attachments not recommended or sold by the manufacturer may cause fire, electric shock, or injury.
- DO NOT let the cord hang over the edge of the table or counter.
WARNING! ![]()
THE WARNINGS, CAUTIONS, AND INSTRUCTIONS DISCUSSED IN THIS MANUAL CAN NOT COVER ALL POSSIBLE CONDITIONS OR SITUATIONS THAT COULD OCCUR. IT MUST BE UNDERSTOOD BY THE OPERATOR THAT COMMON SENSE AND CAUTION ARE FACTORS THAT CAN NOT BE BUILT INTO THIS PRODUCT BUT MUST BE SUPPLIED BY THE OPERATOR.
SAVE THESE INSTRUCTIONS
WELCOME
Thank you and congratulations on purchasing a Roots & Harvest Chicken Plucker. Your plucker comes complete with everything you need to safely and easily pluck feathers. Please take a few minutes to read through this manual before installation and use. Your chicken plucker is made of the finest materials to ensure extended use for all of your de-feathering processing needs. Your plucker will provide many years of service with proper operation.
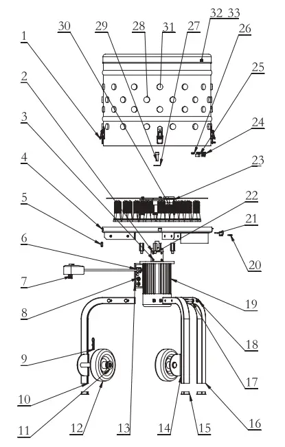
PARTS

| Part No. | Description | Qty. | Part No. | Description | Qty. |
| 1 | Buckle clamp | 4 | 18 | Nut M8 | 6 |
| 2 | Reducer | 1 | 19 | Motor assembly | 1 |
| 3 | Screw 2 | 4 | 20 | Screw M3x10 | 4 |
| 4 | Botten plate | 1 | 21 | Proximity switch | 1 |
| 5 | Flat key | 1 | 22 | Assy feather pan | 4 |
| 6 | Wire nail | 1 | 23 | Feather plate | 1 |
| 7 | Leakage protector | 1 | 24 | Washer | 1 |
| 8 | Over-current protector | 1 | 25 | Magnet | 1 |
| 9 | Clevis pin | 2 | 26 | Nut M3 | 2 |
| 10 | Left leg with wheel | 1 | 27 | Flat washer | 1 |
| 11 | Flat washer | 2 | 28 | Tub | 1 |
| 12 | Wheels | 2 | 29 | Bolt M8x30 | 1 |
| 13 | Power Switch on Motor | 1 | 30 | Screw 3 | 4 |
| 14 | Right leg with wheel | 1 | 31 | Plastic finger | 1 |
| 15 | Leg foot cap | 3 | 32 | Nut M6x14 | 1 |
| 16 | Leg | 1 | 33 | Bolt M6 | 1 |
| 17 | Bolt M8x50 | 6 |
ASSEMBLY
- Follow the instruction, install part #16, part #14, and part #10, and align the M8 bolts in part #17

- Follow the instruction, install part #23 feather plate, then install part #29 through into part

- Please install the tub to the bottom plate according to the arrow direction, and make the two arrows be directed at each other, so that the proximity switch is activated. Lock the tub and fasten the gourd buckle.

- Please install the Proximity Switch(Part#21) onto the ‘L’ Pin on the bottom plate, and use screws (part#21) and nuts (part#26) to fix it.

INSTRUCTIONS
BEFORE USE:
- Read and follow all instructions in this manual and warnings on the unit before starting.
- Dress appropriately when operating the machine.
- Removing all packing grease and oil from the surfaces.
- Dry all parts before re-assemble.
- Keep packing material for future storage of plucker.
- DO NOT allow children to operate this machine.
PLUCKING INSTRUCTIONS
- Make sure all safety features are operational, including the power switch and proximity switch.
- Check that all nuts and bolts are secure.
NOTE: All hardware (nuts, bolts, etc) should be checked for tightness before each use. The vibration of machines can cause them to loosen. - Keep electrical connections out of areas where water can pool.
- Each time the chicken plucker is plugged in, you must press the reset button on the leakage protector. The machine will not start without this step.
- Put the bird into scalding water. Water should be approximately 140-150 degrees Fahrenheit.
- It is recommended to mix soap with scalding water to make the oil on the birds’ feathers more easily break down. This will also allow the hot water to better penetrate the bird’s skin.
- Press the start button on the power switch and put the birds into the plucker. The maximum weight of chickens/birds to be plucked at one time is 16 lbs. Birds weighing more than 8 lbs. should not be put into the plucker.
- Drop the bird into the plucker and let the machining process until feathers are removed. A properly scalded bird will pluck in about 15-30 seconds.
- Turn off the chicken plucker when finished. NOTE: DO NOT retrieve the bird until the unit has come to a complete stop.
- Unplug the unit when you are done using the machine.
AFTER USE:
- Turn off and unplug the machine before cleaning up or disassembly.
- Keep hands out of the feather chute.
- Disassemble all parts and wash thoroughly in hot soapy water.
- You must remove all foreign material from all appliance parts.
- DO NOT use bleach or chlorine-based chemicals to clean. Discoloration of plastic parts can occur.
- Wipe down all nonstainless steel parts with a food-grade silicone spray. Alternatively, if silicone spray is not available, vegetable oil can be used. Silicone spray is the suggested lubricate to use. Unlike vegetable oil, silicone spray will not build up or become gummy. It lubricates and repels water and leaves a protective coating to keep rust
from forming. - DO NOT immerse motor housing in water. Damage to the motor can occur.
- It is best to keep the unit stored indoors or covered, not exposed to water or sunlight.
TROUBLESHOOTING
| Problem | Solution |
| Unit stop suddenly while working | Press the over-current protector button (Part #8), and press the power switch on the motor (Part #13). |
| Unit will not start | Press the reset button on the leakage protector (Part #7) every time when you plug in the unit. |
WARNING! SHARP BLADES ![]()
KEEP HANDS OUT OF THE FEATHER CHUTE. DO NOT ATTEMPT TO CLEAR FEATHERS OR OTHER DEBRIS FROM THE FEATHER CHUTE WHEN THE UNIT IS PLUGGED IN. TURN OFF AND UNPLUG THE UNIT BEFORE CLEANING OR REMOVING FOREIGN MATTER, SUCH AS BIRDS HEADS FROM THE PLUCKER.
WARRANTY DURATION: This product is warranted to the original purchaser for a period of one (1) year from the original purchase date. EACH UNIT COMES WITH A WARRANTY CARD, WHICH MUST BE FILLED OUT COMPLETELY AND RETURNED IMMEDIATELY, WITH A COPY OF THE PURCHASING RECEIPT. FAILURE TO RETURN YOUR WARRANTY CARD WILL LIMIT THE WARRANTY TO 90 DAYS WITH PROOF OF PURCHASE.
WARRANTY COVERAGE: This product is warranted against defective materials or workmanship. The warranty is void if the product has been damaged by accident, misuse, neglect, modification, or improper service or repairs by unauthorized personnel. It is also void if damaged in shipment or by other causes not arising out of defects in the materials or workmanship. This warranty does not extend to any units which have been in violation of the written instructions furnished. This warranty covers only the product and its specific parts, not food or other products processed in it.
WARRANTY DISCLAIMERS: This warranty is in lieu of all warranties expressed or implied, and no representative or person is authorized to assume any other liability in connection with the sale of our products. There shall be no claims for defects or failure of performance under any theory of sort, contract or commercial law including, but not limited to negligence, gross negligence, strict liability or breach of contract. The manufacturer declines all responsibility for damage to persons, things or animals arising from
the failure to comply with the norms contained in this manual. The manufacturer reserves the right to make modifications at any time to the models while maintaining the main characteristics described herein. The manufacturer also declines all responsibility for any errors in compiling this manual.
WARRANTY PERFORMANCE: During the above warranty period, a product with a defect will either be repaired or replaced after the product has been inspected by a Roots & Harvest Service Technician. ROOTS & HARVEST RESERVES THE RIGHT TO REFUSE WARRANTY PERFORMANCE OR PRODUCT EVALUATION UNLESS THE ORIGINAL SALES RECEIPT OR THE WARRANTY CARD IS ON FILE. The repaired product will be in warranty for the balance of the warranty period. No charge will be made for such repair or replacement.
IMPORTANT NOTICE: If any parts are missing or defective, please contact our Customer Service Department for assistance at 877-503-3457 (M-F 8:30 am to 4:30 pm EST). DO NOT RETURN TO THE STORE WHERE THE PRODUCT WAS PURCHASED. Roots & Harvest is not responsible for, or will not cover under warranty, missing or damaged parts on discounted/clearance, resale or final sale items where the seller may not be able to guarantee full functionality or completeness of the unit.
ROOTS & HARVEST PRODUCTS MERCHANDISE RETURN POLICY WARRANTY SERVICE: To obtain service under the terms of this warranty, please contact us at 877-509-3457 to obtain authorization prior to returning the merchandise. No merchandise will be accepted without prior authorization. Please return the product prepaid in the original packaging if possible, enclose a copy of your receipt, (keep a copy of your proof-of-purchase for your records), and include a written explanation of the issue. Ship to Roots and Harvest, 4440 Muhlhauser Road, Suite 300, West Chester, OH 45011. Roots & Harvest is not responsible for damage incurred in shipping, make certain to pack the product properly. Return shipping charges are the responsibility of the purchaser. Packages returned to Roots & Harvest should be insured for the value of the product to cover any damages that may occur during shipping.
ATTENTION:
IF ANY COMPONENTS OF THIS UNIT
ARE BROKEN, OR IF THE UNIT DOES NOT
OPERATE PROPERLY, PLEASE CONTACT
ROOTS AND HARVEST AT 877-509-3457
www.rootsandharvest.com
Roots and Harvest • West Chester, OH 45011 • 877-509-3457 • RootsandHarvest.com





















