LANDIG W 100 Stainless Steel Professional Meat Grinder Instructions
| Technical data | W 100 | W 200 | W 300 |
| Technical capacity | 100 kg/h | 150 kg/h | 200 kg/h |
| Mincing disc diameter | 6.12 cm | 6.12 cm | 6.95 cm |
| Max power | 790 W | 1955 W | 2645 W |
| Torque | 2.05 Nm | 2.5 Nm | 4.8 Nm |
| Dimensions in mm (Lx W x H) | 393 x 178 x 350 | 518 x 220 x 420 | 558 x 220 x 420 |
| Assembled weight | 8 kg | 16.7 kg | 19.4 kg |
| Voltage 230 V / 50 Hz |
Mince, just glorious!
The right meat mincer opens up new possibilities for preparing venison, because minced game meat is versatile and something for true gourmets. Making full use of the game is what counts here, because unpopular venison parts such as neck, shoulder, sections of ribs or, of course, whole pieces of the leg can also be used for this purpose. Good to know: Game can generally be processed like conventional meat. However, due to the lower fat content of the meat mass, it is advisable to add a certain amount of fat from domestic pig or wild boar. This makes for a juicy taste and better binding. The great feature: With the associated sausage filling funnel, the meat mincer can also be ideally used as a sausage filler.
The new mincer pack
Developed from decades of experience in the field of meat processing, with an eye for important details. For precise and hygienic work with maximum efficiency. All components that come into contact with food are made of high-quality and durable stainless steel and can be easily disassembled and cleaned in the dishwasher after mincing.
Good hunting and good luck!
Aaron, Andreas, Christian und Manfred Landig
Information about these instructions for use
These instructions for use provide you with important information on commissioning, safety, intended use and maintenance of the Landig mincer series.
Please ensure that these instructions are always available on the device so that everyone who works with them always has access to them. These instructions are particularly necessary for these activities:
- Commissioning
- Operation
- Cleaning the device
- Troubleshooting
Please keep these instructions for use and pass them on to the new owner if you sell the device. In addition, these instructions for use cannot take into account every conceivable aspect. For further information or problems that are not dealt with in these instructions or not dealt with in sufficient detail, please contact Landig Customer Service or your specialist dealer.
Safety instructions and warnings
Always follow these basic safety precautions when using electrical equipment:
IMPORTANT
Read these instructions for use as well as all warning notices and labels on the device carefully!
Check the scope of delivery for damage!
- Before using the meat mincer, check that all parts are working properly and that they are performing their intended functions. Check the alignment of the moving parts, the jamming of the moving parts, the assembly and any other conditions that may affect the operation.
- If parts, the power cable or the mincer attachment or motor are damaged, call customer service (see customer service page 27).
- Always pull the power plug out of the socket when you are not using the device.
- Also, always pull the power plug out of the socket before attaching or removing parts or accessories and before cleaning. Caution! There is an increased risk of injury!
- After unplugging the power cable, turn the power switch ON and then OFF to ensure that all power has been dissipated from the device.
WARNING
Never leave the meat mincer unattended while it is running!
WARNING
Never put food into the chute to the auger by hand during operation!
WARNING
Keep your fingers away from the auger and cutting blades during operation
WARNING
Never touch moving parts – this can lead to serious injuries!
IMPORTANT
Only use the pusher supplied!
- Wait until all moving parts have come to a standstill and switch off the device before removing any part from the meat mincer or switching the meat mincer into reverse operation (from model W 300 onwards).
- Tie back any loose hair, clothing or other loose items and roll up long sleeves before operating the meat mincer.
- Remove ties, rings, watches, bracelets or other jewellery before operating the device.
- Never operate the device with a damaged cable or plug or after a malfunction.
WARNING
Use only the original power cable!
- Do not use the device outdoors, it is only intended for indoor use.
- Do not let the cable hang over the edge of a table or counter, touch sharp edges, or touch hot surfaces.
- Make sure that the cable is not kinked or pinched under the appliance or that it is wrapped around the meat mincer.
- Never pull on the power cable to remove the plug from the socket.
- Never use an extension cable. Always connect the plug directly to a grounded socket.
- This meat mincer has a grounded, three-pin plug that must be plugged directly into a grounded socket (230 volts, 50 Hz).
- Grounded plugs are used in electrical equipment with a metal housing to protect the user from electrocution.
WARNING
Do not modify the plug in any way and never tear off a grounding pin from the 3-pin plug. Doing so will void your warranty and could result in electrocution.
- Always place the meat mincer on a firm and stable surface. Make sure that the device is not near the edge of the worktop where it can easily be pushed away or fall.
- The gearbox case and motor cover can get hot during operation, which is normal. Do not touch these parts during operation.
- Do not attempt to operate the device when the motor and gearbox are cold. The temperature of the mincer attachment, the motor and the gearbox should be at least +7˚C before starting.
- To reduce the risk of accidental start-up, make sure that the controller is switched off before inserting the plug into the socket.
- When storing the device, always pull the plug out of the socket, otherwise there is a risk of fire, especially if the device touches the walls or the door of the cabinet.
- Never connect the meat mincer where water can get into the set-up area.
- To protect yourself from the risk of fatal electrocution, never immerse the meat mincer in water or other liquids.
- Make sure that the mincer attachment is disconnected from the motor block before cleaning.
- Never rinse the motor block under running water; only use a damp cloth to clean it. The motor block has an anti-fingerprint finish, please do not damage it by scratching it or cleaning it too intensively with brushes or sponges.
- Never operate the meat mincer with wet hands or when you are standing on a wet floor.
- The use of attachments or parts not expressly sold for the device or sold by Landig will void the warranty and could result in fire, electrocution or injury.
WARNING
Only wash stainless-steel parts in your dishwasher! Do not use any aggressive cleaning agents!
- Never place the device near a hot burner, in an oven or in a dishwasher.
- Never use abrasive cleaning agents or abrasive cloths to clean the mincer attachment or the motor block.
- Never use the meat mincer for any purpose other than that for which it was intended. Details see page 19 (intended Use).
WARNING
Never work dry! Damage caused by dry operation will void the guarantee.
- Never let the meat mincer run dry for more than 10 seconds without meat in the device. The friction between the auger and the meat mincer head creates high heat, which can cause the meat to stick to the inside of the meat mincer.
- Never try to grind bones, nuts or other hard objects.
- Wear eye protection, e.g. protective goggles, when working. Everyday glasses are not protective goggles. Protective goggles meet the requirements of ANSI Z87.1. Note: Approved protective goggles are printed or stamped with Z87.
- The manufacturer declines all responsibility in the event of improper use of the device. Improper use will automatically void the guarantee.
- Never use the device while under the influence of drugs or alcohol.
Warranty
The motor of your meat mincer comes with a lifelong guarantee (25 years from the date of purchase) provided it is used and cared for properly.
All other parts of the meat mincer are covered by a 2-year manufacturer’s warranty for defects that can be traced back to manufacturing and material defects. Your statutory warranty claims according to § 439 ff. German Civil Code-E remain unaffected by this regulation.
The warranty does not include damage caused by improper handling or use, or defects that only marginally affect the function or value of the device. In addition, Landig assumes no liability for damage caused by lack of or inadequate maintenance. In this case the guarantee is also void. In addition, damage in transit is excluded from the warranty claim insofar as Landig is not responsible for this. A warranty claim is excluded for damage caused by repairs not carried out by Landig or an official agency.
In the event of justified complaints, Landig will either repair the defective product at its own discretion or replace it with a defect-free product. Further details can be found at: https://www.landig.com/garantie
Limitation of liability
All technical information, data and instructions for installation, operation and cleaning / care contained in these instructions for use correspond to the latest status at the time of printing and are based on our previous experience and knowledge to the best of our knowledge.
Please note that no claims can be derived from the information, images and descriptions in these instructions.
The manufacturer assumes no liability for damage due to:
- failure to follow the instructions
- improper use
- technical modifications
- improper repairs
- use of unapproved spare parts
The manufacturer assumes no liability for translation errors.
Only the original German text remains binding, in which punctuation and character errors cannot be ruled out either.
Intended use
You have chosen a high-quality Landig meat mincer. This device is not intended for intensive daily use in commercial and industrial areas. Please note the information on the maximum throughput (see technical data page 14).
Only use the device indoors (closed rooms). You can use this device to process meat, sausage products, poultry, fish, ham/ bacon and dough. Never crush hard objects such as bones or frozen food.
The device is intended for use in the household and hobby area (hunting, fishing, agricultural self-marketing), as well as for use in small meat processing businesses and similar areas.
Any other use that goes beyond this is considered improper use.
This device can pose considerable dangers if it is not used as intended!
- Use the device only as intended!
- It is imperative that you adhere to the procedures described in these instructions for use.
Claims of any kind due to damage resulting from improper use are excluded. The user of the device bears the sole risk.
Important when unpacking
To unpack the device, please proceed as follows: Take the device out of the box. Remove all packaging and any stickers on the device. Do not remove the type plate!
Before first use
Thoroughly clean all individual parts with washing-up liquid and warm water to free them from any production residues.
See also “Cleaning”.
Requirements for the installation location
For safe and error-free operation of the device, the following must be observed when setting up:
The device location / the surface on which the device stands must be level (horizontal), stable, non-slip and heat-resistant and have sufficient load-bearing capacity for the device. Do not place the device in a hot, wet or humid environment.
Select the installation location so that children cannot reach moving parts. Also keep loose parts like the blade of the meat mincer out of the reach of children. The device is also not intended for installation in a wall or a built-in cabinet.
The socket must be easily accessible so that the connection cable can be pulled out quickly in an emergency
Product overview W 100
Dimensions & device description
- Mincer attachment
- Filler tray
- Locking button
- Anti-slip feet
- Motor block
- Locking ring
- Perforated disc
- Ventilation opening

- On/Off switch
- Overload protection
- Power cable connection

Scope of delivery

- 12 1 x Pusher
- 13 1 x Sausage filling funnel
- 14 1 x Wing blade
- 15 2 x perforated discs (4.5 + 8 mm)
- 1 x Filler tray, 1 x Locking button, 1 x Mincer attachment,
- 1 x Auger socket, 1 x Auger, 1 x Auger Remover, 1 x Locking ring,
- 1 x Spacer disc for sausage filling, 1 x Motor block and
- 1x Power cable.
Meat processing operation
- Pusher
- Filler tray
- Locking button
- Mincer attachment
- Auger socket
- Auger
- Wing blade
- Perforated disc
- Locking ring

Proper assembly of wing blade https://link.landig.com/wmodel
Sausage processing operation
- Pusher
- Filler tray
- Locking button
- Mincer attachment
- Auger socket
- Auger
- Wing blade
- Spacer disc for sausage filling
- Sausage filling funnel
- Locking ring

Product overview W 200 and W 300
Dimensions & device description
- Mincer attachment
- Filler tray
- Locking button
- Anti-slip feet
- Motor block
- Locking ring
- Perforated disc
- Ventilation opening

- On/Off switch
- Overload protection
- Power cable connection

Scope of delivery

- 12 1 x Pusher
- 13 1 x Sausage filling funnel
- 14 1 x Wing blade
- 15 2 x perforated discs (4.5 + 8 mm)
- 1 x Filler tray, 1 x Locking button, 1 x Mincer attachment,
- 1 x Auger socket, 1 x Auger, 1 x Auger Remover, 1 x Locking ring,
- 1 x Spacer disc for sausage filling, 1 x Motor block and
- 1x Power cable.
Meat processing operation
- Pusher
- Filler tray
- Locking button
- Mincer attachment
- Auger socket
- Auger
- Wing blade
- Perforated disc
- Locking ring

Proper assembly of wing blade https://link.landig.com/wmodel
Sausage processing operation
- Pusher
- Filler tray
- Locking button
- Mincer attachment
- Auger socket
- Auger
- Wing blade
- Spacer disc for sausage filling
- Sausage filling funnel
- Locking ring

Assembly of the mincer attachment
WARNING
Before assembling, make sure that the device is not plugged in!
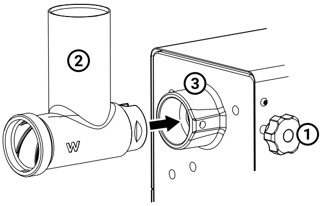
- Unscrew the black locking button on the motor block until the thread inside the motor housing is no longer visible.
- Insert the mincer attachment into the motor block opening and make sure that the filler neck is pointing vertically upwards.

- Turn clockwise until the slot on the top of the mincer attach – ment lines up with the pin in the motor housing.
- The mincer attachment must sit completely in the motor housing. Tighten the locking button of the mincer attach – ment.

- Insert the auger , aligning the auger shaft with the drive shaft of the motor block. To do so, turn the screw slightly clockwise until it slips into the recess.
- Place the wing blade on the square nozzle of the auger. The flat side points in the direction of the mincer attach – ment outlet. Note: The blade only fits in one direction on the nozzle of the auger.
Under the following link you will find a step-by-step video tutorial for the proper assembly of the meat grinder attachment: https://link.landig.com/wmodel
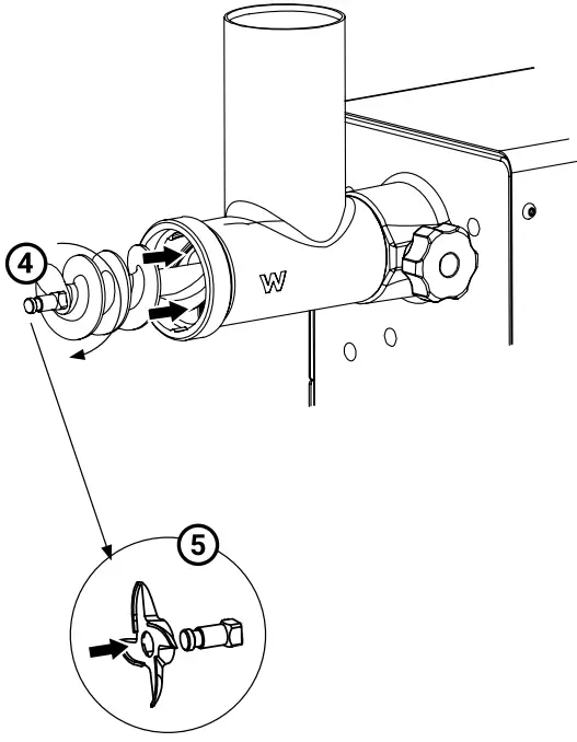
• Insert the required perforated disc size. The notch in the
perforated disc must snap into place in the mincer housing.
Tip: for a long-lasting perfect cut, use a separate wing blade for each perforated disc size.
- Close the locking ring of the mincer attachment clock -wise until it lightly fixes the parts inside.
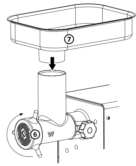
- Insert the filler tray into the filler neck of the mincer attachment and press it down until it is firmly in place.

Use as a meat mincer
- Insert the cold device connector into the socket on the motor block and then plug the connector into the socket, the device is now in stand-by mode.
- Place the plate or bowl under the outlet of the mincer attachment.
Tip: The food to be processed must be well chilled or slightly frozen. For best results, cut the meat into cubes with an edge length of approx. 3-4 cm.
Tip: The best result for very fine sausage meat can be achieved by first using a coarse perforated disc (e.g. 8 mm) and then using a fine perforated disc (e.g. 3 mm).
- Start the device by pressing the ON-OFF switch.
- Only use the pusher to put meat/food into the filling nozzle, do not press too hard, the device pulls the meat through almost effortlessly

WARNING
Only use the pusher to push the mass into the chute, not with your finger or any other object!
WARNING
Never run the meat mincer without meat! This can lead to damage of the device. Meat becomes a lubricant as it passes through the meat mincer. When you run out of meat, switch off the meat mincer immediately.
- After the mincing process has ended, switch off the device using the On/Off switch.
- Before cleaning the device, it is essential to pull the plug out of the socket. The disassembly takes place in reverse order to the previously described meat mincer assembly.
Overload protection
In the event of overheating, the meat mincer is automatical switched off by the overload protection. The meat mincer is released again by acknowledging the button.
IMPORTANT
Let the meat mincer cool down before you acknowledge the overload protection!
Use as a sausage filler
The procedure is identical to the assembly of the mincer attachment as a meat mincer (see page 24), only the last perforated disc in front of the locking ring is replaced by the spacer disc for sausage filling and the sausage filling funnel.
Tip: Even if one person can fill the sausage with the meat mincer, it is advisable to carry out this process with two people. Alternative: Use foot pedal from accessories.
- The sausage meat to be processed must be chilled. Do not overfill the filler tray with meat, the chute to the auger must always remain free in order to have good control.
- Slide a sausage skin over the filling funnel. Pull out 10-15 cm of the sausage skin at the end of the filling funnel and tie a knot in the end of the skin.

Tip: For a better result, put the artificial or natural skin in lukewarm water for about 10 minutes in advance.
- Start the device by pressing the On/Off switch.
- Now carefully fill the mass into the filling chute.

WARNING
Only use the pusher to push the mass into the chute, not with your finger or any other object!
- One person operates the meat mincer and pushes meat into the chute with the pusher, while the other person controls the output into the sausage skin.
- When the sausage meat fills the skin / sausage sleeve, carefully place it on a clean, dry surface. Do not fill the last 10-15 cm of the skin.

Tip: Fill the skin slowly to avoid air pockets. Should air bubbles be visible in the sausage, prick the skin with the “Landig sau
- After the entire length of the skin has been filled, twist and tie the open end.
- Twist into individual sections if desired.
- After completing the process, switch off the device using the On/Off switch.
WARNING
Never run the meat mincer without meat/sausage mix! This can lead to damage of the device. Meat becomes a lubricant as it passes through the meat mincer! When you run out of meat, switch off the meat mincer immediately
Cleaning, maintenance and storage
WARNING
Before cleaning, make sure that the device is switched off and the power plug is unplugged
- Disassemble the mincer attachment and wash the stainless-steel parts that come into contact with meat thoroughly in hot soapy water or put them in the dishwasher.
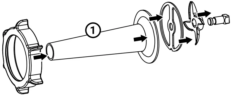
- The easiest way to remove the mincer’s auger from the mincing attachment is to use the auger remover . To do this, place the auger remover between the nozzle and the perforated disc of the auge and carefully pull the auge forwards out of the mincing attachment (see illustration).

- Take particular care that all surfaces are cleaned of grease and oil. Rinse and dry all parts thoroughly before reassembling them.
IMPORTANT
Make sure that you clean the device immediately after use.
WARNING
Do not immerse the motor in water or other liquids!
- Use only a damp cloth on the motor block to clean it. The motor block has an anti-fingerprint finish, please do not damage it by scratching it or cleaning it too intensively with brushes or sponges.
Care information: Lubricate the mincer attachment, the auger, the perforated discs and the blade with a food-safe silicone spray before and after each use.
Disposal information

This product must not be disposed of with normal household waste, but must be taken to a collection point for the recycling of household electronic waste. This is indicated by the symbol on the product and in the instructions for use. The materials are recyclable according to their labelling. By reusing, material or other recycling of old devices, you are making an important contribution to protecting our environment. Please ask your local authority about the disposal point responsible.
WEEE Reg. No. DE 86929896
Customer service
If your Landig meat mincer is defective, please contact your specialist dealer or Landig Customer Service on +49 7581 90430 or send an email to [email protected].
Landig + Lava GmbH & Co. KG
Mackstrasse 90 – 88348 Bad Saulgau – Germany
Tel.: +49 7581 90430 – Email: [email protected]
Web: www.landig.com
www.facebook.com/landing.wildkuehlung
www.instagarm.com/lamdig.wildkuehlung
Stand: November 2022

































