
DENVER IOB-208
WI-FI OUTDOOR SMART-208
facebook.com/denverelectronics

Quick Start Guide for Battery Smart Camera
User’s Guide for Battery WiFi Camera
Perform the in-app Setup
The app is available for iOS, Android The app name is “Denver smart home”

https://smartapp.tuya.com/denversmartliving
Account Registration and Login
Please open the “DENVER SMART HOME” App, and enter the App main interface. New users need to register by Email or Mobile number, click “Register”.
Follow the steps to complete the registration of the account, and log in.

Please login directly if you already have an account. To input your account and password, click “Log in”.
Add Device
Tap + or “Add Device” to add the device.
Find the smart camera in the video surveillance list and click it

Note: The “auto scan” function cannot be supported, please select “Add Manually” and follow up below steps to add the device.
Confirm the red and blue LED flash alternately or a prompt tone is heard.
Connect with your home Wi-Fi. 2.4GHz signal type Wi-Fi is required, 5GHz Wi-Fi the network can not be used.
Pairing the camera. The camera lens is aimed at the QR code on the phone screen with a distance of 15cm. It will sound “beep” after the camera recognizes the QR code.

Note: Allow to access your location if prompted to enable the GPS.
Please click “I Hear a prompt” if you heard it, then will start connecting. The camera is added successfully. You can enter the live video interface.
Settings
Click
to enter the Settings page. There are only a few settings to make, so the process is quick and easy. To start setting up your camera.

Product Features
![]() | 2 x 18650 batteries work regularly for 3 to 6 months |
![]() | FHD Megapixels collocated with a wide-angle lens |
![]() | Support fast remote wake-up from mobile phones within 5 seconds |
![]() | 2.4G Wi-Fi connection |
![]() | Support PIP motion detection, when someone hovers at the door, it will send push alerts to your mobile phone immediately |
![]() | With IR-cut, it can switch automatically and the photos or videos shoot by the camera are clearly visible at both day and night to keep your home and family safe. |
![]() | Support USB charging |
Product Specification Sheet
| Lens | FOV/130° Wide-angle lens (4Glass) |
| Infrared LEDs | 10 pcs Infrared LEDs with a flash distance of 6 to 8 meters |
| PIR Motion Sensor | 6 meters PIR distance |
| Storage | Up to 128GB Micro SD card Cloud storage |
| Connectivity | 802.11b/g/n [email protected] |
| Power consumption | Standby 200uA Working 200mA |
| Battery | 2 x 18650 batteries |
| USB | DC 5 V |
| Wi-Fi distance | 70 meters (open space without obstacle) or 15 meters (indoor) |
| Video Compression | H.264 |
| Voice Intercom | Two-way audio with noise cancellation |
| Video resolution | 1920 * 1080@15 fps |
| Working Temperature | -10 ~ 50 °C |
| Storage Temperature | -20 ~ 60 °C |
Product Design
Lens- Mic
- Light sensor
- LED
- Motion detection sensor
- Charge LED
- USB interface
- Speaker
Charge LED: Charging in Red; Full in Green.
Reset button- Mirco-SD card
- Power button
- 18650 Battery
- Flip Switch
Install your camera
Step 1: Please turn the flip switch to “OPEN” and open the cover, then install the 18650 batteries and Micro-SD card. (Please make sure that the polarity of the battery is correct). Long press the RESET button until you hear the “system reset” prompt from the camera speaker. 
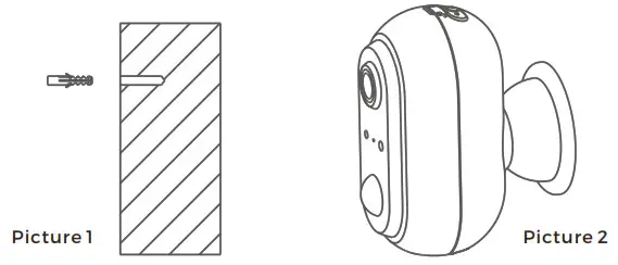
Step 2: Install anchors into a stucco, brick or concrete surface. Use the drill bit to drill one hole in your wall and install the anchors. Install the base bracket on the wall (Picture 1) .
Step 3: Align the device to the base bracket and hold it, then adjust the appropriate angle, the installation is finished (Picture 2) .
Notes:
- The USB interface is only used for the power supply.
- When the mobile phone is connected to the home WiFi router, the mobile APP can generate a QR code that includes the name and password of the WiFi router. The product recognizes the QR code through the lens on the product, and the product is automatically connected to the router and server after identification. At this time, the APP also finds the product through the server and the APP can control the operation of the product through the network.
Please notice – All products are subject to change without any notice. We take reservations for errors and omissions in the manual.
ALL RIGHT RESERVED,COPYRIGHT DENVER
ELECTRONICS A/S

Electric and electronic equipment and included batteries contain materials, components and substances that can be hazardous to your health and the environment if the waste material (discarded electric and electronic equipment and batteries) is not handled correctly.
Electric and electronic equipment and batteries is marked with the crossed-out trash can symbol, seen above. This symbol signifies that electric and electronic equipment and batteries should not be disposed of with another household waste, but should be disposed of separately.
As the end-user, it is important that you submit your used batteries to the appropriate and designated facility. In this manner, you make sure that the batteries are recycled in accordance with the legislature and will not harm the environment.
All cities have established collection points, where electric and electronic equipment and batteries can either be submitted free of charge at recycling stations and other collection sites or be collected from households. Additional information is available at the technical department of your city.
Hereby, Inter Sales A/S declares that the radio equipment type IOB-208 is in compliance with irective 2014/53/EU. The full text of the EU declaration of conformity is available at the following internet address: www.denver-electronics.com and then click the search ICON on a topline of website. Write model number:
IOB-208. Now enter the product page, and the RED directive is
found under downloads/other downloads.
Operating Frequency Range:2412MHz-2472MHz
Max Output Power:19db
DENVER ELECTRONICS A/S
Omega 5A, Soften
DK-8382 Hinnerup
Denemarken
www.facebook.com/denverelectronics
Warning!
- Lithium battery inside!
- Do not try to open the product!
- Do not expose to heat, water, moisture or direct sunlight!
- Only charge with the original charger supplied with this product!







Lens
Reset button

















