Origin 21 52291 Gas Tabletop Fire Pit

PACKAGE CONTENTS
Note: A table with an umbrella hole (not included) is required to assemble this product.
| PART | DESCRIPTION | QUANTITY |
| A | Body | 1 |
| B | LavaGlass® (1 bag) | 1 |
| C | Control Knob (preassembled) | 1 |
| D | Burner (preassembled) | 1 |
| E | Support Ring | 1 |
| F | Regulator (preassembled) | 1 |
| G | Angle Bracket | 1 |
| H | Tank Bracket | 1 |
| I | Guard (preassembled) | 1 |
| J | Regulator Bracket (preassembled) | 1 |
| K | Touch-up Pen | 1 |
HARDWARE CONTENTS
- Screw M 4 x 10 Qty. 2

- Wing Screw M 6 x 55 Qty. 1

SAFETY INFORMATION

DANGER
FIRE OR EXPLOSION HAZARD
If you smell gas:
- Shut off gas to the appliance.
- Extinguish any open flame.
- If odor continues, leave the area immediately.
- After leaving the area, call your gas supplier or fire department.
Failure to follow these instructions could result in fire or explosion, which could cause property damage, personal injury, or death.
WARNING
Do not store or use gasoline or other flammable vapors and liquids in the vicinity of this or any other appliance. An LP-cylinder not connected for use shall not be stored in the vicinity of this or any other appliance.
WARNING: For Outdoor Use Only.
Installation and service must be performed by a qualified installer, service agency, or the gas supplier.
WARNING
Improper installation, adjustment, alteration, service or maintenance can cause property damage, personal injury or loss of life. Refer to the owner’s information manual provided with this appliance. Installation and service must be performed by a qualified installer , service agency , or the gas supplier.
INSTALLER : Leave this manual with the appliance.
CONSUMER: Retain this manual for future reference.
DANGER
CARBON MONOXIDE HAZARD
This appliance can produce carbon monoxide which has no odor.
Using it in an enclosed space can kill you. Never use this appliance in an enclosed space such as a camper, tent, car or home.
WARNING
WARNING: This product can expose you to chemicals including Lead and Lead Compounds which are known to the state of California to cause cancer and birth defects or other reproductive harm.
For more information go to www.P65Warnings.ca.gov
Please read and understand this entire manual before attempting to assemble, operate or install the product. If the item is no longer for sale, or if you have any questions or problems, please call our customer service department at 1-888-251-1026, 8 a.m. – 8 p.m., EST, Monday – Sunday.
You could also contact us at [email protected] or visit www.lowespartsplus.com.
Before you assemble or operate this unit, please carefully read this entire manual.
Failure to do so may result in a fire, explosion, injury or death.
WARNING
- Do not use this firebowl for cooking.
- Do not burn any other materials than are supplied with and intended for use in this firebowl.
- Do not pour water into firebowl.
- The installation of this unit must adhere to local codes or Propane Storage and Handling Code, CSA B149.2.
- Do not use this firebowl if any part has been under water.
- Do not store a spare or disconnected propane cylinder under or near this firebowl.
- After a period of storage, and/or non use, the propane firebowl should be checked for gas leaks and burner obstructions before use.
- Do not operate the propane firebowl if there is a gas leak present.
- Never use a flame to check for gas leaks.
- Combustible materials should never be within 48 inches of the top, back or sides of your propane firebowl.
- Do not put any other firebowl cover or anything flammable on, or beneath the firebowl.
- The propane firebowl should never be used by children. Children must be supervised when they are anywhere near the appliance.
- Users should be alerted to the hazards of high surface temperatures and keep a safe distance to avoid burning or clothing ignition.
- Pay attention when operating the firebowl. It is hot when in use and should never be left unattended. Do not transport it while in operation.
- Should fire go out while burning, turn the gas valve off. Wait five minutes before attempting to relight, then follow instructions to light the firebowl.
- Never use charcoal or any other solid fuel in the firebowl. Never place clothing or other flammable materials on or near the firebowl.
- Never lean over the open firebowl or place hands or fingers on the upper portion of an operational 1mit.
- Keep ventilation openings in cylinder enclosure (FIREBOWL BODY) free and clear of debris.
- Do not rest feet on the firebowl.
- Do not enlarge valve orifices or burner ports when cleaning the valve or burner.
- Propane gas is not natural gas. Only use propane for this firebowl.
- The conversion or attempted use of natural gas in a propane unit is dangerous.
- Do not use this firebowl on vehicles or boats. Always operate the appliance on flat surface outdoors.
- Keep any electrical supply cord and the fuel supply hose away from any heated surfaces.
- Do not use this firebowl unless all parts are in place.
- Inspect the burner before each use of the appliance. If there is evidence of damage, the burner must be replaced prior to the appliance being put into operation. Use Manufacturer approved or supplied replacement burner only.
- FOR PROPANE GAS UNITS: The gas pressure regulator provide with the propane fire bowl must be used.
- Do not attempt to disconnect the gas regulator or any gas fitting while your firebowl is in operation.
- A dented or rusty propane cylinder may be hazardous and should be checked by your gas supplier prior to use.
- Transport and store the empty gas cylinders carefully and properly.
- If you see, smell or hear the hiss of escaping gas from the propane cylinder: 1. Disconnect propane gas cylinder, 2. Do not attempt to correct the problem yourself, 3. Get to your gas supplier and/or the fire department for help.
- Any guard or other protective device removed for servicing this fire bowl must be replaced prior to operating this appliance.
- The maximum supply pressure is the 250 psi.
- This appliance is designed for use with a 16.402 (1 Lb) propane gas cylinder (disposable). The propane cylinder must be constructed and marked in accordance with the specifications for Gas cylinders of the U.S. Department of Transportation (DOT) or the National Standards of Canada, CAN/ CSA-8339, cylinders, Spheres and Tubes for Transportation of Dangerous Goods; and Commission, as applicable.
- Cylinders must be stored outdoors in well-ventilated area out of the reach of children.
- Disconnected cylinders must have valve caps tightly installed and must not be stored in a building or any other enclosed area.
- Do not light or use gas unit if lava rocks are wet. Ensure lava rocks are completely dry before igniting.
- Pumice stones/lava rocks/LavaGlass® could hit somebody’s face or eyes during initial start of this unit, so please keep away from the firebowl for the first 20 minutes after it has been ignited.
- During Ignition procedure, one should NEVER get his/her face close to and or above the burner. In case of the unnoticed flame may suddenly be lit up and causing injury.
- Children should never operate this unit. Children must be supervised while near this unit.
- All installation and repair should be done by a qualified professional. This unit should be inspected annually and cleaned regularly.
- Children and adults should be alerted to the hazards of high surface temperatures and should stay away to avoid burns or clothing ignition.
- Children and adults should be alerted to the hazards of high surface temperatures and should stay away to avoid burns or clothing ignition.
- Young children should be carefully supervised when they are in the area of the appliance.
- Clothing or other flammable materials should not be hung from the appliance or placed on or near the appliance.
- Any guard or other protective device removed for servicing the appliance shall be replaced prior to operating the appliance.
- Installation and repair should be done by a qualified service person. The appliance should be inspected before use and at least annually by a qualified service person. More frequent cleaning may be required as necessary. It is imperative that the control compartment, burners and circulating airways of the appliance are kept clean.
Only use the regulator and hose assembly provided with this unit. Replacement parts must be supplied directly by manufacturer.
Inspect the burner before use of this unit. If the burner shows any kind of damage, do not operate the appliance. For assistance with repair or replacement of the burner or any other parts, call manufacturer at 1-888-251-1026.
NOTE: You must follow all steps to properly assemble this heating item. Make sure the gas valve is turned ‘OFF’ before assembling. Do NOT attempt to assemble without proper tools.
PREPARATION
Before beginning assembly of product, make sure all parts are present. Compare parts with package contents list and hardware contents above. If any part is missing or damaged, do not attempt to assemble the product. Contact customer service for replacement parts.
Estimated Assembly Time: 10 minutes
Tools Required for Assembly: Phillips screwdriver (not included).

ASSEMBLY INSTRUCTIONS
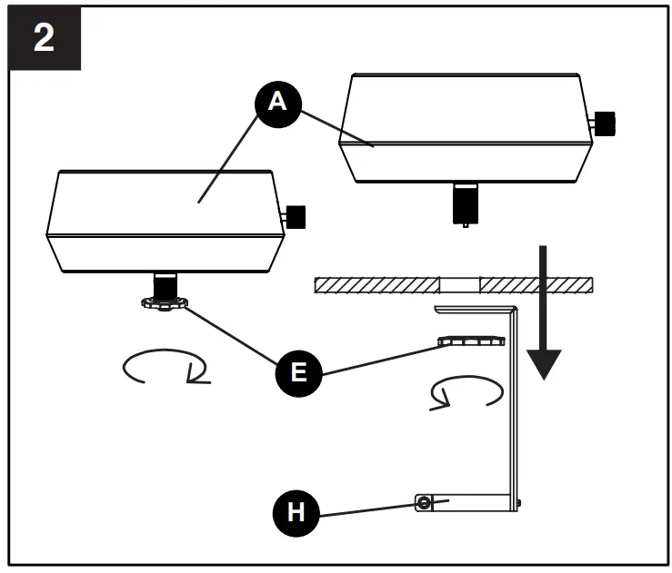
- Attach the tank bracket (H) to the angle bracket (G) using two screws (AA). Tighten with a Phillips Screwdriver.

Hardware Used
M4x10 mm Screw
x2 - Remove the support ring (E) from the body (A).Insert the body (A) through the umbrella hole in your table and the tank bracket assembly made in step 1. Screw the support ring (E) to the body (A) from underneath the table to secure the body to the table.

- Check that the control knob (C) for the gas supply system is turned to the “OFF” position before assembling the 1 lb. propane gas tank. To attach the 1 lb. propane gas tank (not included) on the unit, screw the 1 lb. gas tank to the regulator (F).

NOTE: Use only 20-pound cylinders ( approximately 18 ¼ inches high and 12 ¼ inches in diameter) equipped with a cylinder connection device compatible with the connection for the hose regulator supplied with this appliance. Propane gas and cylinder are sold separately. A dented, rusted or damaged propane cylinder may be hazardous and should be checked by your cylinder supplier. Never use a propane cylinder with a damaged valve connection. - Once the tank is attached to the regulator, insert the wing screw (BB) into the tank bracket and turn clockwise to secure the propane gas tank tightly.

Hardware Used
Wing Screw M6x55
X 1 - Carefully place the LavaGlass® (B) onto the burner evenly. Do not cover the ignition screen with the LavaGlass®. Use gloves when handling Lava Glass®.

OPERATING INSTRUCTIONS
Before performing a leak test, be sure that no sparks can occur and you are in a spacious outdoor area. Connect the propane gas tank to the regulator and turn the valve on the unit to the ‘OFF’ position. Brush a soap and water mixture on all connections. Turn the gas supply on; if bubbles occur on any connection there may be a leak. If you smell gas or a leak is discovered turn the gas valve off, disconnect propane gas tank and do not use the appliance until the leak is repaired.
Pumice stones/lava rocks/LavaGlass® could pop up and strike somebody’s face during the process of lighting this unit; stand away from the unit for the first 20 minutes after igniting. Flame height should be a yellow/blue color between 1 – 7 .5 inches in height.
Wait 50 minutes after extinguishing flame prior to placing a lid (if applicable) or protective cover on heating item.
To Light
- After assembling the gas tank, push and turn the control knob (C) counter-clockwise, then use a match or a lighter to light the firebowl. Once lit, keep holding down the control knob for 15 seconds.
- To adjust the flame, turn the control knob (C).
To Extinguish
- Turn the control knob (C) clockwise to the ‘OFF’ position.
- Disconnect propane cylinder to close the gas supply if not using for a period of time.
![]() | If the burner does not ignite with the burner control valve open, gas will continue to flow out of the burner and could accidentally ignite causing injury or property damage. | ![]() |
CARE AND MAINTENANCE
- Before performing any maintenance always disconnect propane gas tank.
- Store your product indoors during winter months. Avoiding extreme cold temperatures will prevent from exposure damage.
- Keep the heating item free and clear from combustible materials.
- Visually inspect burner for obstructions and keep tank enclosure free and clear from debris.
- Use a soft brush to get rid of the mild stains, loose dirt and soil after the burner and pumice stones/lava rocks/LavaGlass® are completely cooled down. Wipe down with a soft cloth.
- Harsh weather conditions may cause stubborn stains, discoloration and possibly rust pitting.
- Permanent damage may occur if powder or solvent comes in contact with painted or plastic
- components on this heating unit.
- Keep the heating unit stored away from direct sunlight.
- If storing this unit inside, disconnect the propane gas tank from the gas valve.
- Not using manufacturer approved or supplied parts/accessories may result in a defective condition and void the warranty of this heating unit.
- Always place lid (if applicable) or protective cover on heating item when not in use.
TROUBLESHOOTING
| Problem | Cause | Solution |
| Burner won’t light with a match. | No gas flow. | Check if gas cylinder is empty. |
| Regulator isn’t connected securely to the tank. | Tighten regulator connection to the gas tank. | |
| Spider webs or insect nest in the burner and guard. | Check the burner and guard. | |
| Burner ports are clogged. | Turn all gas flow connections off. Insert an opened paperclip (or similar item) into each of the burner ports to clear them out. | |
| Heating unit emits a lot of black smoke. | Flame is obstructed at burner ports. | Check that all burner ports are free of any small lava rocks/pumice stones/ LavaGlass® pieces. |
| Flame blows out easily. | High or gusting winds. | Increase flame to ‘high’. |
| No gas flow. | Check if gas cylinder is empty. |
1-YEAR LIMITED FRAME WARRANTY
If within one year from the date of original purchase, this item fails due to a defect in material or workmanship, we will replace or repair at our option, free of charge. To order parts or to obtain warranty service, call 1-888-251-1026, 8 a.m. – 8 p.m., EST, Monday – Sunday.
This warranty does not cover defects resulting from improper or abnormal use, misuse, accident, or alteration.
Failure to follow all instructions in the owner’s manual will also void this warranty. The manufacturer will not be liable for incidental or consequential damages, or common erosion of outdoor products. Some states do not allow the exclusion or limitation of incidental or consequential damages, so the above limitation may not apply to you. This warranty gives you specific legal rights, and you may also have other rights which vary from state to state.
REPLACEMENT PARTS LIST
For replacement parts, call our customer service department at 1-888-251-1026, 8 a.m. – 8 p.m., EST, Monday – Sunday. You could also contact us at [email protected] or visit www.lowespartsplus.com.
| PART | DESCRIPTION | PART # |
| A | Body | 30-01-413 |
| B | LavaGlass® (1 bag) | 30-01-414 |
| □ | Control Knob (preassembled) | 30-04-954-B |
| D | Burner (preassembled) | 30-04-955-B |
| E | Support Ring | 30-04-956-B |
| F | Regulator (preassembled) | 30-04-957-B |
| G | Angle Bracket | 30-04-958-B |
| H | Tank Bracket | 30-04-959-B |
| I | Guard (preassembled) | 30-04-764-8 |
| J | Regulator Bracket (preassembled) | 30-04-961-B |
| K | Touch-up Pen | 30-01-415 |
| AA-BB | Hardware Pack | 30-09-568 |
| N/A | Manual | 30-10-223 |


Questions, problems, missing parts? Before returning to your retailer, call our customer service department at 1-888-251-1026, 8 a.m. – 8 p.m., EST, Monday – Sunday. You could also contact us at [email protected] or visit www.lowespartsplus.com. SM21649




M4x10 mm Screw



Wing Screw M6x55















