
RPS-SYSTEM
Motorized reproduction column
INSTRUCTION MANUAL
Please read this manual carefully before using the RPS-SYSTEM

Thank you for purchasing a Cambo product.
Cambo’s motorized Column for Reproduction Photography, RPS-System, is a user friendly system that can be configured from different elements to ensure the best possible solution for any reproduction photography situation. The vertical movement is self-locking, motorized and remote controlled by a control unit which also controls the speed an direction of the column. The fine geared adjustable camera arm offers great control over the horizontal displacement of the camera.
The sturdy aluminium column, optional wall mounting or solid steel base, ensure a stable system for any studio environment. The self-locking vertical mechanism and automatic end-stops provide a safe working environment for photographer as well as fragile objects.
1 Warnings
![]()
The motorized column features two height adjustable end-stops. When the cross-arm passes one of these end-stops the drive immediately stops. When positioned correctly these end-stops prevent collisions between the cross-arm or camera and the baseboard, floor, ceiling or object on the baseboard.
Before use make sure the cross-arm is positioned between the end-stops.
Before use make sure the end-stops are positioned at the correct height.
- Place the top end stop at a height that the cross-arm or mounted camera will not be able to hit the ceiling or any objects hanging from the ceiling before reaching the end-stop first.
- Place the bottom end-stop well above the floor, baseboard, or objects on the floor or baseboard. So the cross-arm will reach the end-stop before the mounted camera will collide with any objects below.
Ensure the cables are guided properly at the back of the column.
Never disconnect the remote from the cable supply during use. This may cause damages to the electronic components!
Never disconnect the motor unit from the power supply during use. This may cause damages to the electronics.
The maximum weight that can be applied to the cross-arm at maximum extend is 5KG.
2 Key features
- Motorized vertical adjustment
- Fine geared horizontal adjustable camera arm
- Adjustable motor speed
- Automatic end stops
- Self-locking vertical position
- Reinforced aluminium column
- Wall mounting options
- Optional base
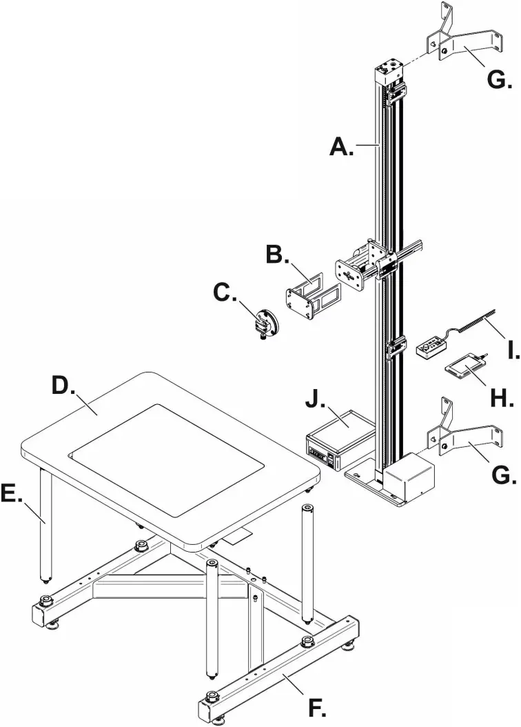
3 RPS-System overview
A. RPS-200 Repro column 2mtr
B. RPS-175 Cross arm extension
C. RPS-180 Levelling unit pro
D. RPS-160 Board Basic RPS
E. RPS-222 Kit Height adjusters
F. RPS-Base
G. RPS-170 Wall mount Kit
H. RPS-201 Smart controller
I. RPS-Remote controller
J. RPS-Control box

Figure 1 RPS-System overview
4 Setting up the RPS-System
4.1 Unpacking the base
CAUTION, when removing or placing the baseboard from or to the base
It’s advised to perform the following instructions with two persons. Please remove or insert the baseboard uniformly distributed and parallel to the base to prevent jamming.
![]()

Figure 2 Unpacking the Base Board
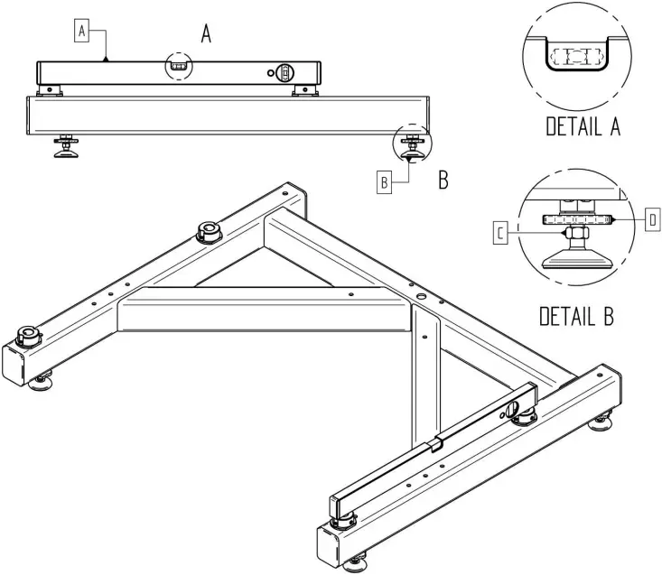
4.2 Levelling the base

Figure 3 Leveling the Base
To correctly level the RP1-Base you will have to use a spirit level [A]. The base features four adjustable feet [B]. To level the base, loosen locking ring [D] then use a spanner (metric 14mm) to adjust the height of the feet by turning nut [C]. When the base is leveled make sure to retighten locking ring [D].
4.3 Applying the column to the base
The column must be fixed to the base by using four M8x110 countersunk bolts [A] (Hexagon socket Allen key 5mm) and four M8 nuts [C] (Metric spanner 13mm). It is advised to set up the column with two persons. Place the column on the base and insert bolts [A], place the washers and nuts on the bolts from the bottom. Do not fully tighten the bolts and nuts before all four are placed. When all four bolts are in place, tighten the bolts and nuts firmly using the 5mm Allen key and 13mm spanner.

Figure 4 Mounting the column to the base
4.4 Levelling the column
Use a spirit level [detail D]l to check if the column is leveled. Make sure the base is correctly leveled first. Please only perform this operation when necessary. If the column is slightly off, the four set screws [D] near the bolts [A] can be used to fine adjust the level of the column. To level the column slightly loosen bolts [A] and screw the appropriate setscrew [D] using the 5mm Allen key. When the column is leveled, retighten bolts [A] firmly.
4.5 Applying the board to the base
It is advised to perform the baseboard placement with two persons.
4.5.1 Applying the baseboard with extenders
Before applying the extenders to the base, make sure all the setscrews [D] and [E] are fully loosened. Place the four extenders [C] in the base couplers [B]. Do not tighten the base coupler set screws yet! Insert the baseboard pins in the extenders, make sure to let the baseboard pins sink in uniformly. Now first tighten the extender locking set screws [4x]. Finally lock the extenders to the base by tightening the base coupler set screws.

Figure 5 Applying the baseboard on extenders
After the baseboard is fixed you can apply the motor case [H] by using the two supplied M3x4 cylinder head bolts [I] using a 2mm Allen key. Finally the remote holder [F] (which is mounted to the baseboard inversely) can be mounted to the baseboard by using locking knobs [G]
4.5.2 Applying the baseboard without extenders
Before applying the baseboard to the base, make sure locking screws [E] inside base couplers [B] are fully loosened. Apply the baseboard to the base by uniformly sinking the baseboard pins in the base couplers. Make sure to retighten the locking set screws [E 4x] after the placement.

Figure 6 Applying the baseboard to the base
4.6 Wall mount installation
Besides mounting the column to the base it is optional to order brackets for a wall mounted system. When installing the wall mounted system start by applying the top bracket [A] to the wall. Make sure the distance between the floor and the bottom mounting hole is at least 225CM. Fix the top bracket to the wall first with a minimum of one screw on each side. Use a sprit level during mounting to make sure the bracket is fixed to the wall leveled. Now fix the bottom bracket to the bottom of the column by using the two bolts [D] and washers [C]. Place the bolts in the designated holes of the bottom mounting block of the column. Fix the column to the wall mounted to bracket. Level the brackets and column by using a spirit level and fix the bottom bracket to the wall with at least one screw on each side. For fine tuning the position of the column both the top and bottom bracket contain a set screw [E]. Before using the set screws, slightly loosen bolts [D] then tighten or loosen set screws [E]. when the column is leveled, retighten bolts [D].

- Floor to hole must be at least 198 cm
- Floor to hole must be at least 4,2 cm
Figure 7 RPS-System wall mount
5 Connecting the RPS-System
Please ensure to read the safety warnings [Chapter 1] carefully before connecting and operating the RPS-system.
5.1 Interface and connections
5.1.1 Column interface
a. Cross-arm
b. Cross-arm drive knob
c. Cross-arm locking knob
d. Arca compatible Quick release
e. Quick release locking knob
f. Top end-stop
g. Top end-stop locking knobs
h. Bottom end-stop
i. Bottom end-stop locking knobs
j. Cable track

Figure 8 RPS-Column Features
5.1.2 Remote control interface
a. Pushbutton UP
b. Pushbutton DOWN
c. Low/High mode indication light
d. Low/High mode pushbutton switch
e. Speed control potentiometer
f. Remote control cable socket
g. Magnetic back
h. Weight compensation potentiometer*

Figure 9 Remote control
Because of the weight of the camera, the downward speed will be higher than the upward speed. This speed difference can be controlled on the rear of the remote control. By using a small screw driver you can control the weight compensation potentiometer through hole [H].
5.1.3 Control box interface
a. On/Off switch
b. AC power cable socket
c. USB Type C laptop connection socket
d. Touch controller socket
e. Remote control socket
f. Column connection socket

Figure 10 RPS-control box
5.2 RPS-connection scheme

Figure 11 RPS-Connection scheme
WARNING!: Before connecting the AC cable, please determine if the input power specified on the power supply corresponds with the AC power used in your area
WARNING!: Never unplug any of the connectors when the unit is in use, this may damage the electronics.
| Cambo Fotografische Industrie B.V. Cambo R&D July 2022 |
| This instruction manual is prepared with care, although no responsibility, financial or otherwise, is accepted for any consequences related the information stated in this instruction manual. All specifications in this instruction manual are subject to change without notice. For more information please visit the Cambo web site: www.cambo.com |

















