RGV Up and Down Mini Chopper

Introduction
Dear Customer, thank you for choosing our product and we are confident that this choice will meet Your expectations in full. Before using this equipment, please read carefully this “instruction manual” in order to optimize the functional characteristics and eliminate any problems that may arise from its incorrect or non-compliant use
Important safety instructions
Meaning of warning indications in the booklet
DANGER: Indicates an imminent situation of danger that, if not avoided, may cause serious injury or even death. The use of this term is limited to the most extreme situations.
CAUTION: Indicates a potentially hazardous situation which, if not avoided, could result in serious injury (and in extreme cases death).
WARNING: Indicates a potentially hazardous situation which, if not avoided, may result in minor injuries to personnel or damage to the appliance. It also alerts the user on incorrect operating modes.
Safety warnings essential before use
Carefully read the instructions in this manual as they provide important information for safe installation, use and maintenance. Keep this booklet for any future consultation.
- Before every use, ensure the mechanical intactness of the appliance. The sheath and plug of the power cord must not show any cracking or breakage. If that occurs, or in case of doubts, immediately disconnect the plug from the power socket and bring the appliance to an authorized technical assistance centre for the necessary checks.
- The packaging elements (plastic bags, expanded polystyrene, etc.) must not be left within reach of children as potential sources of danger.
This appliance can be used by children equal or above 8 years of age and by persons with reduced physical, sensory or mental capabilities as well as by persons without the necessary experience or knowledge of the appliance itself ONLY under monitoring of a person in charge of their safety or if trained on the safe use of the appliance and aware of the possible risks deriving from an improper use. Children must not use the appliance as a toy and must not clean nor use the appliance by themselves unless they are above 8 years of age and assisted by an adult. Keep children under the age of 8 away from the appliance and the power cord
- Before connecting the appliance, make sure that the data on the plate correspond to those of the electricity distribution network. The plate is located under the motor body.
- For your safety, it is recommended to supply power through a differential switch (RCD) with a tripping current not exceeding 30 mA.
- In case of incompatibility between the socket and power cable plug, have the socket re-placed with a suitable type by a qualified professional who will also have to make sure that the section of the cord is suitable for the power absorbed by the appliance.
- We do not recommend the use of adapters, multiple sockets and / or extensions.
In case their use should become essential, it is necessary to only use simple or multiple adapters and extensions compliant with the safety standards in force, taking care not to exceed the capacity limit, in terms of current, marked on the simple adapter and on the extensions, and the maximum power one marked on the multiple adapter. - The use of an electrical appliance requires the observance of some fundamental rules. In particular:
- do not touch or use the appliance with wet or damp hands;
- do not use the appliance barefooted;
- do not pull the power cord or the appliance itself to remove the plug from the socket;
- do not leave the appliance exposed to atmospheric agents (rain, sun, etc.);
- do not allow the appliance to be used by children or unskilled persons without super-vision.
- In case of failure and/ or malfunction, turn it off and do not tamper with it. For possible repair, only refer to a technical assistance centre authorized by the manufacturer and request the use of original components and spare parts.
Failure to comply with the above may compromise the safety of the appliance. - If you decide not to use this appliance again, it is advised to make it inoperative by cutting the cord after removing the plug from the socket.
It is also recommended to make harmless those parts which may constitute a danger, espe-cially for children who could use an abandoned appliance as a toy. - Installation must be carried out according to the instructions of the manufacturer. A wrong installation may cause injury the persons, animals or damages to property for which the manufacturer cannot be held liable.
- To avoid dangerous overheating, it is recommended to uncoil the power cord along its entire length and use the appliance as recommended in the “OPERATION” paragraph.
- To avoid overheating, do not operate the machine continuously for more than 20 seconds. If the appliance is to be used in succession, alternate cycles with pauses of at least 20 seconds.
- Do not leave the appliance switched on unnecessarily. Disconnect the mains plug from the power supply when the appliance is not in use.
- Do not obstruct the ventilation or heat disposal openings or slots.
- If the power cord of this appliance is damaged, it must only be replaced by a service centre authorised by the manufacturer, as special tools are required.
- Before carrying out any operation, switch off the appliance and unplug the power plug from the socket.
- Do not connect the appliance to the power supply using external timers or remote control systems.
- Make sure that the power cord does not protrude from the table top to prevent anyone from inadvertently pulling on it and tipping the appliance over
- Place the appliance on a horizontal and stable surface. Make sure that the appliance is placed securely.
- Position the appliance away from sinks and taps.
- Before inserting the plug into the power socket, make sure that the switches are not pressed.
- Do not place food in the bowl (3) if the temperature exceeds 65°C.
Place the food to be blended in the bowl (3) after cutting it into small pieces, then add the liquid, taking care to NEVER exceed the 400ml capacity. - NEVER operate the appliance with the bowl (3) empty.
- Do not use your fingers to remove food residues from the bowl (3) when the blades (4) are present.
- When switching off the appliance, release the switches and watch the blades rotate for a few more moments.
- During operation, the power socket must be easily accessible in case you need to unplug the appliance.
- Do not place the appliance underneath a power socket.
- Do not move the appliance when it is in operation.
- The appliance is not designed for use in the rain and must not be stored outdoors or in damp places.
- Never immerse the motor housing (1) in water or other liquids.
- Before placing or removing the cover from the motor body make sure that both switches are released.
- Do not damage the blades by blending hard foods (coffee, shells, bones, chocolate cubes, ice in solid cubes, etc.).
- Do not attempt to sharpen the blades, replace them if necessary. The blades are very sharp; handle with care.
- Do not use the bowl in a microwave oven.
- The appliance is fitted with a safety switch on the motor housing which does not allow the appliance to be started if the lid is NOT correctly positioned. Do not operate the appliance by manipulating the safety switch.
- Do not use the appliance in environments containing explosives, combustible gases or flammable liquids (paint, glue, spray cans, etc.).
DANGER OF EXPLOSION AND FIRE. - Always switch off the appliance after use and unplug it from the power socket.
- After each use, always thoroughly clean all parts that come into contact with food, as de-scribed under “Cleaning”.
- This appliance is intended for domestic use only. It is not designed for use in other environments such as (which are excluded from the warranty):
- staff break areas in shops; offices and other work environments;
- farms;
- for customers in hotels, motels and other residential environments;
- environments such as bed and breakfast.
- This appliance should be used only for the purpose for which it was expressly designed, i. e. for food processing. Any other use is to be considered improper and therefore dangerous. The manufac-turer cannot be held responsible for any damage resulting from improper, incorrect or unreasonable use.
In the event of problems with the appliance, contact the authorised service centres. Do not attempt to repair the appliance yourself. Any repair work carried out on the appliance by unauthorised personnel will automatically invalidate the warranty, even if the warranty period has not expired.
Disposal of the appliance
The crossed-out wheeled bin symbol on the product and on the accompanying documentation indicates that the product is subject to Directive 2012/19/EU governing the collection, management, treatment and disposal of waste electrical and electronic equipment ( WEEE). When the product reaches the end of its life, it must not be disposed of as normal mixed urban waste but must be subject to separate collection at authorised collection centres. The responsible disposal of waste electrical and electronic equipment contributes to the sustainable reuse and recycling of material resources, as well as to avoiding possible damage to the environment and human health caused by uncontrolled waste disposal. Municipalities organise separate collection facilities for WEEE. For more detailed information on the take-back and collection systems for WEEE, please contact your municipality or your local household waste disposal service. In addition, when purchasing a new equivalent appliance for a household, it is your right to give the used appliance to the distributor free of charge, on a one-to-one basis, who will dispose of it in accordance with the law.
Technical Data
- Power supply……………………………………………….. 230V~ 50/60Hz
- Power……………………………………………………………………………………………..300W
- Speed……………………………………………………………………….1 + PULSE
- Max rotation speed……………………………………………………… 3900 ±15% RPM
- Bowl capacity………………………………………………………………..500 ml
- Appliance dimensions…………………………………156,5 x 234 x h 237 mm
- Gross weight…………………………………………………………………..1,8 Kg
- Net weight…………………………………………………………………………………. 1,48 Kg
Appliance description

Use

- Remove all packaging components and any labels; dispose of them in accordance with the regulations in force.
- When using the appliance for the first time, wash all the components, except the motor body (1), with hot water and normal
dishwashing detergent. Rinse the components thoroughly and dry them before use. - Place the appliance on a horizontal and stable surface. Make sure that all the feet rest on the surface.
- Place the bowl (3) on the motor body (1) and turn the handle (3a) anticlockwise to lock it (Fig. B – page 2).
- Insert the blade (4) into the bowl (3) and position it on the motor pin (1a) (Fig. B – page 2).

The blades (4) are very sharp, handle them very carefully. - Place the foodstuffs to be processed in the bowl (3).
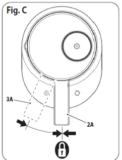
- Place the cover (2) on the bowl (3) and turn the handle (2a) anticlockwise to lock it (Fig. B – page 2).
The appliance will not work if the two handles are not correctly aligned (Fig. C – page 2). - Connect the power plug to the mains socket ensuring that the mains voltage matches that indicated
on the appliance’s nameplate. - Start the appliance
- Press the
key to start continuous operation, press it again to stop. - Press
and hold the key to operate the appliance by pulse.
- Press the
Release the button to stop the appliance.

- Do not operate the appliance continuously for more than 20 seconds.
- If you feel that the motor is having difficulty rotating, gradually add small amounts of liquid.
Before releasing and removing the cover (2) from the bowl (3), wait until the blades have stopped. The blades (4) are very sharp, handle them very carefully. To add liquids to be processed, pour them into the hole (2B). Do not use your fingers to remove food residues from the bowl (3) when the blades (4) are present
Tips
- Do not process cheese, coffee beans, whole chocolate squares, shells, bones, ice in solid cubes, etc., as this may damage the appliance.
- Cut the food to be processed into small pieces (approx. 20x20x20mm).
- Hard vegetables, such as raw carrots, may need to be cut into two and/or four pieces to allow the blades to run and move smoothly.
- Place the food to be processed in the bowl (3). Do not fill beyond the maximum capacity of 400ml. Overfilling the bowl may cause food to spill out and pose a risk to the operator and the appliance.
- Unplug the appliance from the power outlet when not in use.
- For liquid ingredients, set a maximum volume of 400 ml when filling the bowl of the container.
- For better control of the process, briefly press the PULSE key and then release it.
- To grate dry bread or biscuits, break them into small pieces before processing.
- To chop vegetables (e.g. carrots, celery, mushrooms, green peppers, onions): cut vegetables into approximately 2 cm pieces before
processing. This will allow the vegetables to be chopped more optimally and evenly. - Use the appliance to chop parsley, basil, chives or garlic.
- Use the appliance to puree small quantities of cooked fruit or vegetables for baby food or as a base for sauces or soups.
- The table below is purely indicative.
| Food | Weight | Dimensions | Processing time |
| Carrots, onions, etc. | 200g | 20x20x20mm | 10-15 sec. |
| Meat (boneless) | 200g | 20x20x40mm | 10-15 sec. |
| Almonds (or similar) | 250g | / | 15/20 sec. |
Cleaning and Maintenance
- ALWAYS disconnect the plug from the power socket before cleaning.
- Never immerse the motor housing (1) in water or other liquids.
- Never wash the motor housing (1) in a dishwasher.

- When cleaning the motor body (1), use a damp cloth and avoid using abrasive materials or detergents.
- All components except the motor housing (1) can be cleaned with warm water and normal dishwashing detergents. Clean the blade unit (4) thoroughly.
- The bowl (3), the blade unit (4) and the lid (2) can be washed in the dishwasher.

The blades are very sharp, handle them very carefully to avoid injury.
If the blades no longer cut properly, take them to an authorised service centre.
Do not attempt to sharpen the blades.
- Any discolouration of parts of the appliance that come into contact with food (e.g. orange when blending carrots) can be removed using a cloth soaked in cooking oil.
- After use, it is advisable to wrap the power cord in the compartment on the base of the motor body. Before reinserting the power plug into the mains socket make sure that the appliance and all components are completely dry and correctly assembled.
Conventional warranty conditions
This Warranty does not affect your statutory rights under D. Lgs. 02/022002, n. 24. With this guarantee, the manufacturer suggests the Purchaser to address directly a Point of Sale which to comply with the restoration in a fast, safe and unquestionable quality. This Warranty is effective regardless of the evidence that the defect – resulting from manufacturing defects present at the time of purchase of the device, except as provided in paragraph “d” of this text.
- Warranty duration: 24 months from date of purchase.
After the first 12 months of warranty, the warranty on the unit will be managed by the Stores within 12 months of legal guarantee in strict application of the provisions of Legislative Decree 02/022002, n. 24. - The warranty is effective: In case of a request for assistance, the warranty is valid only if you show the warranty certificate together with a document, valid receipt, showing the identification details of the seller, the product and the date on which the purchase was made.
- Warranty extension: Repair DOES NOT stop nor change the duration of the warranty which will expire on its legal deadline.
- Limitations of Warranty: The warranty does not cover any damage resulting from:
- negligence, incompetence, recklessness and carelessness in use (failure to comply with the rules in this manual);
- maintenance not covered in this booklet or performed by unauthor-ized personnel;
- tampering or interventions to increase the power or efficacy of the product;
- incorrect installation (power supply with a voltage other than that listed on the nameplate and in this booklet);
- improper use of the appliance;
- damage due to normal wear and tear of the components, impacts, falls, transport damage.
- the guarantee does not cover the repair / replacement of parts subject to wear during normal use of the product (hooks, kneading, blades, belts, connectors …).
- Costs: In cases not covered by the warranty, the manufacturer reserves the right to charge the customer the cost of repair or replacement of the appliance.
- Manufacturer’s responsibility: The manufacturer is not liable for any damage that may directly or indirectly affect persons, property or pets as a consequence of failure to omply with all the requirements set out in this “Instructions for Use” booklet and concerning especially the warnings regarding installation, use and maintenance.
Fill out the spaces below for validation of the Guarantee

R.G.V. srl
Via Giovanni XXIII, n°11 22072 Cermenate (CO) Italy Tel. +39 031 722819 Fax +39 031 722825 www.rgv.it Ed.: 03/2022


key to start continuous operation, press it again to stop.
and hold the key to operate the appliance by pulse.



















