CAMBO RPS-180 Levelling Unit Pro
Please read this manual carefully before using the RPS-180.
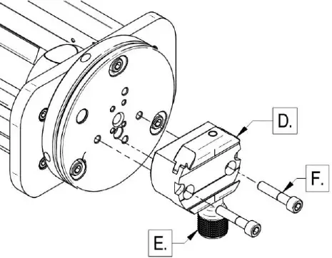
Features
- A. Camera plate knob 3/8
- B. Levelling screws, 3x hexagon bolt (Allen Key 5mm)
- C. Vert adjustment screws, 2x hexagon set screws (Allen Key 4mm)
- D. Cambo quick release clamp, Arca compatible
- E. Quick release clamp knob
- F. Quick release position screws, 2x hexagon bolt (Allen key 5mm)
- G. Cross Arm positioning slot
- H. RPS-180 Positioning screws
Placement:
- To fix the RPS-180 to the RPS cross arm, place the RPS-180 positioning screws H in the RSP cross arm slot G.
- Fix the RPS-180 into position by tightening Camera plate knob A firmly.
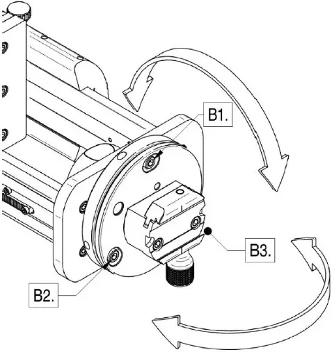
Levelling the Camera using the RPS-180 level disc
- Place the RPS-180 level disc on the top of the RPS-180.
- Adjust the levelling screws (B) to level the camera in the horizontal plane.
- Adjust the vertical plane by using the vert adjustment screws (C). Screw B2 and B3 tilts and swings the camera, by tightening or loosening the screws B2 and B3.
- Note: only in exceptional circumstances screw B1 is used this is only then the adjustments of B2 and B3 are not sufficient.
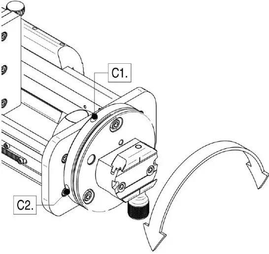
RPS-180 Horizontal plane adjustment
The RPS-180 level head features an horizontal plane adjustment of +/- 5 degrees. To adjust the horizontal plane position, use the two setscrews C1 and C2 (Allen key 4mm).
ATTENTION: for the adjustment always loosen one of the screws and then tighten the other. When tightening the setscrews, don’t overt-tighten (fixed = fixed).
To adjust the level counter clockwise , loosen C2. until the camera is levelled, then tighten screw C1. To adjust the level clockwise , fully loosen C1 then tighten screw C2, until the camera is levelled, then tighten C1.
RPS-180 Vertical plane adjustment
To adjust the vertical plane please use the level screws (B.). Screw B2 and B3 tilts and swings the camera, by tightening or loosening the screws B2 and B3.
Note: only in exceptional circumstances screw B1 is used this is only then the adjustments of B2 and B3 are not sufficient.
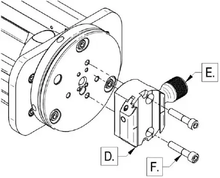
Changing the RPS-180 QR clamp orientation
- Remove bolts F using a 5mm Allen key.
- Rotate the QR clamp D counter clockwise so the clamp knob E is pointing towards the right (seen from front).
The orientation of the RPS-180 QR clamp (D.) can be changed from horizontal (default) to vertical. A vertical QR clamp position may be desired when using a rail based Repro camera like the ACTUS-Repro. To change the QR clamp orientation remove bolts F using a 5mm Allen key. Rotate the QR clamp D counter clockwise so the clamp knob E is pointing towards the right (seen from front). 
RPS-180 QR Clamp orientation
Note: A vertical QR clamp position may be desired when using a rail based Repro camera like the ACTUS-Repro.
RPS-180 Level disc
RPS-180 Level disc Features.
- A. Camera plate knob 3/8”
- B. Levelling screws, 3x hexagon bolt (Allen Key 5mm)
- C. Vert adjustment screws, 2x hexagon set screws (Allen Key 4mm)
- D. Cambo quick release clamp, Arca compatible
- E. Quick release clamp knob
- F. Quick release position screws, 2x hexagon bolt (Allen key 5mm)
- G. Cross Arm positioning slot
- H. RPS-180 Positioning screws

RPS-180 Placement
To fix the RPS-180 to the RPS cross arm, place the RPS-180 positioning screws H in the RSP cross arm slot G and fix the RPS-180 into position by tightening Camera plate knob A firmly.


















