FANMASTER CF2000 Electric Pedestal, Wall Carbon Fibre Heater Instruction Manual
FOR YOUR INFORMATION
Thank you for purchasing a Fanmaster diesel heater. Please read this instruction manual carefully before using this heater.
Disclaimer:
Fanmaster reserves the right to make alterations to specifications, quantities, dimensions, for production or other reasons, subsequent to publication. While we believe the information is accurate and complete, we make no warranty or representation for any particular purposes. The information is offered in good faith and with the understanding that any use of the units or accessories in breach of the directions and warnings in this document is at the sole discretion and risk of the user.
Disposal Guidelines:
Do not dispose of this product with general household waste. This product must be disposed according to the laws governing Waste Electrical and Electronic Equipment. If required, contact your local authorities for information regarding the available disposal facilities.
GENERAL SAFETY RULES & WARNINGS
PLEASE READ INSTRUCTIONS CAREFULLY.
- PLACE INSTRUCTION MANUAL IN A SAFE PLACE FOR FUTURE REFERENCE. DO NOT ALLOW ANYONE WHO HAS NOT READ THESE INSTRUCTIONS TO ASSEMBLE, ADJUST OR OPERATE THIS HEATER.
- IF THE INFORMATION IN THIS MANUAL IS NOT FOLLOWED EXACTLY, A FIRE OR EXPLOSION MAY RESULT IN CAUSING PROPERTY DAMAGE, SERIOUS INJURY OR LOSS OF LIFE.
- FAILURE TO COMPLY WITH THE PRECAUTIONS AND INSTRUCTIONS PROVIDED WITH THIS HEATER, CAN RESULT IN DEATH, SERIOUS INJURY AND PROPERTY LOSS OR DAMAGE FROM HAZARDS OF FIRE, EXPLOSION, BURN, AND/OR ELECTRICAL SHOCK
- ONLY PERSONS WHO CAN UNDERSTAND AND FOLLOW THE INSTRUCTIONS SHOULD USE OR SERVICE THIS HEATER. IF YOU NEED ASSISTANCE OR REQUIRE HEATER INFORMATION SUCH AS AN INSTRUCTION MANUAL, LABELS, ETC. CONTACT FANMASTER.
- DO NOT STORE OR USE GASOLINE, PETROL OR ANY OTHER FLAMMABLE OR COMBUSTIABLE VAPORS AND LIQUIDS IN THE VICINITY OF THIS HEATER.
- FIRE, BURN, INHALATION, AND EXPLOSION HAZARD. KEEP SOLID COMBUSTIBLES, SUCH AS BUILDING MATERIALS, PAPER OR CARDBOARD, A SAFE DISTANCE AWAY FROM THE HEATER AS RECOMMENDED BY THE INSTRUCTIONS. NEVER USE THE HEATER IN SPACES WHICH DO OR MAY CONTAIN VOLATILE OR AIRBORNE COMBUSTIBLES, OR PRODUCTS SUCH AS GASOLINE, SOLVENTS, PAINT THINNER, DUST PARTICLES OR UNKNOWN CHEMICALS
- NOT FOR DOMESTIC OR RECREATIONAL VEHICLE USE
- THE ELECTRICAL SYSTEM TO WHICH THE APPLIANCE IS CONNECTED MUST COMPLY WITH LOCAL REGULATIONS. A RESIDUAL-CURRENT DEVICE (RCD) MUST BE INSTALLED
- UNPLUG THE APPLIANCE BEFORE PERFORMING ANY MAINTENANCE OPERATIONS.
- ALWAYS CHECK THE POWER CABLE BEFORE USING THE APPLIANCE. IT MUST NOT BE BENT, TAUT, STRETCHED, CRUSHED OR ANY WAY DAMAGED.
- IF THE POWER CORD AND/OR PLUG IS DAMAGED, IT MUST BE REPLACED BY FANMASTER, A SERVICE AGENT OR A QUALIFIED PERSONS.
- DO NOT COVER THE FAN HEATER
- THE FRONT OUTLET IS VERY HOT DURING OPERATION. DO NOT TOUCH! BURN DANGER.
- DO NOT LEAVE THE HEATER UNATTENDED WHEN IN USE.
- NEVER USE THE HEATER WITH WET HANDS OR WHEN EITHER THE HEATER OR THE POWER CABLE IS WET.
- CHILDREN SHOULD BE SUPERVISED TO ENSURE THAT THEY DO NOT PLAY WITH THE HEATER.
- THE HEATER IS NOT INTENDED FOR USE BY PERSONS (INCLUDING CHILDREN) WITH REDUCED PHYSICAL, SENSORY OR MENTAL CAPABILITIES, OR LOCK OF EXPERIENCE & KNOWLEDGE.
- Parts of the heater may exceed 200° , contact with the heating tube, reflector, or metal parts near the heating tube, may cause severe BURNS . To avoid burns, do not let bare skin touch hot surface
- NEVER place hands under the heating elements. ALWAYS allow heating element to cool at least 10 minutes before touching the heating tube or adjacent parts.
- This product contains recyclable materials. Do not dispose this product as unsorted municipal waste. Please contact your local municipality for the nearest collection point
- A heater has hot and arcing or sparking parts inside. Do not use it in areas where gasoline, paint, or flammable liquids are used or stored.
Warning – to reduce the risk of fire
Caution: Keep combustible materials, such as fumitory, pil- lows, curtains at least 3feet (0.9m) from the front of the heater and keep them away from the sides and rear.
Caution: Do NOT use with an extension cord or reloadable power tap (out- let/power strip).
Caution: Hot surface, do NOT touch.
Caution: Do NOT cover with cts such as blanket on the heater.
PRODUCT DESCRIPTION & SPECIFICATIONS
PRODUCT DESCRIPTION
ELECTRIC PEDESTAL/WALL CARBON FIBRE HEATER
SPECIFICATIONS
| Model | CF2000 |
| Heat Output | 2000W 6824.28 BTU |
| Element Type | Carbon Fibre Lamp |
| Control Settings | Remote Contol, 4 Power Settings, Timer Control |
| Settings (W) | 2000 |
| Voltage (V/Hz) | 50-60 |
| Current Rating (A) | 10 |
| Net Weight | 2.8 |
| Dimensions (mm) | 910 x 175 x 10 |
Replacement element: SP-CF2000-ELEMENT
SAFETY DEVICES
This heater has the following protection devices:
- Tilt Switch – this will automatically turn the heater off if it is not in the appropriate operating position, fallen over on its front or side.
GETTING TO KNOW YOUR HEATER

| 1 | SWITCH |
| 2 | HEATING ELEMENT |
| 3 | BRACKET |
| 4 | CABLE |
| 5 | SAFETY BAR |
| 6 | COVER/GRILLE |
| 7 | REMOTE |
Remote Control Instructions
- POWER BUTTON: Turn the heater on/off.
- UP BUTTON: Increase timer and level,
- DOWN BUTTON: Decrease timer and level
- LEVEL BUTTON: Use to adjust the heat levels(L1-L4). Press the Level button, then use the up and down buttons(buttons 2 and 3)to increase or decrease the heating level.
- TIMER BUTTON: Set the timer from OH-24H, which is the number of hours it will run. OH will is play and then adjust to the number of hours you would ke to set, using the p and down buttons(2 and 3).
Noted: The heaters and their remote controls have the same frequency, so it s possible to control several heaters with just one remote.
CONTROL FUNCTIONS
![]() | Turn ON or turn OFF the heater |
![]() | Push the button repeatedly to decrease power level/timer |
![]() | Push the button repeatedly to increase power level/timer |
![]() | Set the time from 0H-24H, when the timer ends, the heater will stop automatically. To cancel, set the time to 0 hour. |
![]() | Set the power level from L1-L4 |
PUSH BUTTON: The heater can be operated manually by pressing the push button on the right side of the heater.
ASSEMBLING & OPERATING INSTRUCTIONS
- The heater must be properly installed before use.
- The heater can be used indoors or in a well-protected outdoor area.
- User-operated equipment intended to decrease the risk of fire, electric shock, or personal damage; must be used in accordance with instructions.
- Do not alter the heater structure without the guidance of a licenced electrician.
** Please note any modifications to unit will void warranty ** - Position the heater so it stands upright & is on a firm surface (when used as a pedestal) and at a safe distance from wet environments and flammable objects.
- Connect the plug to the relevant power source.
- Set the thermostat knob to the MAX & let the heater operate on full power for 2 minutes then adjust accordignly.
- DO NOT TURN THE HEATER OFF FROM THE POWER SOURCE
Installation Accessories:
| 1 | Bracket | L shape | 4PCS |
| 2 | Screw | M6mm 6omm | 4PCS |
| 3 | Nut | M6mm | 2PCS |
| 4 | gasket | 6mm 1mm | 2PCS |
| 5 | Screw | M6mm 12mm | 2PCS |
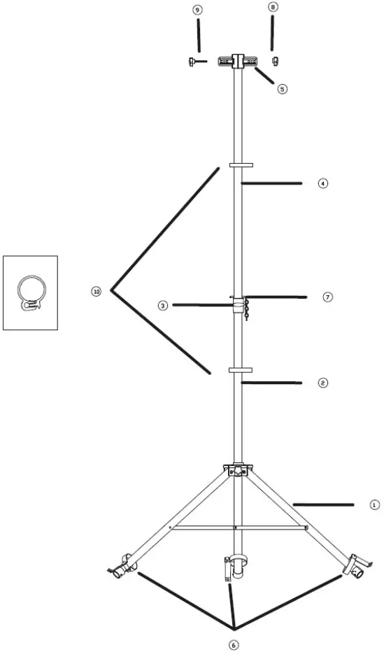
Wall mounted installation
| 1 | FOOT |
| 2 | LOWER TUBE |
| 3 | ADJUSTMENT HAND KNOB |
| 4 | TOP TUBE |
| 5 | L SHAPE BRACKET |
| 6 | FIX BRACKET & SCREWS |
| 7 | FIXED AXEL PIN |
| 8+9 | NUT |
| 10 | LEAD CLIP |

Ensure heater is switched off before installation
Tripod Installation:
- Loosen the screws on the back of the heater head.
- Fix brackets to the back of the heater head.
- Loosen the knobs (5)
- Attached brackets to knob
- Tighten adjustment knob and screws

Wall Mounted Installation:
Install between a 0° to 60° angle. Anything past this point will engage the tip switch (E2), turning off th heater.
CLEANING, MAINTENANCE & STORAGE
MAINTENANCE
Attention! Maintaining your heater regularly and carefully according to our guidelines is crucial if you want to ensure its long and reliable service life. Make sure the Reflector and IR-Filament are cleaned at least once a month. Observe upkeep and cleaning procedures whenever required. Due to the high levels of dust in the air, it is possible that the frequency of inspections will need to be increased. While cleaning the device, visually inspect the Reflector, Wire, and Frame for signs of deformation.
In the event of distortion, contact customer care for assistance. When you’re cleaning the device, give the power cord and plug a quick visual inspection. Get in touch with your technical support team if you notice any deformation.
CLEANING
Frequent and meticulous cleaning keeps your infrared heater running smoothly for many years. Follow the procedures below to clean your heater:
- To ensure your safety, unplug the power cord before cleaning your appliance.
- Before proceeding, ensure that the heater is completely cool.
- To maintain the heater clean, use a soft, wet cloth to clean the outer shell. If necessary, use a mild detergent. After cleaning, use a soft cloth to dry the unit. (WARNING: DO NOT ALLOW LIQUIDS TO ENTER THE HEATER).
- DO NOT clean the heater with alcohol, gasoline, abrasive powders, furniture polish, or rough brushes. This may cause damage or deterioration to the heater’s surface.
- DO NOT put the heater in water.
- Do not use the heater until it is entirely dry. While not in use, keep the heater in a cool, dry place to avoid dust and grime build up. To store, use a packaging carton.
TROUBLESHOOTING
| PROBLEM | CAUSE | SOLUTION |
| E1 ERROR | UNIT OVERHEATING | Step 1: Wait an hour until heater has cooled down. Step 2: The product will be in standby mode (- -); Step 3: Readjust the heating level by the remote control |
| E2 ERROR | TIP OVER FUNCTION | Step 1: Make sure the installation angle of the heater is correct 2. Press PUSH BUTTON and repress this button 3. Continue to use the heater by PUSH BUTTON or remote control |
The heater must be installed at least 2.4M above the floor grade
Attention: cable should not passing thought the heater
LED Display
WARRANTY
Any claim under this warranty must be made within 12 months of the date of purchase of the product. To make a claim under the warranty, take the product (with proof of purchase) to the store where you purchased the product or go to https://www.fanmaster.com.au/ warranty-claims-returns.
This warranty is given by Fanmaster Pty Ltd ABN: 45 353 934 457 Unit 1/6-8 Yalgar Rd, KIRRAWEE NSW 2232 P: 1300 900 345 E: warranties@fanmaster. com.au This warranty is provided in addition to other rights and remedies you have under law: Our goods come with guarantees which cannot be excluded under the Australian Consumer Law. You are entitled to replacement or refund for a major failure and to compensation for other reasonably foreseeable loss or damage. You are also entitled to have the goods repaired or replaced if the goods fail to be of acceptable quality and the failure does not amount to a major failure.
Exclusions: This warranty does not cover:
- Any defects caused by an accident, misuse, abuse, improper installation or operation, lack of reasonable care, unauthorized modification, loss of parts, tampering or attempted repair by a person not authorized by the distributor.
- Any product that has not been installed, operated or maintained to a satisfactory level.
- Any damage caused by improper power input or improper cable connection.
Fanmaster Pty Ltd | 1/6-8 Yalgar Road, Kirrawee NSW 2232 1300 900 345
[email protected]
ww.fanmaster.com.au


























