DEFIANT DFI-7167-WH 180° White 3-in-1 Compact Solar Motion Activated Integrated LED Outdoor Flood Light

Safety Information
PRECAUTIONS
- Please read and understand this entire manual before attempting to assemble, install, or operate this light fixture.
- This light fixture should be installed outdoors to a wall, eave, gutter, or post.
- The light fixture should be mounted approximately 8 ft. (2.4 m) above the ground.
- Do not cut the solar panel wire. Discontinue use if the wire becomes frayed or broken.
- Do not immerse components in liquid.
- Do not use any other charging device other than the single solar charging panel provided with this light. Doing so may result in injury or damage to the light and voids any warranty.
- Position the cord so that it is securely fastened and will not result in a hazard (such as tripping).
Warranty
WHAT IS COVERED
This product is guaranteed to be free of factory defective parts and workmanship for a period of 3 years from date of purchase. Purchase receipt is required for all warranty claims.
WHAT IS NOT COVERED
This guarantee does not include repair service, adjustment and calibration due to misuse, abuse or negligence, or LEDs. Unauthorized service or modification of the product or of any furnished component will void this warranty in its entirety. This warranty does not include reimbursement for inconvenience, installation, setup time, loss of use, unauthorized service, or return shipping charges. This warranty is not extended to other equipment and components that a customer uses in conjunction with this product. The manufacturer reserves the right to discontinue products and to change specifications at any time without incurring any obligation to incorporate new features in products previously sold.
No service parts available for this product. Contact the Customer Service Team at 1-866-308-3976 or visit www.homedepot.com.
Pre-Installation
PLANNING INSTALLATION
Before installing the light fixture, ensure that all parts are present. Compare parts with the Hardware Included and Package Contents sections. If any part is missing or damaged, do not attempt to assemble, install, or operate this light fixture. Estimated installation time: 30 minutes
INITIAL BATTERY CHARGE
- PRIOR TO USE, the battery will require 2 to 5 days of full sun to completely charge with the control dial in the OFF position. Plug the solar panel cable into the connector extending from the side of the light fixture. If possible, aim the solar panel toward the south and tilt it approximately 50° from horizontal. If the solar panel cannot be aimed toward the south, then tilt the panel approximately 30° if possible.
- Actual operating time will vary depending upon how frequently the light is turned on by the motion sensor.
- Solar lighting is not designed to equal standard 120V lighting. The amount of light output is reduced to allow the sun time to fully recharge the battery between lighting cycles.
- Solar collection is only effective in direct sunlight. Every hour the light is on requires a minimum of 16 hours of sunlight charging. Solar panels collect less than 10% of the sun’s energy.
MOUNTING LOCATION
The most important thing to remember for the operation of your solar powered motion sensing light is that it works from the power received from direct sunlight. The more direct sunlight the solar panel receives in a day, the longer the light will operate.
SOLAR LIGHT FIXTURE
The main unit contains the LEDs and motion sensor. When deciding where to mount this unit, keep in mind that the motion sensor that activates the light has a “field of vision” of 40 feet (12 meters) in front of the light and about 180° detection angle at a surrounding air temperature of 77° F (25 °C).
SOLAR PANEL
The solar panel converts the sun’s energy into electricity, thus charging the battery stored in the solar panel. The solar panel requires direct sunlight falling onto the face of the solar panel for as long as possible over the course of the day. When choosing the location for the solar panel, make sure it is aimed toward the south and is tilted to a suitable angle to allow as much direct sunlight to fall upon it as possible. Make sure there is a minimum amount of obstructions between the solar panel and the sun. Also, make sure your solar panel location is not too far away from the solar light fixture for the wires to reach and connect.
SPECIFICATIONS

TOOLS REQUIRED

HARDWARE INCLUDED

PACKAGE CONTENTS

Installation
Determining the mounting location

- NOTE: The light fixture should be mounted approximately 8 ft. (2.4 m) above the ground.
- NOTE: Ensure the fixture and the solar panel are located close enough together for the cord to reach.
This light fixture has been designed to mount to multiple surfaces. Choose the desired location and then the mounting method that is best for that location.
- Determine the mounting surface – wall, eave, gutter, or post mount.
- Position the lamp head (A) in the general direction of the desired light coverage.
Setting the sensor for wall, gutter, post, or eave mounting

- For wall, gutter, or post mounting, turn the ring (1) around the sensor (C) clockwise until the “W” and the single indicator is aligned with the mark on the front of the sensor (C).
- For eave mounting, turn the ring (1) around the sensor (C) counterclockwise until the “E” and the double indicator is aligned with the mark on the front of the sensor (C).
Installing the light fixture:
This light fixture (B) has been designed to mount to multiple surfaces. Choose the desired location and then the mounting method that is best for that location.
- Wall or eave mount – proceed to step 3.
- Gutter mount – proceed to step 4, page 8.
- Post mount – proceed to step 5, page 8.
Installing the light fixture to a wall or eave

NOTE: Make sure there is enough vertical space above the mounting plate to allow the light fixture to be mounted
- Place the mounting plate (F) against the mounting surface and ensure the mounting plate (F) is level. Mark the hole locations.
- If mounting to a wooden surface, drill two 3/32 in. holes into the mounting surface. Install the two mounting screws (AA) through the mounting plate (F) and into the mounting surface.
- If mounting to wall board or brick, drill two 7/32 in. holes into the mounting surface. Insert the wall anchors (BB) and attach the mounting plate (F) using the two mounting screws (AA).
- Slide the rear of the light fixture (B) down onto the mounting plate (F) until it snaps into place.
Installing the light fixture to the gutter

- Align the slide mounts on the back of the mounting plate (F) with the slide mounts on the gutter mount bracket (G).
- Slide the two pieces together until a “snap” sound is heard.
- Slide the rear of the light fixture (B) down onto the mounting plate (F) until it snaps into place.
- Slide the gutter mount bracket (G) over the edge of the gutter.3
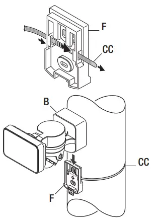
Installing the light fixture to a post

- Slide the zip tie (CC) through the slots on the side of the mounting plate (F).
- Wrap the zip tie (CC) around a post ensuring that the words “THIS SIDE OUT” on the mounting plate (F) is facing away from the post. Tighten the zip tie/mounting plate (CC/F) securely to the post.
- Slide the rear of the light fixture (B) down onto the mounting plate (F) until it snaps into place.
To remove the zip tie (CC) from the mounting plate (F), press the tab on the zip tie (CC) to release the zip tie (CC). Slide the zip tie (CC) out of the mounting plate (F).
Mounting the solar panel

IMPORTANT: Caulk around the base and on top of the screw heads after installation.
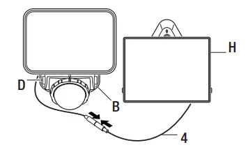
NOTE: Wrap any excess solar panel cable around the cord management system (3) located on the rear of the solar panel base. Leave enough loose cable to form a drip loop (4).
- Place the solar panel (H) against the mounting surface ensuring that the arrow is pointing up and mark the mounting holes.
- If mounting to a wooden surface, drill two 3/32 in. holes into the mounting surface. Install the two mounting screws (AA) through the base and into the mounting surface.
- If mounting to wall board or brick, drill two 7/32 in. holes into the mounting surface. Insert the wall anchors (BB) and attach the base using the two mounting screws (AA).
Adjusting the solar panel

- Rotate the solar panel (H) to the desired angle.
Connecting the solar panel to the light fixture

- Carefully route the solar panel (H) cable to the light fixture (B). Insert the end of the cable into the cable from the side of the light fixture (B).
- Leave enough loose cable to form a drip loop (4).
Operation
Adjusting the lamp head

- If needed, gently grasp the lamp head (A) and tilt it up or down or side to side to adjust the light coverage area.
Determining the motion sensor detection zone

NOTE: When the control dial is set to the “TEST” position, the light will operate during the day or night. The light will stay on for 5 seconds after all motion is stopped.
NOTE: The motion sensor will need to completely warm up (up to 30 seconds) before beginning the setup process.
- Turn the control dial (D) to the TEST position.
- Turn the sensitivity dial (E) to the “L” position.
- Perform a “walk test”: walk in an arc across the front of the motion sensor (C).
- Watch the light (B). The light (B) will come on indicating motion has been detected.
- Stop, wait for the light (B) to turn off, and then begin walking again.
- Continue this process until the detection zone has been established.
Adjusting the sensitivity

- If needed during the “walk test”, turn the sensitivity dial (E) to the desired sensitivity (“L”, “M”, “H”).
NOTE: The motion sensor is more sensitive to motion moving across the front of the sensor. The motion sensor is less sensitive to motion moving directly toward the sensor.
NOTE: The higher the sensitivity setting, the greater the possibility of false triggering. To reduce false triggering, turn the sensitivity dial to the “L” or “M” position.
Adjusting the light timer

NOTE: The light timer controls the amount of time the light will stay on full bright after all motion has stopped. The timer is preset to 60 seconds.
- Turn the control dial (D) to the “60S” (60 second) position for the light (B) to operate automatically at night.
Using the OFF control

If the light (B) will not be used for several weeks, turn the unit OFF. Store it with the panel connected and where the panel can gather sunlight.
- Turn the control dial (D) to the OFF position to turn the light (B) off and to conserve the battery life.
Care and Cleaning
- To prolong the original appearance, clean the light fixture with clear water and a soft, damp cloth only.
- Periodically clean the solar panel with a soft cloth and warm water. Do not hose spray. Keep the panel clear of snow and leaves. Make sure trees and other objects do not block sunlight from the panel.
- Do not use paints, solvents, or other chemicals on this light fixture or solar panel. They could cause a premature deterioration of the finish. This is not a defect in the finish and will not be covered by the warranty.
- Do not spray the light fixture with a hose or power washer.
- If not to be used for several weeks, turn the unit OFF. Store it with the panel connected and where the panel can gather sunlight.
Troubleshooting

FCC
This device complies with Part 15 of the FCC Rules. Operation is subject to the following two conditions: (1) this device may not cause harmful
interference, and (2) this device must accept any interference received, including interference that may cause undesired operation.
Warning: Changes or modifications to this unit not expressly approved by the party responsible for compliance could void the user’s authority to operate the equipment.
Note: This equipment has been tested and found to comply with the limits for a Class B digital device, pursuant to part 15 of the FCC Rules. These limits are designed to provide reasonable protection against harmful interference in a residential installation. This equipment generates, uses and can radiate radio frequency energy and, if not installed and used in accordance with the instructions, may cause harmful interference to radio communications. However, there is no guarantee that interference will not occur in a particular installation. If this equipment does cause harmful interference to radio or television reception, which can be determined by turning the equipment off and on, the user is encouraged to try to correct the interference by one or more of the following measures:
- Reorient or relocate the receiving antenna.
- Increase the separation between the equipment and receiver.
- Connect the equipment into an outlet on a circuit different from that to which the receiver is connected.
- Consult the dealer or an experienced radio/TV technician for help.
This device contains licence-exempt transmitter(s)/receiver(s) that comply with Innovation, Science and Economic Development Canada’s licence-exempt
RSS(s). Operation is subject to the following two conditions:
- This device may not cause interference.
- This device must accept any interference, including interference that may cause undesired operation of the device.
FCC Responsible Party Name: HeathCo LLC
Address: 2445 Nashville Road, Bowling Green, KY 42101 U.S.A. Telephone Number: 800-858-8501 CAN ICES-005 (B)/NMB-005 (B)
Questions, problems, missing parts?
Before returning to the store, call Defiant Customer Service
8 a.m.-7 p.m., EST, Monday-Friday, 9 a.m. – 6 p.m., EST, Saturday
1-866-308-3976
HOMEDEPOT.COM

















