Paul Neuhaus 835793 PURE LINES LED ceiling light anthracite frame 110x30cm

This product contains a light source of energy efficiency class F.

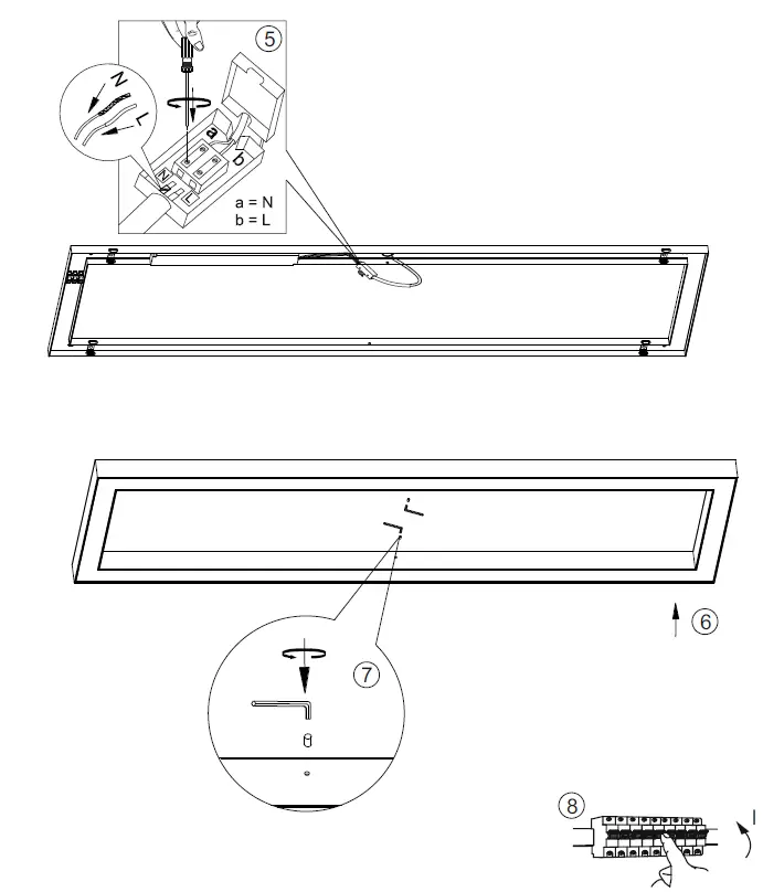
INSTALLATION


REMOTE CONTROL




This product contains a light source of energy efficiency class F.





Download manual
Here you can download full pdf version of manual, it may contain additional safety instructions, warranty information, FCC rules, etc.