![]()
1960s CANISTER TASK TABLE LAMP WITH WIRELESS CHARGING – ASSEMBLY INSTRUCTIONS
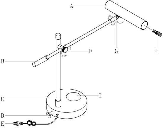
PARTS ENCLOSED:
(A) Lamp shade (1)
(B) Arm handle (1)
(C) Lamp base (1)
(D) ON/OFF rotating knob
(E) Plug
(F) Arm knob (1)
(G) Shade joint (1)
(H) LED bulb (1)
(I) Charging pad (1)
1960s CANISTER TASK TABLE LAMP WITH WIRELESS CHARGING

IMPORTANT SAFETY INSTRUCTIONS:
For safety purposes, this lamp is equipped with a polarized plug (one blade is wider than the other). If the plug does not fit securely into your outlet, do not force it – contact a professional electrician. Use the plug with an extension cord only if it can be fully inserted into the cord’s socket. Never alter the plug in any way.
This lamp has been rated for up to (1) 5w max LED bulb (included); only an LED bulb can be used. To avoid the risk of fire, do not exceed the recommended wattage.
WARNINGS:
All wires are connected. When unpacking, be careful not to pull wires, as a bad connection may result. Do not connect electricity until your lamp is fully assembled. To reduce the risk of fire, electrical shock, or personal injury, always turn off the lamp and allow it to cool prior to replacing the lightbulb. Do not touch bulb when lamp is turned on or look directly at lit bulb. Keep flammable materials away from lit bulb.
THIS PRODUCT IS NOT A TOY AND HAS NO PLAY VALUE.
WARNING: STRANGULATION HAZARD
Keep cord at least 3 feet away from cribs, bassinets, and toddler beds. Keep out of reach of children under 3 years of age.
ASSEMBLY & INSTALLATION:
- Carefully remove all parts from the box and remove plastic coverings.
- Carefully place the lamp base (C) on a tabletop.
- Adjust the lamp shade (A) with shade joint (G) using arm knob (F) and arm handle (B) to get the desired angle and height. Follow the steps below to adjust the knob.
A. To adjust the position of the arm, lift up the arm handle to loosen the arm knob.
B. Loosen the arm knob and adjust the arm to the desired angle, then tighten the knob. You don’t need to lock the knob with much force; just push the arm handle down a little to hold the lamp in position. - Insert the LED bulb (H) into the socket and turn to tighten.
- Insert plug (E) into proper electrical outlet and test the lamp.
- Turn the rotating on-off switch (D) on the base to turn the light on or off.
- Place your cell phone on the charging pad (I) to charge as needed.
- Assembly is complete.
CARE INSTRUCTIONS:
Do not use polishes or cleaners, as they may damage the finish.
Wipe clean with a soft, dry cloth.
This device complies with Part 15 of the FCC Rules. Operation is subject to the following two conditions: (1) this device may not cause harmful interference, and (2) this device must accept any interference received, including interference that may cause undesired operation.
Caution: The user is cautioned that changes or modifications not expressly approved by the party responsible for compliance could void the user’s authority to operate the equipment.
NOTE: This equipment has been tested and found to comply with the limits for Class B digital devices, pursuant to part 15 of the FCC Rules. These limits are designed to provide reasonable protection against harmful interference in a residential installation. This equipment generates, uses, and can radiate radio frequency energy and, if not installed and used in accordance with the instructions, may cause harmful interference to radio or television reception, which can be determined by turning the equipment off and on. The user is encouraged to try to correct the interference by one or more of the following measures:
- Reorient or relocate the receiving antenna.
- Increase the separation between the equipment and the receiver.
- Connect the equipment into an outlet on a circuit different from that to which the receiver is connected.
- Consult the dealer or an experienced radio/TV technician for help.
This equipment complies with FCC radiation exposure limits set forth for an uncontrolled environment. This equipment should be installed and operated with a minimum distance of 20cm between the radiator and any part of your body.
This equipment complies with ISED RSS-102 radiation exposure limits set forth for an uncontrolled environment. This equipment should be installed and operated with a minimum distance of 20cm between the radiator and any part of your body.
This device contains licence-exempt transmitter(s)/receiver(s) that comply with Innovation, Science and Economic Development Canada’s licence-exempt RSS(s). Operation is subject to the following two conditions: This device may not cause interference.
This device must accept any interference, including interference that may cause undesired operation of the device.



















