
DECLAN TASK TABLE LAMP WITH WIRELESS CHARGING
ASSEMBLY INSTRUCTIONS
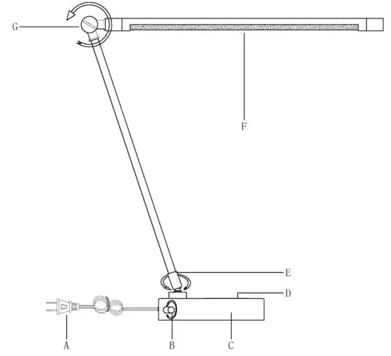
PARTS ENCLOSED:
(A) Plug (1)
(B) ON/OFF rotating switch (1)
(C) Lamp base (1)
(D) Charging pad (1)
(E) Arm joint (1)
(F) Lamp shade (1)
(G) Shade joint (1)
IMPORTANT SAFETY INSTRUCTIONS:
For safety purposes, this lamp is equipped with a polarized plug (one blade is wider than the other). If the plug does not fit securely into your outlet, do not force it – contact a professional electrician. Use the plug with an extension cord only if it can be fully inserted into the cord’s socket. Never alter the plug in any way.
This lamp is designed for use with LED strips. To avoid the risk of fire, do not alter the lamp for use with any other LED strips.
WARNINGS:
All wires are connected. When unpacking, be careful not to pull wires, as a bad connection may result. Do not connect electricity until your lamp is fully assembled. To reduce the risk of fire, electrical shock, or personal injury, always turn off and unplug lamp and allow it to cool prior to replacing light strip. Do not touch the LED strip when lamp is turned on. Keep flammable materials away from lit LED strip.
THIS PRODUCT IS NOT A TOY AND HAS NO PLAY VALUE.
WARNING: STRANGULATION HAZARD
Keep cord at least 3 feet away from cribs, bassinets, and toddler beds. Keep out of reach of children under 3 years of age.
This device complies with Part 15 of the FCC Rules. Operation is subject to the following two conditions: (1) this device may not cause harmful interference, and (2) this device must accept any interference received, including interference that may cause undesired operation.
Caution: The user is cautioned that changes or modifications not expressly approved by the party responsible for compliance could void the user’s authority to operate the equipment.
NOTE: This equipment has been tested and found to comply with the limits for Class B digital devices, pursuant to part 15 of the FCC Rules. These limits are designed to provide reasonable protection against harmful interference in a residential installation. This equipment generates, uses, and can radiate radio frequency energy and, if not installed and used in accordance with the instructions, may cause harmful interference to radio or television reception, which can be determined by turning the equipment off and on. The user is encouraged to try to correct the interference by one or more of the following measures:
- Reorient or relocate the receiving antenna.
- Increase the separation between the equipment and the receiver.
- Connect the equipment into an outlet on a circuit different from that to which the receiver is connected.
- Consult the dealer or an experienced radio/TV technician for help.
ASSEMBLY & INSTALLATION:
- Carefully remove all parts from the box and remove all plastic coverings.
- Carefully place the lamp base (C) on a tabletop.
- Adjust the shade (F) with shade joint (G) and adjust the arm with arm joint (E) to get the desired lamp angle.
- Insert plug (A) into proper electrical outlet and turn the ON/OFF rotating switch (B) to test the lamp.
- If a cell phone needs to be charged, place on the charging pad (D).
- Assembly is complete.
CARE INSTRUCTIONS:
Do not use polishes or cleaners, as they may damage the finish. Wipe clean with a soft, dry cloth.
This equipment complies with FCC radiation exposure limits set forth for an uncontrolled environment. This equipment should be installed and operated with a minimum distance of 20cm between the radiator and any part of your body.
This equipment complies with ISED RSS-102 radiation exposure limits set forth for an uncontrolled environment. This equipment should be installed and operated with a minimum distance of 20cm between the radiator and any part of your body.
Pour se conformer aux exigences de conformité CNR 102 RF exposition, une distance de séparation d’au moins 20 cm doit être maintenue entre l’antenne de cet appareil ettoutes les personnes.
This device contains licence-exempt transmitter(s)/receiver(s) that comply with Innovation, Science and Economic Development Canada’s licence-exempt RSS(s). Operation is subject to the following two conditions: This device may not cause interference. This device must accept any interference, including interference that may cause undesired operation of the device.


















