Pure Clean PUCRC25_0 Mini Robotic Vacuum Cleaner

SAFETY INSTRUCTIONS
Read the safety instructions before operating Mini Robotic Vacuum Cleaner and keep this manual handy for your future reference. Observe the basic safety rules to prevent any occurrence of fire, electric shock and personal injury.
- Do not operate the Mini Robotic Vacuum Cleaner outdoors.
- Before starting to use the Mini Robotic Vacuum Cleaner, make sure the dust bin filter is properly installed.
- Do not use this product in wet or moist environments (any environment with liquid), e.g. bathroom or laundry room.
- Before you use the Mini Robotic Vacuum Cleaner, remove any loose particles on the floor such as clothes, paper, loose cables, or extension cords. Additionally, lift curtains and drapes off the floor to avoid any possible accidents. If a loose cable is tangled with the Mini Robotic Vacuum Cleaner, the cable may be dragged with the Mini Robotic Vacuum Cleaner and could topple furniture or cause property damage.
- Never stand or sit on the Mini Robotic Vacuum Cleaner. Use caution when operating the Mini Robotic Vacuum Cleaner around children or pets.
- DO NOT let the Mini Robotic Vacuum Cleaner approach cigarettes, lighters, matches or other flammable objects or combustible materials.
- Never use the product to clean up combustible or highly volatile liquids such as gasoline.
- While the product is in operation, make sure all doors leading outside are closed.
- If the Mini Robotic Vacuum Cleaner malfunctions or is damaged by force, do not operate regardless of the cause. Call your local dealer for service information.
- Before charging, ensure that the adapter and outlet are properly connected.
- The Mini Robotic Vacuum Cleaner operates in temperatures from 32°F to 104°F. Do not use this product in high-temperature environments or under intense sunlight.
- The appliance is not intended for children, people with reduced physical sensory, or mental capabilities, or those with a lack of experience and knowledge. Proper supervision or instruction should be given to all users for safety reasons.
- Do not let children play with the appliance.
NOTE:
Take out or remove the packing foam from behind the front bumper before using the Mini Robotic Vacuum Cleaner.

BATTERY AND RECHARGING INSTRUCTIONS
- The battery is rechargeable, please use the voltage and current specified on the packing. If you are not sure of the voltage and current of your house, please contact the seller or local power company of a licensed electrician.(Only use a battery pack which provided by the manufacturer or specified by the manufacturer, please check the polarity before installing the battery. Battery voltage: 11.1V DC Working current: 700-800mA
- Only use the original battery and power adapter of the product for charging.
- The charging adaptor is for indoor use only.
- Do not recharge the product if the battery cord or plug is damaged.
- Never touch the charger, plug or cable with damped hands.
- Before cleaning the product, unplug the adaptor, switch off the unit and take out the battery.
- Please take out the battery when it is not in use for a long time.
- The battery must be removed from the product before it is scrapped.
- Switch off the Mini Robotic Vacuum Cleaner before taking out the battery. Recycle and dispose of the waste battery properly.
PRODUCT FEATURES
This revolutionary Mini Robotic Vacuum Cleaner is equipped with functions suitable for cleaning up floor surfaces of home and office such as wood, tile, and linoleum. The Robotic Vacuum Cleaner is definitely a good household helper.

MAIN BODY AND ACCESSORIES

MAIN BODY AND ACCESSORIES


BATTERY INSTALLATION AND REMOVAL
- Before installing or removing the battery, the product must be disconnected from the power source.
- Open the battery cover.
- Insert the battery into the battery cabinet and close the cover.\ Make sure the cover clips well Iocated in its position.

- RECHARGING BATTERY
- Before charging, make sure the battery is correctly installed.
- To charge the product, connect the adapter output into the DC jack, then plug the output into a wall outlet. A blue light will flash when charging.
- After it is fully charged, the indicator light will turn to a solid blue light.
- When the product runs out of power, an LED indicator will turn red/purple to signal that charging is needed.
- To ensure the best performance and life span of the battery, please charge the product for at least 3 hours continuously.
‘
NOTE:
- Charge the Mini Robotic Vacuum Cleaner for at least 8 hours before first use.
- When the battery is low, please charge as soon as possible.
- If you are not using the robot for an extended period of time, please fully charge the battery and remove it, then store it in a well-ventilated and dry place.
- If the robot is unused for more than 3 months, please charge it for at least 8 hours before using it again.
GENERAL OPERATION
Starting Operation
- Place the product in a room with a lot of free space, then power it on.
- When the product runs out of power, the LED indicator in the illumination ring will turn red and the product will stop working.

Note: This product is not suitable for long-pile carpets
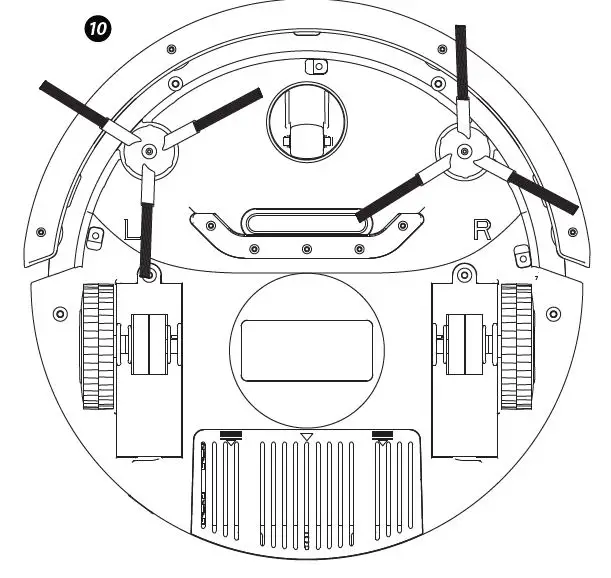
SIDE BRUSH INSTALLATION
Install the L side brush in the L slot and the R side brush in the R slot on the bottom of the vacuum. Be sure that each side brush clicks into place.
To remove side brushes, pull firmly up.

CLEANING AND MAINTENANCE
Cleaning Dust Bin
- Open the upper cover by lifting the lid near the power on/off button

- Put your finger into the dust bin groove and grip to take it out

- Open the lid of dust bin.
- Take out the inner filter.
- Empty the dirt in the dust bin.

- Rinse the dust bin with tap water. Do not wash it in the washing machine, dish washing machine or another machine.
- Periodically clean the filter with a soft bristle brush
- Reinstall the filter and the dust bin lid when fully dry.
- Put the dust bin back into the vacuum.
NOTE:
Before putting back the dust bin, make sure the PE pad (function as non-return valve) in the dust bin is well located. Recheck the filter also before operating the product. Operating the product without filter might cause malfunction.

Cleaning Intake
With use over time, dirt and dust may accumulate around the intake of the product. For best cleaning results and efficiency, the intake should be cleaned periodically.
- Remove the external power source.
- Cleanup the dirt and dust at the intake

TROUBLESHOOTING
| PROBLEM | POSSIBLE CAUSE | SOLUTION |
|
powered on | 1. 2.
|
|
|
|
installed |
|
|
|
light is covered | 1. Put the robot on light
sensor light |
|
|
during charging reset |
hold the power button
|
|
sweeping well |
| 1. Pour hot water over brushes to revert to their original shape 2. Replace side brushes |
|
straight |
| 1. Open the wheel cover and connect the loose wire properly 2. Send the robot to seller for repair |
Questions? Issues?
We are here to help!
Phone: (1) 718-535-1800
Email: [email protected]



















