
PLUMBING MANUAL
REV033116 US Patent Pending |
295 East Corporate Place • Suite 100 • Chandler, AZ 85225
Toll Free: 1.800.621.5886 • Phone: 480.893.7607 • Fax: 480.753.3397
[email protected] • www.1Paramount.com
SYSTEM DESIGN
The Para level is designed to control the water level in a swimming pool or spa. The “Posi-Click” control makes adjusting the water level very easy. Four clicks (or one revolution) of the adjustment wheel changes the water level by ¼”. The Para level uses “Smart Sensing”, eliminating rapid cycling of the device even when the pool is being used. The user can use 1 ½” or 2” pipe for the balance line. The water line can be plumbed with ½” or ¾” pipe. The Para level can also be plumbed with 2” pipe for overflow protection, offering the highest overflow protection in the industry.
PARALEVEL LAYOUT & DESIGN CRITERIA
- Paralevel should be level and plumb.
- The Para level main housing is engraved with “Max High; Max Low; and Pool Level”. The housing should be mounted so that the “Pool Level” line is at the expected water level.
- Maximum water pressure is 80 psi.
- The fill rate at 50 psi is 120 mph (2880 gallons per day).
- WARNING: The balance line and overflow line must be plumbed straight. Failure to keep the run of pipe straight may cause an airlock.

OVERVIEW
Fill port. Attach ½” in the ID or ¾” on the O.D. using a ¾” SxS fitting fill line from the water supply. Be sure to install a shut-off valve and approved vacuum breaker per local codes between the water supply and the Para level.- Top of Gunite/shotcrete (Beam). This is the top of the pool shell assuming 3” above final water level.
- Overflow. 2” PVC pipe should be used for overflow. A 2” line will make airlocks less likely. This must be capped off if it isn’t used.
- Pool. This is the balance line into the pool. The fill water flows into the pool from this line. This may be plumbed with 1 ½” or 2” PVC pipe
- 80 psi Max. This is the maximum water pressure to be used with the Para level.
NOTE: MAKE ALL PLUMBING CONNECTIONS WITH PVC PIPE AND PVC PRIMER AND GLUE.
INSTALLATION METHODS
Straight into pool
A. Paralevel should be installed plumb and level with the top of the housing set even with the top of the pool beam (standard 3” water clearance).
B. Use the “ears” on the sides of the main housing to securely tie to form boards or stakes. (Fig. 1)
C. During construction the Para level housing must be covered with plastic and/or tape to prevent debris from falling inside.

90º to pool (Fig. 2)
Top View from above Front View from outside of the pool

Distance from Pool
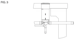
A. The Para level can be placed adjacent to the side of the pool (Fig. 3), in the deck, or at the equipment pad (Fig 4) as long as straight and level pipe runs can be maintained.
B. There cannot be any place where the pipe rises and falls possibly creating an airlock. See Paralevel layout and design criteria.
![]() | ![]() |
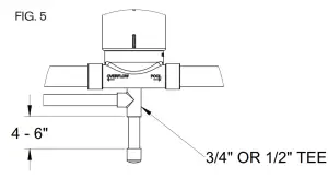
CAUTION: It is recommended that a separate shut-off valve and approved vacuum breaker, per local codes, be plumbed in between the supply water source and the Paralevel housing.
Recommended “T” arrangement at fill port as a debris trap. (Fig. 5)

Not to be used when winterization is required. Cannot be used in conjunction with winterization
WATERLINE PRESSURE TEST
Waterline pressure test only.
- Install pressure test cap with large AND small seals. (Fig. 7a and 7b)
- Tighten cap using removal tool (Fig 7c)

OVERFLOW & BALANCE LINE PRESSURE TESTING
Balance line and overflow pressure test
- Install pressure cap with a large seal only
- Tighten cap using removal tool (Fig. 8a and 8b)
- Install small pressure cap with O-ring using a 3/8” socket extension (not included).

OVERFLOW INSTALLATION INSTRUCTIONS
Basic Overflow/Balance line rough-in. (Fig. 9)
- 1 ½” or 2” PVC schedule 40 pipes should be used
- Overflow can be set as close to or as far away from the pool as necessary as long as straight and level lines can be maintained.
- Pool water from overflow must be disposed of in accordance with state and local codes.
- Can be plumbed into a drain sump
- Can be plumbed into a deck drainage system
- Must be capped off if not used.

Overflow Installation Method 1. (Fig. 10)
- Simplest installation method.
- Cut the pipe at desired overflow level.
- This method shouldn’t be used in areas where the pool is winterized.

PARALEVEL OVERFLOW SET LEVEL
Steps to Ensure Overflow is Set at Proper Level
These instructions work with the deck installed or not. If the deck is installed the overflow connection must be made outside the deck.
- Cut off the balance line rough plumbing stub inside the pool.
- Install a female adapter or threaded wall fitting for the final finish. Alternately if a FA is not used or this step is performed in advance of final finish prep; the balance line can be cut long. Skip stepping 4.
- Thread a pipe nipple into the fitting.
- Attach a 90-degree elbow and a standpipe to the threaded fitting.
- Measure and cut the standpipe to the desired overflow level (for example 1 ½” below the top of the beam a 1 ½ pipe will fit below the deck. This will allow the pool to overfill approximately 1 ½” before spilling out the overflow pipe. If using 2” pipe drop to 2” below beam which will allow the pool to over fill 1” before spilling.)
- Cut the standpipe on the exterior of the pool within a few inches above the desired spill level.
- Fill the pipe with water and allow it to settle level to the temporary standpipe inside the pool.
- Cut the exterior stub to match the level of the water in the pipe.
- Remove the temporary standpipe on the interior of the pool by turning the threaded pipe out of the fitting.
- Install one of the connections to waste shown in methods 1 thru 4 on page 3 in the installation manual.

WATER LEVEL PRESET PROCEDURES
This method can also be used to preset the float leveler if the pool is not full of water
- Turn on the water supply and flush the feed line to the Paralevel.
- After the overflow is set cut the standpipe on the interior of the pool even with the desired water level in the finished pool.
- Install the Paralevel float assembly per the instructions in the manual.
- Turn on the water supply.
- Set the water level to shut off when the canister fills to the top of the standpipe.
- Turn off the water supply.
- When the pool is complete fill with water to almost full, remove the hose, and allow the Paralevel to complete the fill to the preset mark. This will eliminate the need to watch the pool closely so it won’t overfill on the initial fill and can help ensure the pool will be full when a startup is scheduled.
OVERFLOW INSTALLATION INSTRUCTIONS
Recommended for areas where the pool is winterized.
Overflow Installation Method 2. (Fig. 11)
- Cut the pipe to desired overflow level.
- Add double 90º ells to guide overflow into a drain sump.
- Do not glue ells to allow for future overflow adjustment.
- There must be an air gap between the end of the overflow pipe and the drain sump to prevent siphoning.
- Drill ¼” hole in top or side of the pipe as shown if pipe extends into drain sump without an air gap.

WARNING: IF PIPE EXTENDS INTO DRAIN WITH NO VENTING, SIPHONING WILL OCCUR.
Overflow Installation Method 3. (Fig. 12)
- Vent line is flush with the tile.
- Cut the pipe at desired overflow level.
- Can be installed under the deck.

Overflow Installation Method 4. (Fig. 13)
- Vent line goes up through the deck.
- Cut the pipe at desired overflow level.
- Can be installed under the deck.

WARNING! The pipe must be straight
- There cannot be any place where the pipe rises and falls possibly creating an airlock. (Fig. 14)

DECK INSTALLATIONS
WARNING! Before pouring the deck make sure the Paralevel main housing has not shifted during construction
- Minimum deck thickness is 2 1/8”. Deck thickness over 5” may require an extension kit
NEGATIVE EDGE, BASIN, OR RAISED DECK INSTALLATION
Negative edge, basin or raised deck installations with extension kit. (Fig. 15)
- If required an extension kit (005-252-1541-00) can be purchased separately.
- The extension should be glued in place using PVC primer and gray PVC glue
- Use 6 5/8” from normal water level to the center of the balance line.
- A maximum of 19 3/4” is allowed from the top of the beam to the normal water level.

PARALEVEL B PART NUMBERS
004-760-2903-XX

| Item | Part Number | Description |
| 1 | 005-760-2901-XX | LID |
| 2 | DECK RING | |
| 3 | HOUSING | |
| 4 | 005-760-2911-00 | WINTERIZATION/PRESSURE TEST KIT |
| * | 1½ NPT CAP | |
| * | MAIN SEAL | |
| * | CAP SEAL | |
| * | SEAL PLUG | |
| * | 0-RING 2-020 EP70 | |
| 8 | 005-252-1541-00** | EXTENSION KIT |
| 9 | 004-627-5452-00** | TOOL |
| 10 | 004-760-2919-00 | START-UP KIT |
| 11 | * | TOP LEVER |
| 12 | * | LOWER LEVER |
| 13 | * | LINK LEVER |
| 14 | * | RISER TUBE |
| 15 | * | SNAP RING |
| 16 | * | 0 RING 2-011 VITON DUR 75 |
| 17 | * | FLOW PLUG |
| 18 | * | 0 RING 2-020 EP70 |
| 19 | * | RETAINER NUT |
| 20 | * | RETAINER RING |
| 21 | * | ADJUSTER SLEEVE |
| 22 | * | FLOAT BODY |
| 23 | 004-762-2930-00** | EXTENSION 1″ |
* Parts are not available separately
** Not part of Paralevel order separately
PARALEVEL A PART NUMBERS
004-760-2900-XX

| Item | Part Number | Description |
| 1 | 005-760-2901-XX | LID |
| 2 | DECK RING | |
| 3 | HOUSING | |
| 4 | 005-760-2911-00 | WINTERIZATION/PRESSURE TEST KIT |
| * | 1½ NPT CAP | |
| * | MAIN SEAL | |
| * | CAP SEAL | |
| * | SEAL PLUG | |
| * | 0-RING 2-020 EP70 | |
| 8 | 005-252-1541-00** | EXTENSION KIT |
| 9 | 004-627-5452-00** | TOOL |
| 10 | 004-760-2919-00 | START-UP KIT |
| 11 | * | TOP LEVER |
| 12 | * | LOWER LEVER |
| 13 | * | LINK LEVER |
| 14 | * | RISER TUBE |
| 15 | * | SNAP RING |
| 16 | * | 0 RING 2-011 VITON DUR 75 |
| 17 | * | FLOW PLUG |
| 18 | * | 0 RING 2-020 EP70 |
| 19 | * | RETAINER NUT |
| 20 | * | RETAINER RING |
| 21 | * | ADJUSTER SLEEVE |
| 22 | * | FLOAT BODY |
| 23 | 004-762-2930-00** | EXTENSION 1″ |
* Parts are not available separately
** Not part of Paralevel order separately
For technical assistance call 1.800.621.5886 or contact your regional representative
Fill port. Attach ½” in the ID or ¾” on the O.D. using a ¾” SxS fitting fill line from the water supply. Be sure to install a shut-off valve and approved vacuum breaker per local codes between the water supply and the Para level.


















