
Ceiling TV Mount, 37″ to 80″
B07KR4BT31
Welcome Guide
IMPORTANT SAFEGUARDS
Read these instructions carefully and retain them for future use. If this product is passed to a third party, then these instructions must be included.
When using the product, basic safety precautions should always be followed to reduce the risk of injury including the following:
- This product is for private household use only and therefore may not be used in public places like restaurants or hotels.
- Take care when folding/unfolding the product. Keep hands away from the folding mechanisms to prevent fingers from being trapped and pinched.
- Two competent adults must assemble this product.
- Keep children and pets away while assembling up the product.
- Do not let children climb on or play with the product.
- Always use on a firm, level ground.
- Do not use this product if any parts are missing, are damaged, or worn.
- To avoid scratching the floor, assemble the product on a soft surface, such as a carpet.
- Do not overtighten the fasteners (hardware).
- Regularly examine the product for wear and tear. Replace at the first sign of damage or if parts become detached.
- Do not use power tools to assemble the product. Power tools may strip or damage the parts.
- Assemble the product in a spacious area, preferably on a carpet, near the place where the unit is to be located.
- Never exceed the maximum load capacity of 100 lbs (45 kg).
IMPORTANT, RETAIN FOR FUTURE REFERENCE: READ CAREFULLY
Before First Use
- Check for transport damages.
Risk of suffocation! Keep any packaging materials away from children these materials are a potential source of danger, e.g. suffocation.
Cleaning and Maintenance
Cleaning
- To clean, wipe with a soft, slightly moist cloth.
- Never use corrosive detergents, wire brushes, abrasive scourers, metal or sharp utensils to clean the product.
Maintenance
- Regularly check that all the components and fasteners (hardware) are tightened.
- Store in a cool and dry place away from children and pets, ideally in original packaging.
- Avoid any vibrations and shocks.
Disposal
The Waste Electrical and Electronic Equipment (WEEE) Directive aims to minimize the impact of electrical and electronic goods on the environment, by increasing re-use and recycling and by reducing the amount of WEEE going to landfill. The symbol on this product or its packaging signifies that this product must be disposed of separately from ordinary household wastes at its end of life. Be aware that this is your responsibility to dispose of electronic equipment at recycling centers in order to conserve natural resources. Each country should have its collection centers for electrical and electronic equipment recycling. For information about your recycling drop-off area, please contact your related electrical and electronic equipment waste management authority, your local city office, or your household waste disposal service.
FCC Supplier’s Declaration of Conformity
| Unique Identifier | BO7KR4BT31 – Ceiling TV Mount, 37″ to 80″ |
| Responsible Party | Amazon.com Services, Inc |
| U.S. Contact Information | 410 Terry Ave N. Seattle, WA 98109, United States |
| Telephone Number | (206) 266-1000 |
FCC Compliance Statement
- This device complies with Part 15 of the FCC rules. Operation is subject to the following two conditions: (1) this device may not cause harmful interference, and (2) this device must accept any interference received, including interference that may cause undesired operation.
- Changes or modifications not expressly approved by the party responsible for compliance could void the user’s authority to operate the equipment.
FCC Interference Statement
This equipment has been tested and found to comply with the limits for a Class B digital device, pursuant to part 15 of the FCC Rules. These limits are designed to provide reasonable protection against harmful interference in a residential installation. This equipment generates, uses, and can radiate radio frequency energy and, if not installed and used in accordance with the instructions, may cause harmful interference to radio communications. However, there is no guarantee that interference will not occur in a particular installation. If this equipment does cause harmful interference to radio or television reception, which can be determined by turning the equipment off and on, the user is encouraged to try to correct the interference by one or more of the following measures:
- Reorient or relocate the receiving antenna.
- Increase the separation between the equipment and receiver.
- Connect the equipment into an outlet on a circuit different from that to which the receiver is connected.
Consult the dealer or an experienced radio/TV technician for help.
Canada IC Notice
- This Class B digital apparatus complies with Canadian CAN ICES-3(B) / NMB-3(B) standard.
Specifications
| Display size: | 37 – 80″ (94 – 203 cm) | |
| Max. load: | 100 lbs (45 kg) | |
| Mounting pattern: | 200 x 200 mm 300 x 200 mm 300 x 300 mm | 400 x 300 mm 400 x 400 mm 600 x 400 mm |
| Tilt range: | up to 15° downwards | |
| Pan/swivel range: | up to 360° | |
| Distance from ceiling: | 22.1 – 31.9″ (56 – 81 cm) | |
Feedback and Help
Love it? Hate it? Let us know with a customer review. AmazonBasics is committed to delivering customer-driven products that live up to your high standards. We encourage you to write a review sharing your experiences with the product.
US: amazon.com/review/review-your-purchases#
UK: amazon.co.uk/review/review-your-purchases#
US: amazon.com/gp/help/customer/contact-us
UK: amazon.co.uk/gp/help/customer/contact-us
Contents

You will need

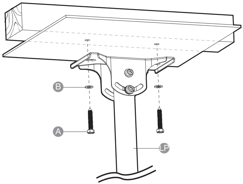
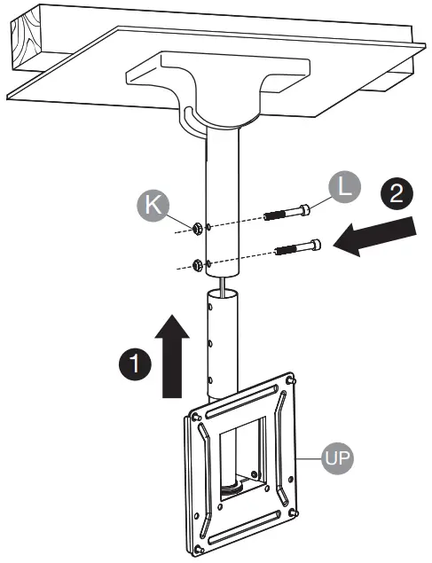
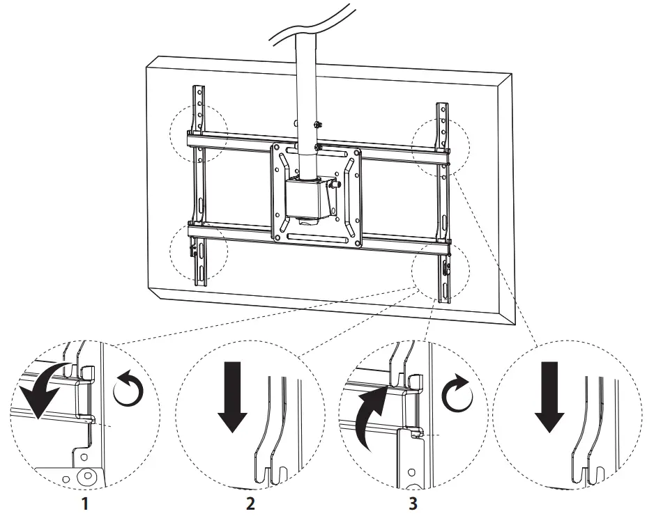
Assembly
![]() | ![]() |
![]() | ![]() |
![]() | ![]() |
![]() | ![]() |
![]() | ![]() |

MADE IN CHINA
V05-06/20
References
Amazon Sign In
Amazon Sign In
Amazon Sign In
Amazon Iniciar sesión
Amazon Iniciar sesión
Amazon.com: Amazon Basics
Amazon Sign-In
Amazon Sign-In
Amazon Sign In
Amazon Sign In
Iniciar sesión en Amazon
Iniciar sesión en Amazon
Connexion Amazon
Connexion Amazon
Amazon Accedi
Amazon Accedi
Amazon Sign-In
Amazon Sign-In
Inloggen bij Amazon
Inloggen bij Amazon






















