V I V O MOUNT-E-FD55/W Electric Flip-Down Ceiling TV Mount

Electric Flip Down Ceiling TV Mount SKU: MOUNT-E-FD55/W
The Electric Flip Down Ceiling TV Mount is a product designed to mount a TV on the ceiling and flip it down for convenient viewing. It has a weight capacity of 66 lbs (30kg) and should not be exceeded to avoid causing serious injury.
Product Usage Instructions
- Pre-Assembly: Before you begin, ensure that you understand the instructions and have all parts required for assembly. If you encounter any difficulties, seek the assistance of a technician. It is important to ensure that there are no missing or defective parts as improper installation may cause damage or injury. Do not use the product for any purpose that it is not intended for.
- Wall Construction: Do not install into drywall alone. Verify your wall construction and use wood studs to mount. If unsure, contact customer support at vivo-us.com, email at [email protected] or call 309-278-5303.
- Weight Capacity: Do not exceed the weight capacity of 66 lbs (30kg) to avoid causing serious injury.
- Assembly Steps: Follow the assembly steps provided in the instruction manual to install the mount onto a wood ceiling.
Assembly Steps
Tools required: Phillips Screwdriver, Drill, Pencil
Package Contents
- A (x1) Moun
- B (x1) VESA Plate
- C (x1) Ceiling Template
- D (x2) Decorative Cover
- E (x2) VESA Adapter
- F (x2) VESA Adapter
- G (x1) AC Adapter
- H (x1) Remote
- I (x4) Cable Tie
- M-A (x4) M5x14mm Screw
- M-B (x4) M6x14mm Screw
- M-C (x4) M6x30mm Screw
- M-D (x4) M8x30mm Screw
- M-E (x4) M8 Washer
- M-F (x8) Small Spacer
- M-G (x8) Large Spacer
- W-A (x6) Bolt
- W-B (x6) Anchor
- W-C (x4) Washer
Note: Some hardware included may not be used.
Step 1: Installing the Mount – Option A: Wood Ceiling
- Using the ceiling template (C), mark the location for the mount holes on the ceiling with a pencil.
- Drill pilot holes into the marked locations.
- Secure the mount (A) onto the ceiling using bolts (W-A), anchors (W-B), and washers (W-C).
- Attach the decorative covers (D) onto the mount using the small spacers (M-F) and large spacers (M-G).
- Attach the VESA plate (B) onto the mount using the M5x14mm screws (M-A) and M6x14mm screws (M-B).
- Attach the VESA adapters (E and F) onto the VESA plate (B) using the M6x30mm screws (M-C) and M8x30mm screws (M-D) and M8 washers (M-E).
- Connect the AC adapter (G) to the mount and plug it into a power outlet.
- Insert the remote (H) batteries and use it to control the mount.
If you encounter any issues during assembly or usage, contact customer support at vivo-us.com, email at [email protected], or call 309-278-5303 for assistance.
ASSEMBLY VIDEO AVAILABLE
Follow along step-by-step with our video walk-through by scanning the QR code with your mobile device or by following the product link: vivo-us.com/products/mount-e-fd55
We’re Here for You!
Our customer-minded support team is here for YOU, Monday-Friday 7 am-7 pm CST. from customer service agents and product technicians to help you every step of the way!
Missing a Part?
If any parts are received damaged / defective OR you are missing a part, please reach out to us within 30 days of product delivery to have it replaced at no cost. We are happy to replace parts to ensure you have a fully functioning product
PRE-ASSEMBLY | BEFORE YOU BEGIN
If you do not understand these directions, or if you have any technicians. Check carefully to make sure there are no missing or defective parts. Improper installation may cause damage or serious injury. Do not use this product for any purpose that is cannot be liable for damage or injury caused by an improper mounting, incorrect assembly or inappropriate use
WARNING: CHOKING HAZARD
SMALL PARTS – NOT FOR CHILDREN UNDER 3 YEARS. ADULT SUPERVISION IS REQUIRED.
CAUTION!
DO NOT INSTALL INTO DRYWALL ALONE. VERIFY YOUR WALL CONSTRUCTION. USE WOOD STUDS TO MOUNT. We include mounting for brick and concrete walls. If unsure, please contact us at vivo-us.com, email at [email protected], or call us at 309-278-5303.
WEIGHT CAPACITY
DO NOT EXCEED WEIGHT CAPACITY. Failure to do so may result in serious injury.
Product Warranty
Returns | Product Didn’t Work Out?
For the most up-to-date details on your product’s warranty, please visit the product’s listing on our website or reach out to customer support at vivo-us.com/products/mount-e-fd55
We hassle-free 30-day returns on all products. Contact customer support at 309-278-5303 or [email protected]. Please note: For items ordered in error or no longer needed, the return shipping charges will be at the buyer’s expense.
TOOLS NEEDED

PACKAGE CONTENTS
Please consult the parts list below and ensure you have everything you need to assemble your product. If parts are missing or damaged, please contact us.

ASSEMBLY STEPS
STEP 1: Installing the Mount
OPTION A: Wood Ceiling
Using Ceiling Template (C), mark the exact location of mounting holes. Drill pilot holes 2.2” deep using a 4.5mm drill bit. Insert two Screws (W-A), leaving a 5mm gap from the ceiling. Hang Mount (A) keyhole openings. Slide Mount (A) backward, then secure using additional Screws (W-A) with Washers (W-C).

NOTE: If mounting to a wood beam ceiling, ensure the front and back holes are used for the main support if the mount is in line with the beam. If perpendicular to the beam, use keyhole openings for the main support. use included Anchors (W-B) for wood or drywall.

OPTION B: Concrete Ceiling
Using Ceiling Template (C), mark the exact location of mounting holes. Drill pilot holes 2.4” deep, using a 10mm drill bit. Insert six Anchors (W-B), then tighten two Screws (W-A), leaving a 5mm (A) backward, then secure using additional
Screws (W-A) with Washers (W-C). Tighten all screws.

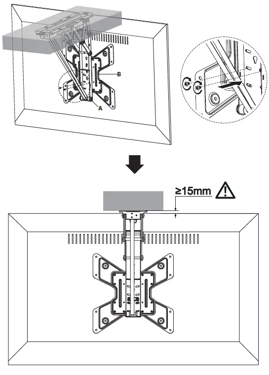
STEP 2: Installing Columns to the Base
Remove the two bottom screws from the VESA Plate (B) and set them aside for later use. Loosen the top screw leaving at least 5mm of threads exposed. Remove the screws from VESA Adapters (E, F). Align VESA Adapters (E, F) with VESA Plate (B) and assemble, using screws previously removed from VESA adapters (E, F).

STEP 3: Installing the VESA Plate
OPTION B: Curved/Recessed Back TV
Align the VESA plate assembly with the mounting holes in the back of the TV screen. Install the VESA plate to the TV using appropriate screws and washers according to your screen type.

STEP 4: Mount the TV Hang VESA Plate (B) on Mount (A) by inserting the attached screw on VESA Plate (B) into the Mount (A) keyhole.

STEP 4: Mounting the TV (Continued)
Using screws previously removed from step 2, fasten VESA Plate (B) to Mount (A).
NOTE: Clearance between the ceiling and the top edge of the TV should be no less than 15mm when the TV is in the fully lowered position

STEP 5: Cable Management
Run cables along the edge of Mount (A). Allow slack in cables for arm movement. Place Decorative Covers (D) over cables and snap them into place. Using Cable Ties (I), fasten cables.
NOTE: Keep cables clear from the arm to avoid damage due to pinching.

STEP 6: Cable Management
Plug AC Adapter (G) into Mount (A), and connect to an AC outlet. Use the Remote control (H) manual for operating instructions. NOTE: Plugging AC Adapter (G) into an AC outlet prior to Mount (A) may cause a large spark when connecting to the mount.

CHECK OUT OTHER GREAT PRODUCTS FROM
We have a wide array of home & ice products to fit your needs. From height adjustable desks to monitor mounts to keyboard trays and more!

SPEAKER MOUNTS & STANDS
Whether you’re mounting a soundbar or surround sound system, we’ve got a mounting solution to fit your needs
HEIGHT ADJUSTABLE DESKS
We offer electric & manual crank standing desks, corner frames, desk & top combos, and more!
MONITOR MOUNTS
From single monitor mounts to hex mounts, grommets,s or clamp-on, we’ve got a mounting solution for your setup.
WHO WE ARE VIVO
more than a brand of ergonomic office furniture. We are a team of creative and innovative individuals working together to offer high-quality, affordable ergonomic solutions. We think and work outside of the box to serve you, our customer, to the best of our ability.

Need Assistance?
We Would Love to Help!
Personable Customer Support | Mon-Fri 7 am-7 pm Customer service agents and product technicians to help you every step of the way! Call Us: 309-278-5303
Average Resolution Time: 5m 4sChat Us: www.vivo-us.comAverage Resolution Time: < 15m
LOVE YOUR NEW VIVO SETUP?
Ready to share that new amazing setup? Want to brag about that amazing new ergonomic solution? Tag us in your photo!
References
Register a .US.COM domain today!
VIVO - Desks, Monitor Mounting, and More Home & Office Solutions – VIVO - desk solutions, screen mounting, and more
Electric Flip Down Ceiling Mount for 23" to 55" TVs – VIVO - desk solutions, screen mounting, and more
VIVO - Desks, Monitor Mounting, and More Home & Office Solutions – VIVO - desk solutions, screen mounting, and more









