anslut 020511 Bladeless Tower Fan Instruction Manual
SAFETY INSTRUCTIONS
Read all the instructions and safety instructions carefully before use and save them for future reference
WARNING!
- For indoor use.
- This product can be used by children from eight years and upwards and by persons with physical, censorial or mental disabilities, or persons who lack experience or knowledge, if they are supervised or receive instructions concerning the safe use of the product and understand the risks involved with its use. Do not allow children to play with the product.
- The product must only be used for its intended purpose and in accordance with these instructions.
- Do not cover the product, this can result in overheating or fire.
- Place the product standing upright on a level, stable surface.
- When using the product it must always stand upright – it must never be used onits side.
- Pull out the plug from the power point when the product is not in use. Do not pull the power cord to pull out the plug.
- Leave a free space of a least 30 cm round the product to ensure safe and correct functionality.
- Check that the product can oscillate without colliding with or being obstructed by anything in the near vicinity.
- Never poke any objects into the grille in the product. It is especially important to explain this to children to make sure they understand the risks.
- Do not use the product if the power cord or plug are damaged, if the product has tipped over, or if it is not working properly.
- A damaged cord or plug must be replaced by an authorized service center or qualified person to ensure safe use.
- Do not use the product outdoors.
- Do not use the product near a bath, shower or swimming pool.
- Do not expose the product to direct sunlight.
- Do not use product together with an external speed controller.
- Do not use the product near flammable liquids or gas.
- Switch off the product and pull out the plug before cleaning.
- Never leave the product unattended when switched on.
- Repairs must only be carried out by an authorised service centre.
- If the product stops working properly, switch it off with the switch on the control panel and contact the retailer.
- Keep the product out of the reach of children and persons with disability. Do not allow such persons to use the product unsupervised.
- Do not immerse the product, the power cord or plug, in water or any other liquid – risk of electric shock.
- Do not place the product near an open window, risk of electric shock if it rains.
SYMBOLS
| Read the instructions. |
| Safety class II |
| Approved in accordance with the relevant directives. |
| Recycle discarded product in accordance with local regulations. |
TECHNICAL DATA
| Rated voltage | 230 V ~ 50 Hz |
| Safety class II | II |
| Cord length | 1.2 m |
| Size | W26 x H107 x Ø26 cm |
| Weight | 5.8 kg |
DESCRIPTION
Bladeless tower fan with ten different speeds, three airflow settings and timer. Comes with air cleaner function with HEPA filter, control panel and remote control. The remote control runs on 2 AAA batteries (sold separately). Spare filter sold separately.
NOTE
The figures are only intended for reference. The actual product may deviate from the figures and descriptions in these instructions.
- Top cover
- Air outlet
- Display and control panel
- Middle
- Base
- Mains adapter
- Air inlet grille
- Prefilter
- HEPA filter

FIG. 1
Contents
- 1 remote control
- 1 copy of operating instructions
- 2 HEPA filters
- 1 mains adapter
FIG. 2
INSTALLATION
- Remove the air inlet grille.
- Remove the prefilter. Press out the raised parts on each side and remove the prefilter.
- Remove the protective film from the filter.
- Put the HEPA filter in.
- Replace the prefilter. Fit in the slot in the bottom and press the U-shaped clip at the top.
- Fit the air inlet grille. Align the two top clips and press in place. Press apart the sides at the bottom and carefully press the air inlet grille in place.
- Connect the mains adapter. Plug the connector in the base.
- Plug the plug in a suitable power point.
It is recommended to clean the filter every other week and to replace it every six months, depending on usage.
FIG. 3

USE
CONTROL PANEL AND DISPLAY
| Button | Function |
| Start/Standby mode |
| Button to switch between normal mode, ionisation mode, sleep mode and AI smart. When the status light for replacing the filter goes on, press the button to switch off. |
| Button for starting/stopping oscillation. |
| Button to set fan speed. (Each time the button is pressed the setting changes in the order of 1-2-3… 10-1-2). |
| Button for timing of transition from active mode to standby mode, or the reverse. (Each time the button is pressed the timing changes in the order of 0-1-2… 12-0 h). 0 h indicates that the timer is disabled. |
| The status light goes on when it is time to replace the filter. |
| The status light goes on in fan mode AI smart. In this mode the fan speed is automatically adjusted to changes in the ambient temperature. |
| Status light for sleep mode. The fan speed is adjusted automatically to the set programme when sleep mode is activated. Select level 1, 2 or 3 by pressing the button to set fan speed. |
| Fan speed mode or timer setting on adjustment. The temperature is shown in fan mode. |
| Status light for ionization mode. In this mode the ionization unit is activated for fan speed settings 1 to 10. |
FIG. 4
OTHER FUNCTIONS
Forced stop
The product switches off automatically after 15 hours if no buttons are pressed.
Intelligent memory
If there is a power cut or the product is switched off it will start again in the same mode when the power is restored. Timer settings are not stored.
Automatic fading of display
If no buttons are pressed for 30 seconds the status light on the casing will go off, but the fan will continue to run. Press the power switch to switch off the product when the display goes off. Press any button to switch on the display.
The remote control can be used within 5 metres and at 30° from the front of the product.
Recycle the remote control battery in accordance with local regulations.
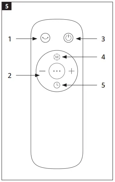
- Activation/deactivation of oscillation
- Press + or – to increase or reduce the settings for fan speed or timer.
- Start/standby mode
- Setting of fan mode
- Setting of timer for start/stop
FIG. 5
Battery in remote control
- Push down the battery cover on the back of the remote control and insert the batteries.
- Use manganese or alkaline batteries of the AAA type. Do not mix old and new batteries, or different types of batteries.
- Do not use rechargeable batteries.
- Insert the batteries with the correct polarity.
- Remove used batteries from the product and recycle in accordance with local regulations.
- Remove the batteries from the product if it is not going to be used for some time.
- Do not short-circuit the battery terminals.
FIG. 6
MAINTENANCE
The product requires very little maintenance. Do not dismantle the product or attempt to repair it. Service and repairs should be carried out by an authorised service centre or other qualified personnel.
- Switch off the product and pull out the plug before cleaning and/or installation.
- Keep the ventilation openings on the back of the motor unit clean. Do not dismantle the fan to clean.
- Wipe the product with a cloth moistened with water and a mild detergent.
- Do not use solvent or abrasive detergent, this can damage the product. Do not use petrol, solvent or detergent that can damage the plastic parts.
- Make sure that no water or any other liquid gets into the motor unit or control panel.
CLEANING
- Switch off the product and pull out the plug before cleaning.
- Clean the plastic parts on the product with a cloth moistened with water and a mild detergent. Wipe dry with a dry cloth.
REPLACING THE FILTER
- Filter model: FQ150CJ-2 (2 supplied)
- The status light goes on when it is time to replace the filter and the filter icon is shown on the display. The filter icon is shown when starting and until the filter is replaced.
- Replace filter
- Press the mode button for 3 seconds to switch off the status light for replacing the filter.
FIG. 7

CLEANING FILTERER
- Pull out the plug.
- Take out the filter.
- Vacuum clean the filter to remove dust.
- Replace the filter in the product and plug in the plug.
FIG. 8
020511
| 20511 | |||
| Description | Designation | Value | Unit |
| Maximum air speed | F | 2. | m3/min |
| Input power of fan | P | 24. | W |
| Service value | Sv | 10 | (m3/min) W |
| Power consumption in standby mode | PSB | 0.22 | W |
| Sound power level | LvvA | 57. | dB(A) |
| Maximum flow speed | C | 8. | m/s |
| Annual power consumption | kWh/a | 8. | kWh/a |
| Service value standard: EN ISO 5801:2017 | |||
| Contact details: www.jula.com | |||






































