PERTH WALL LAMP
User Guide 
SAFETY & WARNINGS
Ensure power is completely switched off before installing. Assemble as per the instructions below, and only connect to power when complete.
Notes:
- Read this user guide carefully before installing the lamp.
- To protect the lamp and prevent damage or scratches, ensure a soft blanket is laid down. We recommend wearing gloves when assembling the lamp.
- If the power cord is damaged, cease use immediately. Contact help.kogan.com for support.
SPECIFICATIONS
Power Supply 220V-240V ~50Hz Base E27 (Edison screw, 27mm) Wattage Max. 40W
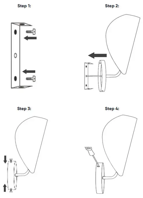
COMPONENTS
INSTALLATION
Notes:
- A qualified electrician is required to install this lamp. Do not attempt to install the lamp yourself.
- The bulb is not included.


NEED MORE INFORMATION?
We hope that this user guide has given you the assistance needed for a simple set-up. For the most up-to-date guide for your product, as well as any additional assistance you ay require, head online to


















