
Item # 1006 832 187
Model # HDP15307
USE AND CARE GUIDE
KESWICK TABLE LAMP
HDP15307 Keswick Table Lamp

Questions, problems, missing parts? Before returning to the store, call Hampton Bay Customer Service
8 a.m. 7 p.m., EST, Monday Friday, 9 a.m. 6 p.m., EST, Saturday
1-855-HD-HAMPTON
HAMPTONBAY.COM
THANK YOU
We appreciate the trust and confidence you have placed in Hampton Bay through the purchase of this table lamp. We strive to continually create quality products designed to enhance your home. Visit us online to see our full line of products available for your home improvement needs. Thank you for choosing Hampton Bay!
Safety Information
READ AND SAVE THESE INSTRUCTIONS.
- This product has been manufactured with the highest standards of safety and quality.
- For energy savings, this portable luminaire has been engineered to safely use a self-ballasted compact LED bulb in place of an incandescent bulb.
- Before assembling your portable luminaire, spread all parts out on a clean surface. Inspect each part for defects that may have occurred during shipping.
IMPORTANT: Inspect the wire insulation for any cuts, abrasions, or exposed copper that may have occurred during shipping. If there is a defect in the wire, do not continue the assembly process.
CAUTION: CONSULT A QUALIFIED ELECTRICIAN IF YOU HAVE ANY ELECTRICAL QUESTIONS. If you have any nonelectrical questions about this fixture, please call our Customer Service Team at 1-855-HD-HAMPTON or visit HAMPTONBAY.COM. Please reference your SKU (1006 832 187) or UPC (053392153076).
Warranty
THREE (3) YEAR WARRANTY
WHAT IS COVERED
The manufacturer warrants this fixture to be free from defects in materials and workmanship for a period of three (3) years from date of purchase. This warranty applies only to the original consumer purchaser and only to products used in normal use and service. If this product is found to be defective, the manufacturer’s only obligation, and your exclusive remedy, is the repair or replacement of the product at the manufacturer’s discretion, provided that the product has not been damaged through misuse, abuse, accident, modifications, alteration, neglect, or mishandling. This warranty shall not apply to any product that is found to have been improperly installed, set-up, or used in any way not in accordance with the instructions supplied with the product. This warranty shall not apply to a failure of the product as a result of an accident, misuse, abuse, negligence, alteration, faulty installation, or any other failure not relating to faulty material or workmanship. This warranty shall not apply to the finish on any portion of the product, such as surface and/or weathering, as this is considered normal wear and tear.
WHAT IS NOT COVERED
The manufacturer does not warrant and specifically disclaims any warranty, whether expressed or implied, of fitness for a particular purpose, other than the warranty contained herein. The manufacturer specifically disclaims any liability and shall not be liable for any consequential or incidental loss or damage, including but not limited to any labor/expense costs involved in the replacement or repair of said product.
Contact the Customer Service Team at 1-855-HD-HAMPTON or visit HAMPTONBAY.COM.
Pre-Assembly
PLANNING ASSEMBLY
Read all instructions before assembly.
To avoid damaging this product, place it on a soft, non-abrasive surface, such as carpet or cardboard.
IMPORTANT: Inspect the wire insulation for any cuts, abrasions, or exposed copper that may have occurred during shipping. If there is a defect in the wire, do not attempt installation. Please call the Customer Service Team at 1-855-HD-HAMPTON.
NOTE: You can use one 120V, 60Hz, 60-Watt Max. medium base (E26) type “A” bulb (sold separately). Do not exceed the recommended wattage.
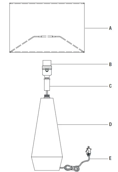
PACKAGE CONTENTS

| Part | Description | Quantity |
| A | Shade | 1 |
| B | Socket (Pre-assembled on the neck (C)) | 1 |
| C | Neck | 1 |
| D | Lamp body | 1 |
| E | Power cord | 1 |
Assembly
1. Connecting the neck to the lamp body
• Pull the excess power cord (E) through the lamp body (D).
• Screw the neck (C) to the top of the lamp body (D).
NOTE: Do not twist the power cord (E).

2 Assembling the shade
• Place the shade (A) over the socket (B).
NOTE: Remove the plastic cover before using this shade (A).

3 Installing the light bulb
• Screw one 120V 60Hz 60-Watt Max. medium base (E26) type A bulb (sold separately) into the socket (B).
• Plug the power cord (E) into the outlet, and turn on the switch and enjoy.

Care and Cleaning
- Use a dry, soft cloth to dust or wipe carefully.
- Do not clean with abrasive materials, bleach, or solvents.
Troubleshooting
| Problem | Possible Cause | Solution |
| The lights will not turn on. | The bulb is burned out. | Replace the light bulb. |
| The power is off. | Ensure the power supply is turned on. | |
| The cord is not plugged in. | Ensure the cord is plugged into an outlet. | |
| The circuit breaker is off. | Ensure the circuit breaker is set in the “ON” position. | |
| The fuse blows, or the circuit breaker trips, when the light is turned on. | There is an exposed wire. | Discontinue use of the lamp. Unplug the unit from the wall. Contact a qualified electrician or call the Customer Service Team at 1-855-HD-HAMPTON. |
Service Parts
MODEL: HDP15307

| Part | Description | Quantity |
| A | Shade | 1 |

Questions, problems, missing parts? Before returning to the store, call Hampton Bay Customer Service
8 a.m. – 7 p.m., EST, Monday – Friday, 9 a.m. – 6 p.m., EST, Saturday
1-855-HD-HAMPTON
HAMPTONBAY.COM
Please contact 1-855-HD-HAMPTON for further assistance.












