
USER MANUAL
Smart Dimmer Switch 200W LED
Eco-Dim.07 Zigbee Basic
Smart Dimmer Schakelaar 200W LED
Item No. Eco.Dim-07 Zigbee

1. Specifications
| Input voltage | 220-240 Vac, 50Hz |
| Power (load) | 0-200W LED |
| 10-300W Halogen light bulbs | |
| Suitable for | Led-, halogen-, light bulbs |
| Type dimmer | R,C Phase cut |
| Working temperature | 35 °C |
| Operation | Push / turn button |
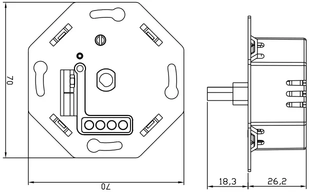
| Dimensions | 70*70*26.2mm |
| Weight | 50.3g |
Suitable brands of cover material:
√ Berker by Hager
√ Busch-Jaeger
√ Gira
√ JUNG
√ Kopp
√ Merten by Schneider
√ Niko
√ PEHA
- only for Busch-Jaeger
- for Busch-Jaeger and Niko

4. MIN adjustment
For the SMART dimmer to work optimally, you can adjust the lights to the dimmer with the MIN adjustment. As soon as you start turning MIN adjustment, the dimmer will automatically go to the minimum light range.
MIN adjustment: Switch on the lights with the push / turn button. When the lights are on, insert a screwdriver in MIN and turn to the left. When the light becomes unsteady, turn slightly back to the right so that the light remains steady.
5. Connecting home automation/app
Step 1: Switch on the dimmer (lights are on). The dimmer is already in “pairing mode”. You can also do this by pressing the reset button on the dimmer twice.
Step 2: Make sure that the pairing mode of your controller is on during the previous step.
You will find this in the manual of your controller.
Step 3: The dimmer will be visible in your app and the previously set MIN position will be stored there.
Other manuals concerning the connection of the EcoDim smart dimmer with various known controllers can be found on this page:
Enter www.ecodim.nl/downloads-smart-dimmer.
6. Settings
1. Factory reset
Press and hold the reset button for at least 5 seconds. The indicator will stay solid red for 10s. when the reset is finished. Please note that all configuration parameters will be reset after the device is reset or removed from the network.
Settings Manual ( Eco-Dim.07 Zigbee)
1) Factory Reset

Step 1. Press the reset button for 5s
Step 2. When the Indicator stay in Red for 10s, reset finished.
Please Note: All configuration will be reset after the device is reset or remove from the network.
2) Include to a Zigbee Network
Step 1. Remove the device from a previous Zigbee network if it has already been added to one, otherwise pairing mode will fail.

Step 2. Double Press the reset button.
Step 3. The indicator starts blinking blue and stays solid for 10s when pairing mode succeeds. Timeout 15s.
Note:
a. When both devices (Dimmer and remote) are not included in the Zigbee Network, each dimmer can link with one remote max.
b. When both devices are included in the same Zigbee network, each dimmer can link with max 30 remotes.
c. For Philips Hue Hubs and Amazon Echo Plus, add the remote and device to network first then touchlink.
5) Find and Bind
Step 1. Make sure the device and remote are added to the same Zigbee network.

Step 2. Press the reset button for 5 times.
Step 3. The indicator starts blinking yellow and will stay solid for 10s.
Step 4. Make sure the device and remote are added to the same Zigbee network. Please refer to the manufacturers instructions on how to set the remote in find and bind mode.
Caution
The installation of the dimmer on 230 V mains power must be carried out by a qualified specialist in compliance with local regulations. Make sure that the power supply is switched off during all work.
Suitable for most home automation / apps:
√ Google Assistant/Google Home
√ Amazon Alexa
√ Philips Hue
√ HOMEY
√ Samsung SmartThings
√ Trust
√ WINK

EcoDim
Dr. Huber Noodtstraat 89
7001DV Doetinchem
[email protected]
+31 (0)314 844691
Smart Dimmer Schakelaar 200W LED


















