Jandy Ladders

|
| FOR YOUR SAFETY: This product must be installed and serviced by a contractor who is licensed and qualified in pool equipment by the jurisdiction in which the product will be installed where such state or local requirements exists. The maintainer must be a professional with sufficient experience in pool equipment installation and maintenance so that all of the instructions in this manual can be followed exactly. Before installing this product, read and follow all warning notices and instructions that accompany this product. Failure to follow warning notices and instructions may result in property damage, personal injury, or death. Improper installation and/or operation will void the warranty. Before installing this product, read and follow all warning notices and instructions that accompany this product. Failure to follow warning notices and instructions may result in death, serious injury or property damage. Consult Fluidra customer service at 1-800-822-7933 for assistance. Improper installation and/or operation Will void the warranty. |
Important Safety Instructions
Safety Instructions
READ AND FOLLOW ALL INSTRUCTIONS
DANGER Installation and manipulation should only be performed by a qualified technician. Do not use this equipment for any purpose other than that for which it was designed. Applicable standards for prevention of accidents and for electrical installations must be respected.
Use equipment only in a pool or spa installation
Metal rails must be bonded to all metal parts of the swimming pool, spa or hot tub structure and to all electrical components and equipment associated with the pool/spa water circulation system. The bonding must be accomplished by using a solid copper conductor, No. 8 AWG or larger. In Canada No. 6 AWG or larger must be used. Bond the Ladders using the external bonding lug. See Step 4.
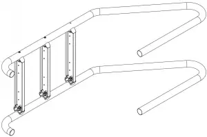
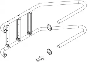
Installation



1.
2.
3.
4.
5.
6.
7.
8.
9.
10.
11.
12.
13.
14.
Zodiac Pool Systems LLC
2882 Whiptail Loop # 100 Carlsbad, CA 92010
1.800.822.7933 | www.Jandy.com
Zodiac Pool Systems Canada, Inc.
2-3365 Mainway Burlington, ON L7M 1A6 Canada
1.888.647.4004 | www.jandy.ca
©2020 Zodiac Pool Systems LLC
All rights reserved. ZODIAC is a registered trademark of Zodiac International, S.A.S.U., used under license.
All other trademarks are the property of their respective owners.



















