LOUISVILLE LADDER AH2211 Attic Ladder Instruction Manual
![]()
- To prevent accidents, read all instructions completely before beginning this installation. Inspect the attic ladder for shipping damage and missing parts.
- Check wooden door panel for splits and warpage
- Check ladder side rails, steps and hardware for damage such as bends, splits or cracks
- Check that all rivets and other fasteners are tight
- Check included hardware packs for items in Table 1
- Gather all installer provided materials in Table 2
If any items are missing or damaged, return to point of purchase or contact Customer Service at 1-800-666-2811
Important Safety Considerations
- For household use only. Attic ladders are meant for occasional use in a residential setting by one person at a time. Not for installation or use in a commercial or industrial setting.
- INSTALLATION REQUIRES TWO PEOPLE. Do not install the attic ladder if your judgement or balance is reduced by age, health, alcohol or drugs.

Installation requires TWO PEOPLE at all times, as installation will block the attic door for an extended period of time while one installer is in the attic. Installers must stay in verbal contact with each other. - Be sure each installer can lift at least 50 lbs.
- Evaluate the attic workspace for hazards that may include, but are not limited to, the following:
- Low clearance rafters
- Insufficient walking or working floor support
- Trip hazards
- Sharp nails or staples from roof decking
- Extreme heat
- Poor lighting
- Poor ventilation
- Loud noise that would hinder ability to communicate
- DO NOT remove plastic straps holding the attic ladder sections together until instructed.
- Check the ceiling height to make sure the attic ladder length is correct. If the attic ladder is too short or too long, return it to the point of purchase for an exchange.
Under no circumstances is this model attic ladder to be used when the ceiling-to-floor measurement is not within the “Ceiling Height Range” in Table 3. - This attic ladder is completely assembled. DO NOT open the door until instructed or disassemble to install.
- The springs in this attic ladder are under pressure. DO NOT attempt to remove or replace springs during installation.
- Make sure there is no wiring or piping that the saw or drill can contact during installation.
- Opening the door or standing on the attic ladder’s climbing sections prior to properly fastening to ceiling joists could cause SERIOUS BODILY INJURY OR DEATH.
- Verify that the attic ladder meets local building codes, including fire separation requirements.
- If the house has roof trusses, do not cut the trusses (ceiling joists) without consulting an engineer for approval.
- Before installation, read all the instruction labels on the attic ladder shown in Figure 1.
- Improper installation could result in SERIOUS BODILY INJURY OR DEATH.
- The lag screws provided for the permanent installation are intended for ceilings constructed of standard 2” nominal wood joists. Ceilings constructed with other materials may require different fasteners. Consult an engineer or building construction expert when installing in other types of ceiling construction.
- Follow the “Adjust Ladder Length” instruction in Step 5 for proper trimming and foot installation before standing on the ladder’s climbing section.
- Annually lubricate (spray silicon recommended) the pivot points of the right and left folding arm mechanisms (power arm assemblies) to provide smooth, long-lasting operation.
- Re-check all fasteners periodically after initial installation. (At power arms, hinge, frame, ladder section connections, aluminum feet and door.)
Figure 1 Attic ladder labels 
Included with your attic ladder:

Table 1 Included hardware
| ALUMINUM SERIES (Kits inside the box) | ||
| NO. | ITEM | QTY |
| 1 | Aluminum Feet | 2 |
| 2 | Metal Straps 14” | 2 |
| 3 | Pull Cord 36” | 1 |
| 4 | Washer 1/4″ x 1” | * 6 |
| 5 | Nut 1/4″ | 4 |
| 6 | Plastic Bushings | * 13 |
| 7 | Self-Drilling Screw | 2 |
| 8 | Lag Screws 3” | 11 |
| 9 | Wood Screws 1/4″ x 1 1/2” | 2 |
| 10 | Bolts 1/4″ x 3/4″ | 4 |
*Two extra bushings and one extra washer included.
Table 2 Tools and equipment needed for installation
MINIMUM MATERIALS REQUIRED (not included)
- Ladders

- Electric Drill and 1/8” Drill bit

- Philips Head Screwdriver

- Hex Head 7/16” Wrenc

- Hack saw

- Wood screws 2 1/2”

- Shim

- Two support boards 1” x 4” x 32”

- Tape measure

- Rubber mallet

- Wire cutters

- Tin snips

- Safety glasses
(recommended)
NOTE: Alternatively, power tools may be used to expedite installation.
A rope may be needed to lift the ladder into the rough opening.
INSTALLATION INSTRUCTIONS FOR ALUMINUM ATTIC LADDERS
READ INSTRUCTIONS AND WARNINGS COMPLETELY BEFORE STARTING.
Attic ladder location:
Allow ample room for the swing clearance and the landing space of the folding attic ladder when it is opened. (See Figure 2 and Table 3). Locate the folding attic ladder rough opening so that you have adequate head clearance and walking area.
Figure 2 
![]()
Exercise caution around this opening.
You must have a rough opening that matches Table 3. If not, proceed to Appendix for framing
*At maximum ceiling height of 10’3”
Table 3 Installation requirements
| MODEL | ROUGH OPENING | CEILING HT RANGE “A” | LANDING SPACE “B” | SWING CLEARENCE “C” |
| AH2211 | 22 ½” X 54” | 7’ 9” – 10’3” | 66”* | 75” |
![]()
DO NOT try to open the ladder.
DO NOT remove plastic strap until instructed.

STEP 1: PRELIMINARY INSTALLATION INSTRUCTIONS
![]()
THIS INSTALLATION REQUIRES TWO PEOPLE AT ALL TIMES.
Installer #1 will work from the floor and Installer #2 will work from the attic
![]()
DO NOT INSTALL DURING EXTREME HEAT.
Temperatures in attics can be much hotter than home and outside temperatures.
Extreme heat in attics can cause heat exhaustion (e.g., dizziness, headaches, severe sweating, dehydration, cramps) that may impede your ability to complete this installation. Stay in verbal contact with the other installer and stay well hydrated.
The following instructions explain the tasks for each installer.
Prepare the attic ladder for installation into the rough opening.
Position the attic ladder on a flat horizontal work surface.
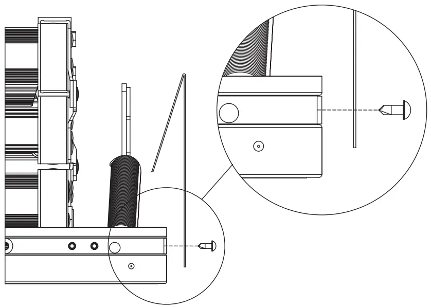
Install the plastic bushings by pressing or tapping lightly with a rubber mallet into the predrilled holes on the aluminum frame in the positions shown in Figure 3.
Materials needed:
Figure 3 Bushing locations
NOTE: Be sure each plastic bushing is fully inserted and aligned in the holes, otherwise they may become loose or damaged during the installation.
Materials needed:
Unfold the 14” metal straps. Place a self-drilling screw through the bottom 1/4″ diameter (large) strap hole. Position one metal strap flat against the side of the aluminum frame and between the two rivets as shown on Figures 4 and 4.1. Hold the metal strap securely to resist rotation while screwing the fastener into the aluminum frame.
Repeat installation of the second strap on the opposite side.
Position both straps vertically as shown in Figure 4.1. Fold both straps inward over the climbing section and out of the way. See Figure 4.2.
NOTE: DO NOT let the metal straps extend below the aluminum frame. See Figure 4.3
Figure 4
Figure 4.1
Figure 4.2
Figure 4.3 
Materials needed (Not included):
Attach temporary support boards “A” and “B” (1” x 4”x 32”) with 2-1/2” wood screws (not included). Support “A” will be 3” from the rough opening at the header/hinge end. Support “B” will be 8” from the rough opening at the footer end. Be sure to follow these board placement dimensions so the temporary support boards do not hinder the remaining installation steps. See Figures 5 and 5.1.
NOTE: Be sure all temporary support board screws penetrate into the ceiling joists to support the weight of the attic ladder.
IMPORTANT: Never use deck or drywall screws.
Temporary support board installation
Figure 5
Figure 5.1
STEP 2: PLACING THE ATTIC LADDER INTO THE ROUGH OPENING
![]()
DO NOT INSTALL DURING EXTREME HEAT.
Temperatures in attics can be much hotter than home and outside temperatures.
Extreme heat in attics can cause heat exhaustion (e.g., dizziness, headaches, severe sweating, dehydration, cramps) that may impede your ability to complete this installation. Stay in verbal contact with the other installer and stay well hydrated.
![]()
ROUGH OPENING IS A POSSIBLE FALL HAZARD.
Installer #2 is temporarily working around a floor opening and could fall. Appropriate care is needed to maintain good balance and to keep a safe distance from the opening when possible. Installer #2 should NOT store materials on the attic ladder or the attic door as materials may fall when opening the door.
NOTE: Installer #2 will be unable to exit the attic until the installation is complete.
Be sure installer #2 has all the materials and tools needed to complete the tasks to be performed from above. Be sure there is electric power (or batteries) for the duration of the installation for lighting and power tools. Before beginning work, assess the area to be sure your workplace is safe (overhead hazards, floor support, heat, etc.).
Materials needed in the attic: 
Installer #2: Climb into the attic using an appropriate ladder (example: multipurpose, single ladder or extension ladder). Follow all instructions on this ladder. Access space is tight, so be careful to not strike or catch anything in the rough opening or to disturb the temporary support boards.
Both installers need to work together to position the attic ladder on the temporary support boards. When Installer #2 is in the attic and ready to assist, Installer #1 will raise the attic ladder into the rough opening. See Figure 6. Installer #1 must not climb a ladder while lifting the attic ladder into the rough opening, or they could fall. If the ceiling height or weight of the attic ladder makes lifting difficult or impractical, secure a rope to the attic ladder. Installer #2 can then assist by helping raise the attic ladder into the rough opening and placing it on the temporary support boards.
Figure 6 Placing the attic ladder into the Rough Opening
Installer #2: After the attic ladder is resting on the temporary support boards, push the aluminum frame firmly against the header board and center it, side-to-side in the rough opening.
Installers #1 & #2: Place shims from below and above between the aluminum frame and the rough opening at the footer end to keep the opposite end (header/hinge end) centered within the rough opening and tight against the header board. See Figure 7. Shims should provide uniform support so there is no twisting or bowing of the aluminum frame. Center shims at the (2) footer bushing locations. See Figure 7.1. Make sure the attic ladder is resting firmly on the temporary support boards and has not lifted.
Figure 7 Shimming the footer
Figure 7.1 
Before continuing, Installer #1 will measure the diagonals of the aluminum frame to ensure the attic ladder is square. Measurements A1 and A2 should match within 1/8”. See Figure 8. If not, your attic ladder door may not close properly. If measurements do not match, adjust the attic ladder by moving the footer end side-to-side. This may require repositioning the shims. Be sure to keep the header / hinge end centered in the rough opening as you square the attic ladder.
Figure 8 Squaring the attic ladder
STEP 3: SECURING THE ATTIC LADDER INTO THE ROUGH OPENING
Installer #2: Unfold the 14” metal straps and bend them over the adjoining ceiling joists. Screw them in place with the wood screws (1/4” x 1-1/2) passing through the 1/4” diameter hole in the metal strap and into the wood joist. See Figures 9 and 9.1. Be sure the straps are taught to support the weight of the attic ladder. DO NOT lift the attic ladder off the temporary support boards.
Figure 9 Securing the metal straps
Figure 9.1
Materials needed:
![]()
NEVER USE DECK OR SHEETROCK SCREWS IN PLACE OF THE LAG SCREWS PROVIDED. Deck or sheetrock (drywall) screws are not suitable for supporting attic ladder loads.
![]()
DO NOT CLIMB ON THE ATTIC LADDER SECTIONS.
Standing or climbing on the attic ladder’s climbing section prior to adjusting the ladder length and installing the aluminum feet could result in a fall and cause SERIOUS BODILY INJURY OR DEATH.
Installers #1 and #2: With the header end of the attic ladder supported by the metal straps, the footer end can now be secured. Check the shims positioned at the footer end to be sure they are still centered at the pre drilled locations. Installer #2: Drill 3” deep pilot holes – through the shims and into the ceiling joists and install two 3” lag screws and washers at each location to permanently secure the attic ladder. See Figure 10.
Installer #1: Hold the shims securely to resist rotation during drilling and screwing.
IMPORTANT: Do not force or deform the aluminum frame with the shims. This may cause an un-square condition. If the frame is not properly square the attic door may not close properly.
Materials needed:
Figure 10 Securing the footer end of the attic ladder
NOTE: Make sure to drill through the holes with bushings only.
See figure 11.
Figure 11 Drilling pilot holes at Footer end
Installer #1: Remove the temporary wood support boards “A” and “B” from the ceiling.
See Figure 12.
Figure 12 Removing the temporary support boards
Materials needed:
Installer #2: Make sure no materials are stored on the attic ladder door as these may fall when opening the door. Installer #1: Carefully open the attic ladder door.
Installer #1: Thread the 36” pull cord through the pre-drilled hole in the attic ladder door. Place the 1/4” x 1” washer on the top side of the attic door panel and tie a knot in the end of the cord. The length of the cord can be adjusted after the ladder is completely installed. Be sure the knot is large enough, so it does not slip back through the hole. See Figure 13.
Figure 13 Securing the pull cord
Materials needed:
IMPORTANT: If the frame is not square the attic door may not close properly.
Installer #1: Open and close the attic ladder door several times to ensure the door is centered within the frame opening and the unit is square. See Figure 14. Installer #1 and #2: If the attic ladder frame is not square, position shims between the attic ladder side frame and ceiling joist.
Placing shims at the header end on one side of the frame will allow the header end of the frame to be moved slightly and square the ladder. Installer #1: Open and close the attic ladder door several times to ensure the door is centered within the fame opening. If necessary, continue to adjust the aluminum frame in the rough opening by slightly moving the header/hinge end side to side until the door closes cleanly into the frame opening.
Figure 14 Squaring the attic ladder
With the door now in alignment with the aluminum frame, open the door and make sure the power arms are fully extended to avoid unexpected door closure. Installer #2: Drill 1/8” diameter by 3” deep pilot holes into the ceiling joist through the three pre-drilled holes in the header and install the 3” lag screws in each location. See Figure 15.
Materials needed:
Figure15: Securing the header end of the attic ladder
Installer #1 and #2: Position shims from above and below at the six remaining pre-drilled holes, three in each frame side rail. See Figure 16. Shims should provide uniform support so there is no twisting or bowing of the aluminum frame. Drill 1/8” diameter by 3” deep pilot holes into the ceiling joist through the pre-drilled holes. Install the six lag screws and the two washers (where indicated in Figure 16.1) to secure the attic ladder.
Materials needed: 
Figure 16 Shimming side frame

Figure 16.1 Securing side frame rails
STEP 4: FINALIZING THE ATTIC LADDER INSTALLATION
![]()
DO NOT CLIMB ON THE ATTIC LADDER SECTIONS.
Standing or climbing on the attic ladder’s climbing section prior to adjusting the ladder length and installing the aluminum feet could result in a fall and cause SERIOUS BODILY INJURY OR DEATH.
These remaining instructions are necessary to ensure the attic ladder climbing section is properly supported for use and possible obstructions and catch points are removed.
Installer #2: With the aluminum attic ladder frame secured and the door open, remove the wood screws from the metal straps. Cut the metal straps as close as possible to the aluminum frame.
Be careful of any sharp edges. Turn any excess strap material down between the aluminum frame and the rough opening to eliminate a possible catch point. See Figure 17.
Materials needed: 
Figure 17 Removing excess metal strap material
STEP 5: ADJUSTING THE ATTIC LADDER LENGTH
Final steps to complete the attic ladder installation.
Installer #1: Measure and record the ceiling height.
Ceiling Height:___________
Installer #1: YOU MAY NOW
REMOVE THE PLASTIC STRAP HOLDING THE ATTIC LADDER SECTIONS TOGETHER.
With wire cutters, remove the plastic strap that is holding the ladder sections in a closed position. Carefully unfold the ladder sections to the ground.
Position the bottom section behind the middle section. See Figure 18.
Materials needed: 
Figure 18 Unfolding ladder sections
Reference the ceiling height you recorded in Section U and determine the location to cut the attic ladder side rails and feet for your ceiling height. See Table 4 and Figures 19 and Figure 19.1.
Rail Cut Location: _______________
Foot Cut Location: _______________
Installer #1: Cut the ladder side rails and feet at the appropriate line. See Figures 19 and 19.1.
Be careful of sharp edges after making the cuts.
Table 4 Rail and foot cut locations
| CEILING HEIGHT | RAIL CUT | FOOT CUT |
| 7′ 9″- 7′ 10″ | Step 3 | E |
| 7′ 11″- 8′ | Rail C | E |
| 8′ 1″- 8′ 3″ | Rail C | D |
| 8′ 4″- 8′ 6″ | Rail B | No cut |
| 8′ 7″- 8′ 11″ | Step 2 | No cut |
| 9′ – 9′ 5″ | Rail A | No cut |
| 9′ 6″ – 9′ 8″ | Step 1 | No cut |
| 9′ 9″ – 10′ 3″ | No cut | No cut |
Materials needed: 
Figure 19 Cut location, ladder rails
Figure 19.1 Cut location, ladder feet
Installer #1: Press down on the top and middle sections of the attic ladder to ensure the door is open and the power arms are fully extended. Slide the aluminum foot over the ladder side rail as shown in Figure 20. Position it so the rubber foot pad is in contact with the floor. Again, be sure the power arms are fully extended. Align the aluminum shoe with the closest set of predrilled holes. Use (2) 1/4” bolts and serrated nuts to attach the aluminum shoe to the attic ladder side rail. Tighten both fasteners. Repeat aluminum foot installation on the opposite side rail.
Materials needed: 
Figure 20 Aluminum foot installation
Installer #1: Verify that there are no gaps between the ladder sections and that both feet are supported on the floor. Trimmed correctly, the attic ladder should look like Figure 22. Minor adjustments to eliminate ladder section gaps and to position both feet on the floor can be made by re-positioning the feet in different rail holes.
If the attic ladder looks like Figure 21, then the bottom section is too short, and the attic ladder is not safe to use. A new lower section may need to be purchased from the manufacturer if the feet are not able to be adjusted to new mounting holes. If the attic ladder looks like Figure 23, the bottom section is too long and the legs need to be trimmed further.
Figure 21 Bottom section is too short
Figure 22 Feet flush with floor
Figure 23 Bottom section is too long
Installer #2: Safely egress the attic space using your newly installed aluminum attic ladder.
ADDITIONAL STEPS / INFORMATION:
- Trim shims to prepare frame opening for finishing and to remove catch points and trip hazards.
- The frame opening can now be finished.
- Periodically lubricate (spray silicon recommended) pivot points of the right and left folding arm mechanisms (power arm assemblies) and every hinge to provide smooth, long-lasting operation. Follow arrows in Figure 24
Figure 24 Lubrication points
Recommendation for door paint:
An oil base primer coat should be applied to the door surface with roller or brush. This seals the door material to avoid possible water damage during painting.
One option is Kilz Brand Oil-base Original Interior Primer. Apply to the entire exterior door surface to ensure suitable protection and a uniform appearance of the topcoat.
The surface is ready for painting 1 hour after application of the primer. The Kilz primer works with Alkyd, Oil and Water-based topcoats.
Available replacement parts:
- Aluminum feet – PK1055
- Instalation kit – PK12867
- Bottom section – PK1268
- Power arm – PK1269
- Door pull – PK1070
- Hinges – PK1059
- Springs – PR04200080
ADITIONAL COMMENTS
Why doesn’t my door close properly?
A= Go to step 3 and ensure squareness of the frame.
What if my aluminum foot sections are not flush with the floor?
A= You probably cut the section improperly. Contact Customer Service for assistance 1-800-666-2811
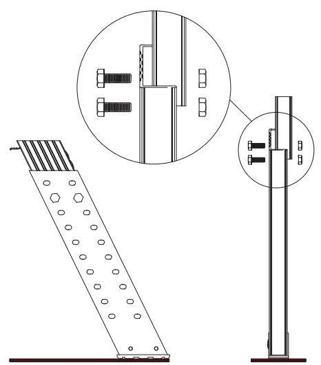
APPENDIX – Framing a rough opening parallel to ceiling height joist
Make a rough opening to the size as required in Table 3 ensuring that the dimensions of the diagonals of the frame are the same as illustrated in Figure 25.
- For rough opening without joist removal.
See Figure 25.
Figure 25 ”
- Locate headers in front and rear of the opening as shown in Figure 25.
- Check for squareness by making sure that diagonal measurements are within 1/8”.
- Secure using three 16d nails into each end of the header.
- Rough opening with joist removal.
See Figure 26.
Figure 26
- Install temporary support boards spanning both sides of joists to be removed.
- Remove joist at length to allow for double headers to be installed on both ends of opening.
See Figure 27.
Figure 27 
- Locate double headers at each end of opening and secure with three 16d nails into each end of the headers. Install stringer and check for squareness by making sure that diagonals are within 1/8”. Secure using three 4” nails into each end of the stringer.
CAUTION: Consult an engineer or building construction expert for installation that require the removal of roof trusses or rough openings perpendicular to the ceiling joist.
7765 National Turnpike, Unit 190
Louisville Ladder, KY 40214
Eng / Spanish (F11850-01) R1: 21/OCT/21





























