TOOLCRAFT 2622938 Telescopic Ladder

Product Information
Product Number: 2622938
All company names and product names mentioned are trademarks of their respective owners. All rights reserved.
The product is designed for private and commercial use.
In commercial institutions, the accident prevention regulations of the Employer’s Liability In-surance Association for Electrical Systems and Operating Materials are to be observed.
If you use the product for purposes other than those described, the product may be dam-aged.
Improper use can result in hazards.
The product complies with the statutory national and European requirements.
For safety and approval purposes, you must not rebuild and/or modify the product.
Read the operating instructions carefully and store them in a safe place. Make this product available to third parties only together with the operating instructions.
All company names and product names are trademarks of their respective owners. All rights reserved.
Delivery contents
- 1x telescopic ladder
- 1x stabilizer bar
- 1x top cover
- 4x rubber feet
- 2x washer nuts
- 2x cross-head bolts
- 2x hex nuts
- 2x hex head bolts
- Warning labels in different languages
- 1x operating instructions
Latest Product Information
Download the latest product information at www.conrad.com/downloads or scan the QR code provided. Follow the instructions on the website.
Description of symbols
The following symbols are on the product/appliance or are used in the text:
- The symbol warns of hazards that can lead to personal injury.

- The symbol warns of dangerous voltage that can lead to personal injury by elec-tric shock.

- WARNING! Danger of falling from ladder.

- For safe and proper use, follow these instructions. Keep them for future reference.

Safety Instructions
Read the operating instructions carefully and especially observe the safety information. If you do not follow the safety instructions and information on proper handling, we assume no liability for any resulting personal injury or damage to property. Such cases will invalidate the warranty/guarantee.
General
- The product is not a toy. Keep it out of the reach of children and pets.
- Do not leave packaging material lying around carelessly. This may become dangerous playing material for children.
- If you have questions which remain unanswered by this information product, contact our technical support service or other technical personnel.
- Maintenance, modifications and repairs must only be completed by a technician or an authorised repair centre.
Handling
- Handle the product carefully. Jolts, impacts or a fall even from a low height can damage the product.
Operating environment
- Do not place the product under any mechanical stress.
- Protect the appliance from extreme temperatures, strong jolts and solvents.
Operation
- Consult an expert when in doubt about the operation, safety or connection of the product.
- If it is no longer possible to operate the product safely, take it out of operation and pro-tect it from any accidental use. DO NOT attempt to repair the product yourself. Safe op-eration can no longer be guaranteed if the product:
- is visibly damaged,
- is no longer working properly,
- has been stored for extended periods in poor ambient conditions or
- has been subjected to any serious transport-related stresses.
Before Use
- Inspect the ladder after delivery.
- Before every use visually check the ladder is not damaged and is safe to use.
- Do not use a damaged ladder.
- Do not use the ladder if you are not fit enough.
- Certain medical conditions or medication, alcohol or drug abuse could make ladder use unsafe.
- Visually check the ladder is not damaged and is safe to use at the start of each day when the ladder is to be used.
- Inspect ladder feet.
- For ladders that require a stabiliser, do not use the ladder until the stabiliser bar has firstly been fully attached and secured to the lad-der.
- Ensure the ladder is suitable for the task.
- Do not use the ladder if contaminated, e.g., with wet paint, mud, oil, water or snow.
- Prevent damage to the ladder when transporting e.g., by fastening and ensure they are suitably placed to prevent damage.
- For professional use, a risk assessment shall be carried out respecting the legislation in the country of use.
- Do not modify the ladder design.
Positioning and erecting the ladder
WARNING! Electricity hazard!
Identify any electrical risks in the work area, such as overhead lines or other exposed electrical equipment and do not use the ladder where electrical risks occur.
- Do not erect ladder on contaminated ground. Ladders shall not be positioned on slippery surfaces (such as ice, shiny surfaces or sig-nificantly contaminated solid surfaces) unless additional effective measures are taken to prevent the ladder slipping or ensuring con-taminated surfaces are sufficiently clean.
- Do not use the ladder on an unlevel or unfirm base.
- Ladder shall be placed on an even, level and unmovable base.
- Do not lean the ladder against unsuitable surfaces. Leaning ladder should lean against a flat non-fragile surface and should be secured before use e.g. tied or use of a suitable stability device.
- Only use the ladder in the direction as indicated.
- Ladder shall be erected at the correct position, such as the correct angle for a leaning ladder (angle of inclination approximately 1:4) with the rungs or treads level.
- All locking mechanisms for all extended rungs/steps shall be checked and be locked before use.
- Leaning ladders used for access to a higher level shall be extended at least 1m above the landing point and secured if necessary.
- Do not use the ladder as a bridge.
- Do not bring your hands/fingers in rung area (area of shearing) when bringing the ladder in to its possible position of use.
- Secure ladder at the top and bottom wherever possible. If not, station someone at the foot of the ladder.
- Do not move a ladder while standing on it.
- Ladder shall never be repositioned from above.
Using the Ladder
- Do not exceed the maximum total load (load includes users, tools, materials, etc.).
- Only one person is permitted to use the ladder at a time.
- Do not wear unsuitable footwear when climbing a ladder.
- Do not ascend or descend unless you are facing the ladder.
- Keep a secure grip on the ladder when ascending and descending. Maintain 3 points of contact whilst working from a ladder or take ad-ditional safety precautions if you cannot.
- Do not stand on the top three steps/ rungs of a leaning ladder.
- Do not stand on the last metre of a telescopic ladder.
- Do not overreach, user should keep their belt buckle (navel) inside the stiles and both feet on the same step/ rung throughout the task.
- Avoid work that imposes a sideways load on ladders, such as side-on drilling through solid materials.
- Do not carry equipment which is heavy or difficult to handle whilst using a ladder.
- Equipment carried while using a ladder should be light and easy to handle.
- Use non-conductive ladders for unavoidable electrical work.
- Secure doors (not fire exits) and windows where possible in the work area.
- Do not use the ladder outside in adverse weather conditions, such as strong wind.
- When outdoors, be cautious in windy conditions.
- Ladders should only be used for light work of a short duration.
- Do not spend long periods on the ladder without regular breaks (tiredness is a risk).
- Take precautions against children playing on the ladder.
Assembly Instructions
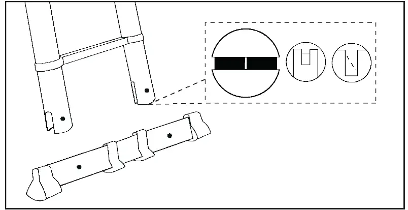
Attach the stabilizer bar
Note:
When attaching the stabilizer bar to the ladder for the first time, use a flathead screw-driver to snap the pins in each slot so the stabilizer bar can be fitted.
- Attach the rubber feet to the stabilizer bar.

- Use 2x crosshead bolts and 2x washer nuts and securely fasten the stabilizer bar.

Attach the top cover
The cover has two sides to it:
- flat side for flat walled surfaces
- concave side to contours around curved objects.
Use 2x socket wrenches to secure the hex head bolt and nut when tightening.
Using the Ladder
Important: Read and follow these instructions before using the ladder.
- Never use the ladder before checking that all locking mechanisms are fully engaged. When engaged, the locking levers will protrude and the rung lock indicators will be green.
- Never touch the locking levers or the rung release/lock switches when the ladder is in use.
- Always check for damage, worn or loose parts before using the ladder.
Extending the ladder
Partially extend the ladder
Use this method for partial or full ladder extension. Start from the bottom rung and work your way up.
- Place one foot on the bottom rung and extend starting from the bottom.
- Each rung should lock into place with an audible “click”.
- Continue extending the ladder until you have reached the desired height. You do not need to fully extend the ladder using this method.
- Check each rung is locked and the rung release switches are in the locked position. See section: Lock-ing / unlocking mechanisms [9].
- If any of the rungs are not locked, retract the ladder completely and then re-ex-tend. See section: Retracting the ladder [8].

Fully extend the ladder
Important:
This method is only suitable for use when extending the ladder to full height. Do not use this method to partially extend the ladder.
- Place one foot on the bottom rung and extend the ladder starting from the top.
- Each rung should lock into place with an audible “click”.
- Continue extending each section until the ladder is fully extended.
- When you reach full extension, both rung release switches at the bottom of the lad-der must lock.
- Check each rung is locked and the rung release switches are in the locked position. See section: Lock-ing / unlocking mechanisms [9].
- If any of the rungs are not locked, retract the ladder completely and then re-ex-tend. See section: Retracting the ladder [8].

Retracting the ladder
Important:
If you need to reduce the height of the ladder, you must first completely retract the ladder and then re-extend to the desired height.
Unlock all rungs at once
Important:
Keep hands and fingers away from the rungs when collapsing the ladder.
Engage the unlock switches at the base of the ladder to release all the rungs at the same time.
- While holding the telescopic tube, reach down and release each unlock switch.
- The ladder will retract when both locks have been released. Air trapped in the tube will help slow down the rate of retraction.
- When the ladder is completely retracted, secure it using the stowage strap. See section: Storage and Transport [9].


Unlock each rung individually
- Press the locking levers on each side of the rung to release it.
- Repeat these steps until all rungs are lowered.

Locking / unlocking mechanisms
Single rung lever
Press each rung lock lever to release rungs one at a time.
If a ladder rung is not locked:
- the locking lever will not protrude.
- the lock indicator will be red.
If a ladder rung is locked:
- the locking lever will protrude.
- the lock indicator will be green.

All rungs release / lock switch
Important:
- When using the partial extension method, the locks will engage after each rung is locked out.
- Using the full extension method, the lock will only engage after all rungs have been fully extended.
Unlock all rungs at the same time using the unlock switches.
- The lock switch is in the released position.

- Both lock switches will automatically engage when all extended rungs are locked on both sides.

Product overview
- Rung lock indicator
- All rungs release / lock switch
- Fastener (nut and bolt)
- Top cover
- Stowage strap
- Telescopic tube
- Bottom rung
- Rubber foot (end cap)
- Stabilizer bar
- Rubber foot
- Fastener (nut and bolt)

Troubleshooting
| Problem | Possible cause | Suggested solution |
| Locking mechanisms will not engage. | The ladder has not been extended correctly. | See section: Extending the ladder [► 8]. |
| The telescopic tubes do not expand or contract easily. | The ladder is dirty or damaged. | Remove any dirt or debris. See section: Cleaning and Care [► 9]. |
| Check for damage. Do not use if damaged. |
Cleaning and Care
Important:
- Do not use aggressive cleaning agents, rubbing alcohol or other chemical solutions. They damage the housing and can cause the product to malfunction.
- Do not immerse the product in water.
Preconditions:
- The ladder must be fully extended and locked before cleaning.
- Wipe the ladder and telescopic tubes with a lightly moistened fibre-free cloth.
- Allow the ladder to completely air dry before closing it.
Storage and Transport
Important:
- Always fully retract the ladder before you store or transport it.
- Secure the ladder in the closed position with the stowage strap before you store or transport the ladder.
- Avoid striking the ladder against another object. If a tube is dented or damaged the ladder may be difficult to operate or may completely malfunction.
- Always store the ladder indoors. Damp conditions could adversely affect the condition and operation of the ladder.

Technical data
- Load bearing…………………………….. max.150 kg
- Material……………………………………. Aluminum alloy
- Aluminium wall thickness……………. 1.3 mm
- Number of rungs……………………….. 11
- Distance between rungs…………….. 30 cm
- Length of ladder………………………… max. 3.2 m
- Dimensions (L x W x H)……………… Fully extended: 87 x 7 x 320 cm Folded (closed): 87 x 7 x 85 cm
- Weight …………………………………….. 10.1 kg
This is a publication by Conrad Electronic SE, Klaus-Conrad-Str. 1, D-92240 Hirschau (www.conrad.com).
All rights including translation reserved. Reproduction by any method (e.g. photocopying, microfilming or the capture in electronic data processing systems) requires prior written approval from the editor. Reprinting, also in part, is prohibited. This publication reflects the technical status at the time of printing.
Copyright by Conrad Electronic SE.




































