hama 00186369 Meteotime Weather Forecast Centre Instruction Manual

![]()


Operating instruction
PLEASE READ BEFORE YOU BEGIN
Your new weather station is different from conventional weather stations that only measure the prevailing weather conditions. Instead, the information provided by this weather station is based on METEOTIME data, which is compiled daily by highly qualified meteorologists using state-of-the-art instruments.
The weather station is designed to receive the coded METEOTIME signal which is used to transmit weather information. The data is sent via the radio time signal transmitter DCF77 (in Germany). The weather station is therefore also a radio-controlled clock with all the familiar advantages, such as the exact time and automatic changeover from winter to summer time.
You can receive weather forecasts for 60 meteorological regions in Europe up to 4 days in advance and a 2-day forecast for a further 30 regions.
HOW DO I ACHIEVE GOOD RECEPTION?
Similar to mobile phone networks or TV and radio reception, weather stations may not always have reception everywhere. It is therefore essential that you observe the following instructions to ensure that your device works properly.
A suitable location is extremely important for the weather station. For this reason, the weather station is equipped with an innovative test function (TEST button) that allows you to check the quality of the reception in your environment in order to place the device in the most suitable location.
To determine the quality of the reception, test the weather station according to the instructions in the manual. To do this, switch on all possible sources of interference in the room where you want to set up the device (e.g. the television). Then place the weather station in the desired location and align it as desired. Keep a minimum distance of one metre from potential sources of interference.
Observe the GOOD RECEPTION or POOR RECEPTION symbol on the screen. When you have found the suitable location for good reception, leave the Meteotime weather station there so that the required data can be received via the radio signal. Within a few minutes, the time and date are displayed. However, receiving very large amounts of data (forecast for all regions and days) takes significantly longer. Up to 24 hours are required from the first start-up to receive all data.
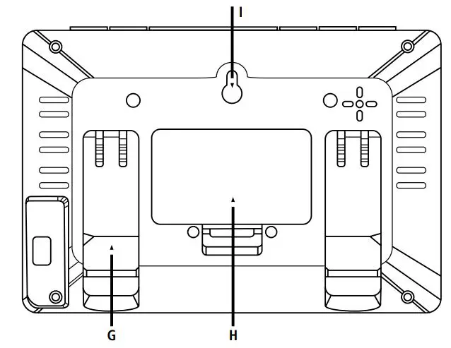
1. Controls and displays
Figure A: Base station
- DST (Daylight Saving Time) – summertime symbol
- DCF77 signal radio symbol (German long-wave transmitter Frankfurt 77kHz)
- Time
- Rain probability in %
- Maximum temperature tomorrow
- Weekday tomorrow
- Weekend alarm
- Weekday alarm
- Weather forecast symbol tomorrow
- Calendar day
- Minimum temperature tomorrow
- Day of the week the day after tomorrow (in 2 days)
- Maximum temperature the day after tomorrow (in 2 days)
- Month
- Weather forecast symbol the day after tomorrow (in 2 days)
- Lowest temperature the day after tomorrow
- Region/city of the weather forecast
- Day of the week (in 3 days)
- Weather forecast symbol (in 3 days)
- Maximum temperature (in 3 days)
- Minimum temperature (in 3 days)
- Outdoor sensor radio symbol
- Outdoor temperature
- Outdoor temperature trend
- Display for low battery level in outdoor sensor
- Outdoor humidity tendency
- Outdoor humidity
- Channel change
- Channel
- Max/Min display of outdoor temperature/humidity
- Indoor temperature tendency
- Indoor humidity tendency
- Display for low battery level in base station
- Ambient humidity
- Max/Min display of indoor temperature/humidity
- Room temperature
- Wind speed range
- Wind speed
- Maximum temperature today
- Minimum temperature today
- Wind direction
- Weather forecast symbol today
- Meteotime symbol
- Weekday today
- Day/night symbol
- A. MODE button= Settings/Confirmation of setting value
- B. CHANNEL button = Manual search for the outdoor sensor signal / channel selection
- C. DAY/NIGHT/SNOOZE/LIGHT button = Interruption of alarm signal/activation of backlight/switching between day and night display value
- D. TEST button = Check the quality of the DCF signal
- E. UP button = Increase of the current setting value/Recall of the stored maximum/ minimum values (MAX/MIN)/Weather data for the next days for a short time in the large area (37 – 45)
- F. DOWN button = Decrease of the current setting value / Activate / Deactivate manual DCF radio signal reception / Select one of the locations from the favourites list
- G. Stand
- H. Battery compartment
- I. Cut-out for wall mounting
Important information – Quick-reference guide
- This quick-reference guide contains the most important basic information, such as safety instructions and the steps necessary to operate the product.
- To help protect the environmental and conserve valuable raw materials, Hama does not issue a printed manual and instead makes this available exclusively as a PDF download.
- The full text of the manual is available at the following internet address: www.hama.com -> 00186369 -> Downloads
- Save the manual on your computer for reference and print them out if possible.
2. Explanation of warning symbols and notes
Warning
This symbol is used to indicate safety instructions or to draw your attention to specific hazards and risks.
Note
This symbol is used to indicate additional information or important notes.
3. Package contents
- “Meteotime” weather station (base station for indoor use)
- Outdoor sensor for outdoor use
- 4 AA Mignon batteries
- These operating instructions
4. Safety instructions
- The product is intended for private, non-commercial use only.
- Use the product only for the intended purpose.
- Protect the product from dirt, moisture and overheating and use it in dry rooms only.
- Do not use the product in the immediate vicinity of heaters, other heat sources or in direct sunlight.
- As with all electrical products, this device should be kept out of the reach of children.
- Only use the article under moderate climatic conditions.
- Do not operate the product outside the power limits specified in the technical data.
- Do not use the product in areas in which electronic products are not permitted.
- Do not use the product in a damp environment and avoid splashing water.
- Do not place the product near interference fields, metal frames, computers, TVs, etc. Electronic devices and window frames can negatively affect the product’s functionality.
- Do not drop the product and do not expose it to any major shocks.
- Do not modify the product in any way. Doing so voids the warranty.
- Keep the packaging material out of the reach of children due to the risk of suffocation.
- Dispose of packaging material immediately in accordance with the locally applicable regulations.
- Do not attempt to service or repair the product yourself. Leave any and all service work to qualified experts.
- Do not open the device or continue to operate it if it becomes damaged.
Warning – Batteries
- When inserting batteries, note the correct polarity (+ and – markings) and insert the batteries accordingly. Failure to do so could result in the batteries leaking or exploding.
- Only use batteries (or rechargeable batteries) that match the specified type.
- Before you insert the batteries, clean the battery contacts and the polar contacts.
- Do not allow children to change batteries without supervision.
- Do not mix old and new batteries, or batteries of different types or from different manufacturers.
- Remove the batteries from products that are not being used for an extended period (unless these are being kept ready for an emergency).
- Do not short-circuit batteries.
- Do not charge batteries.
- Do not burn batteries.
- Keep batteries out of the reach of children.
- Never open, damage or swallow batteries or allow them to enter the environment. They can contain toxic, environmentally harmful heavy metals.
- Remove spent batteries from the product and dispose of them without delay.
- Avoid storing, charging and using in extreme temperatures and at extremely low atmospheric pressures (such as at high altitudes).
5. Getting started
Note
Please remember, during commissioning, to always insert the batteries into the outdoor sensor first and then into the base station.
5.1 Inserting the batteries
- Open the battery compartment of the outdoor sensor (XYZ) and remove the contact breaker. Then close the battery compartment again.
- Remove the protective film from the base station display.
- Open the battery compartment (H) and remove the contact breaker.
- Then close the battery compartment cover.
- A beep will now sound and the base station will start searching for the DCF signal, for the outdoor sensors and for the Meteotime signal. This search takes several minutes.
- If no time signal is received after a longer period of time, change the location and check the reception conditions using the test function described in 6.1.
6. Installation
Note – Installation
- We recommend initially positioning the base station and outdoor sensor at the preferred setup locations without installing them and carrying out all the settings – as described in 6. Operation.
- Do not install the station(s) until the settings are correct and the radio connection is stable.
Note
- The range of the radio transmission between the outdoor sensor and the base station is up to 50 m in unobstructed areas.
- Before installing, make sure that the radio transmission is not influenced by interfering signals or obstacles such as buildings, trees, vehicles, high-voltage power lines, etc.
- Before final installation, make sure that there is sufficient reception between the desired installation locations.
- When installing the outdoor sensor, take care to ensure it is positioned so that it is protected from direct sunlight and rain.
- The international standard height for measuring air temperature is 1.25 m (4 ft) above ground.
Warning
- Buy special or suitable installation material from a specialist dealer for wall-mounting.
- Ensure that you do not install any faulty or damaged parts.
- Never apply force during installation. These can damage the product.
- Before mounting, check that the wall you have chosen is suitable for the weight to be mounted. Also make sure that there are no electric, water, gas or other lines running through the wall at the mounting site.
- Do not mount the product above locations where persons might sit or stand.
6.1 Base station
- Alternatively, place the base station on a flat surface using the stand (G).
- Alternatively, you can mount the base station on a wall using the recess (I) on the back.
6.2 Outdoor Sensor
- You can also set the outdoor sensor up on an even surface outdoors.
- We recommend mounting the outdoor sensor securely and firmly onto an outdoor wall.
- Secure the dowel, screw, nail, etc. in the wall provided.
- Hang the outdoor sensor onto it using the cut-out provided.
7. Operation
Information – entry
Press and hold the UP or DOWN button to select the values more quickly.
7.1 Basic setting and manual setting
After inserting the batteries, the base station automatically searches for the DCF signal and for the Meteotime weather signal. The radio symbol (2) flashes during the search process.

- The time and date are displayed within a few minutes. However, receiving the very large amounts of data with the forecast for all regions and days requires up to 24 hours from the initial start-up until all data is received.
- After successful reception of the time and date signal, the display shows FRM (Frankfurt am Main) as the location for the info window. For information on changing the country and location, see below.
- If the device has successfully received the Meteotime signal, the Meteotime symbol
is displayed next to the respective day of the week.

Note – faulty transmission of the measured values
- In some cases, interference caused by a WiFi network, computer, TV, etc., for example, may cause the transmission of measured values between the base station and the outdoor sensor to fail.
- If this happens, resynchronise the stations by briefly removing the batteries from both stations and reinserting them.
- If the measured values are not transmitted again, replace the batteries with new ones.
- If necessary, choose a new location for the base station to avoid the possible interference signals in the future.
Note
You can use the TEST function to search for a better location.
Take the device in your hand to find a suitable location. Press the TEST button (D) to check the quality of the Meteotime signal/DCF signal. The signal strength is displayed as a value from T-1 (very poor) to T-9 (very good). The TEST takes about one minute. You can restart or stop the test at any time by pressing the TEST button (D). If no signal is received on a repeated basis, press and hold the DOWN button (F) for around 3 seconds to start the manual search for the DCF signal. The radio signal (2) starts to flash.
Note – setting the time
- The search process takes about 5 minutes. If this fails, the search is terminated and repeated at the top of the next hour. The radio symbol (2) disappears.
- Meanwhile, you can make a manual setting of the time and date.
- The clock automatically continues to search for the DCF signal daily. Once the signal is received successfully, the manually set time and date are overwritten.
Press and hold the DOWN button (F) again for around 3 seconds to end the manual search process.
Note – summertime
The time adjusts automatically to summertime. While summertime is active, DST (1) appears on the display.
7.2 Connection to the outdoor sensor
- After the batteries are inserted, the base station automatically searches for a connection to the outdoor sensor and carries out the initial setup routine.
Note
- Initial setup takes around 3 minutes.
- During the connection attempt, the radio signal on the base station (22) flashes.
- Avoid any operation of the buttons during this time! Otherwise, errors and inaccuracies may occur in the values and their transmission.
- The process is finished as soon as the indoor and outdoor measurement data (23/27/34/36) are displayed.
If no signal is received from the outdoor sensor on a repeated basis, press and hold the CHANNEL button (B) for approx. 3 seconds to start the manual search for the signal.
8. Care and maintenance
- Only clean this product with a slightly damp, lint-free cloth and do not use aggressive cleaning agents.
- Ensure that no water is able to enter the product.
9. Warranty Disclaimer
Hama GmbH & Co KG assumes no liability and provides no warranty for damage resulting from improper installation/mounting, improper use of the product or from failure to observe the operating instructions and/or safety notes.
10. Technical data

11. Recycling information
Note on environmental protection:
Following the implementation of European Directive 2012/19/EU and 2006/66/EU into the national legal systems, the following applies: electrical and electronic devices as well as batteries must not be disposed of with household waste. Consumers are obliged by law to return electrical and electronic devices as well as batteries to the designated public collection points or to the point of sale at the end of
their service lives. Detailed information on this topic is defined in the national laws of the respective country. This presence of the above symbol on the product, operating instructions or package indicates that the product is subject to these regulations. By recycling, reusing the materials or other forms of utilising old devices/batteries, you are making an important contribution to protecting our environment.
12. Declaration of Conformity
Hereby, Hama GmbH & Co KG declares that the radio equipment type [00186369] is in compliance with Directive 2014/53/EU. The full text of the EU declaration of conformity is available at the following internet address:www.hama.com -> 00186369 -> Downloads.
Frequency band(s)
433 MHz
Maximum radio-frequency power transmitted
0.22 mW

Service & Support
www.hama.com
+49 9091 502-0
![]()
![]()
All listed brands are trademarks of the corresponding companies. Errors and omissions excepted, and subject to technical changes. Our general terms of delivery and payment are applied.


















