HUAWEI D2120-EI 2MP AI IR Bullet Camera

Additional Guides Available
To obtain the latest documents, including the Product Documentation and FOSS License Information, visit http://support.huawei.com/enterprise and enter the camera model to search for related documents. You can also log in to http://support.huawei.com/enterprise or scan the QR code using your mobile phone to download the Technical Support app. Then start this app and choose Products> Intelligent Vision to obtain the latest documents of the required camera model.
Interface Description
NO. Item Description
- LAN Network interface. -P models also support PoE.
- POWER Power input interface. DC 12V±25%
Required Tools
Device Installation
Pendant-Mounted Installation
- Place the mount in the desired installation position. Use a marker to mark the screw locations. Use an 8 mm drill bit to drill the holes to a depth of about 55 mm. Use a hammer to carefully drive the white plastic expansion tubes into the holes.

- Install the pendant mount

- Remove the screws from the sunshield above the camera and fix the camera to the pendant mount

wall-mounted Installation
- Place the mount in the desired installation position. Use a marker to mark the screw locations. Use an 8 mm drill bit to drill the holes to a depth of about 55 mm. Use a hammer to carefully drive the white plastic expansion tubes into the holes,

- Use the screws to fix the wall mount to the wall.

- Untasten the screw marked with a on the universal joint for the universal joint to rotate freely. Fasten screws marked with b and c to fix the camera to the universal ioint. Fasten all screws on the universal ioint.

Beam-Mounted Installation
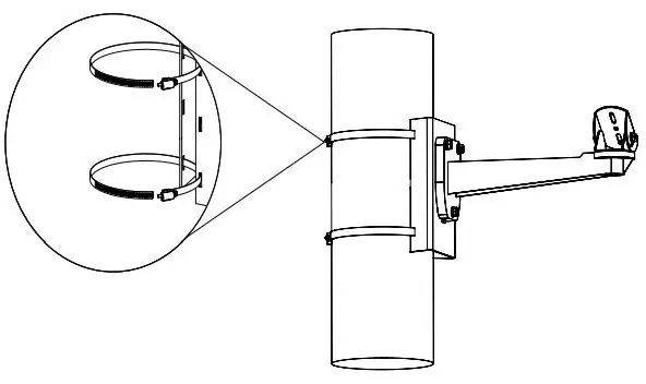
- Loosen the hose clamps and remove them. Install the universal joint in the #2 holes on the pole mount (tor the #2 hole identifier, see the silk screen on the physical device).

- Untasten the screw marked with à on the universal joint for the universal joint to rotate freely. Fasten screws marked with b and c to fix the camera to the universal joint. Adjust the vertical monitoring angle, and fasten all screws on the universal joint.

- Thread the hose clamps through the installation holes on the pole mount. Place the hose clamps around the beam and tighten them up.

Device Installation
Pole-mounted Installation
- Fix the wall mount to the pole mount.

- Use hose clamps to fix the pole mount to the pole.

- Unfasten the screw marked with a on the universal joint for the universal joint to rotate freely. Fasten screws marked With b andcto fix the camera to the universal joint. Fasten all screws on the universal joint.

Cable Connection
Cable Connection
CAUTION
- This camera is frss from grounding.
- In areas prone to lightning strikes, the lightning arrester must be installed and grounded. Strong and weak current cables must be kept at least 5 cm apart from each other. When connecting the cables to the device, take care to avoid connecting strong current cables to weak current intertaces or
you will damage your device. - Wrap all pigtail cables in insulated, waterproot, rubber tape to prevent short circuits or water damage.
- Cutting off the pigtail cables will void your warranty.
- Connect the power cable.

- Connect the network cable. Loosen the components L, 2, and3 of the waterproor connector kit on the network cable port in sequence, thread the network cable through the kit (if the network cable cannot be threaded through the kit, cut off the RJ45 connector.), and install the components in the sequence marked in the following figure. The waterproof connector of the network cable must be secured tightly, or they may come loose later.

Waterproofing and Insulation
NOTE
- BEFORE waterproorng and insulation, checK The cabiing ana ensure tat the camera runs normnaily to avola reworkings.
- Waterproof and insulate all cables including power cables, network cables, and unused pigtails.
- The waterproof tape must cover the cable bundle from the insulation sheath all the way to the cable conduit (for example, a PVC tube). The tape must be wrapped tightly and there must be no gaps in the coverage or water wIill leak in corrugated pipe is installed, a drainage hole should be deployed at the lowest point of the pipe to prevent Waterifrom getting into the pipe. Long-term soaking may cause pigtail damage.
- Wrap one layer of insulation tape around each 2 cable joint.Stretch the waterproofing tape evenly to twice its original length. Then apply it for three layers from bottom to top, from top to bottom, and from bottom to top again.

- Apply three layers of insulation tape. Then, use cable ties to secure the both ends.

- Cover the rest of the cabling in a conduit or with protective waterproof rubber tape. Make a drip loop as shown below to create an artificial lowest point of the cable.

- If a corrugated pipe is installed, a drainage hole should be deployed at the lowest point of the pipe to prevent water from getting into the pipe. Long-term soaking may cause pigtail damage.

Installation Verification

Supplier’s Declaration of Conformity (SDoC)
Unique Identifier: trade name: HUAWEI; product name: Network camera; model number:
Responsible Party- U.S. Contact Information
Huawei Technologies USA Inc.
5700 Tennyson Parkway, Suite 500
Plano, Texas 75024
Main: 214-919-6000 / TAC Hotline: 877-448-2934
FCC Compliance Statement ( for products subject to Part 15)
This device complies with part 15 of the FCC Rules. Operation is subject to the following two conditions: (1) This device may not cause harmful interference, and (2) this device must accept any interference received, including interference that may cause undesired operation.
Appendix
FAQ
- Q: After you enter the camera IP address in the address boX and press Enter, the Internet Explorer displays “There is a problem with this website’s security certificate”.
- A : Chick Continue to this website (not recommended) to continue browsing this website. Then install the root certificate or upload your own certificate. For details, see the Confiquration Guide.
Warranty Card
Thank you for choosing products of Huawei Technologies Co., Ltd. (Huawei). To be entitled for warranty service for the product, please read the following warranty statements carefully.
Warranty Period
Unless otherwise stated specifically by Huawei, the following periods apply:
You are entitled a free warranty service of at least 12 months for the camera you purchased from Huawei. The specific warranty duration is subject to the sales contract.
The start date of the warranty:
The warranty starts on the 90th day after the date of the product shipment from Huawei, or the date of receiving service request, whichever is earlier.
Notes:
- If there is any conflict with contract terms and conditions, the contract terms and conditions shall prevail.
- When you purchase a product from Huawei, please confirm the date when the product will be shipped from Huawei, and check other warranty-related information.
- For expansion and replacement parts, you are entitled to either of the following warranties (whichever is longer):
- A 90-day warranty starting from the date the replacement parts are shipped
- The remaining warranty of the original equipment
- Warranty service is provided for the lithium battery modules for the S series switches, but the terms related to hardware warranty service response time in the Enterprise Warranty Policy do not apply to the lithium battery modules.
Service Guidelines
This warranty card entitles you to free warranty service within the warranty period. For a complete listing of applicable warranties, please visit http://e.huawei.com, choose Support > Service Solutions > Warranty. Technical Support: Visit http://e.huawei.com, click Contact Us at the upper right corner of the page, and select your country to obtain contact information of Huawei local office.
TAC Support: Visit http://e.huawei.com and choose Contact Us > Global Service Hotline to find the service hotline available in your country.
Complete the form below and keep for ready reference:
Product supplier:
Supplier telephone number:
Product serial number:





































