HD IR Mini Bullet Network Camera
Quick Start Guide
HD IR Mini Bullet Network Camera
Foreword
General
This manual introduces the functions, installation and operations of the camera.
Safety Instructions
The following categorized signal words with defined meaning might appear in the manual.
Signal Words | Meaning |
| Indicates a high potential hazard which, if not avoided, will result in death or serious injury. |
| Indicates a medium or low potential hazard which, if not avoided, could result in slight or moderate injury. |
| Indicates a potential risk which, if not avoided, may result in property damage, data loss, lower performance, or unpredictable result. |
| Provides methods to help you solve a problem or save you time. | |
![]() | Provides additional information as the emphasis and supplement to the text. |
Revision History
| Version | Revision Content | Release Date |
| V1.0.2 | Updated “Important Safeguards and Warnings.” | Apr-21 |
| V1.0.1 | Added model B in “3.3.2 Installing SD Card (Optional).” | Jan-19 |
| V1.0.0 | First release. | Mar-18 |
About the Manual
- The manual is for reference only. If there is inconsistency between the manual and the actual product, the actual product shall prevail.
- We are not liable for any loss caused by the operations that do not comply with the manual.
- The manual would be updated according to the latest laws and regulations of related jurisdictions. For detailed information, refer to the paper manual, CD-ROM, QR code or our official website. If there is inconsistency between paper manual and the electronic version, the electronic version shall prevail.
- All the designs and software are subject to change without prior written notice. The product updates might cause some differences between the actual product and the manual. Please contact the customer service for the latest program and supplementary documentation.
- There still might be deviation in technical data, functions and operations description, or errors in print. If there is any doubt or dispute, we reserve the right of final explanation.
- Upgrade the reader software or try other mainstream reader software if the manual (in PDF format) cannot be opened.
- All trademarks, registered trademarks and the company names in the manual are the properties of their respective owners.
- Please visit our website, contact the supplier or customer service if there is any problem occurring when using the device.
- If there is any uncertainty or controversy, we reserve the right of final explanation.
Important Safeguards and Warnings
Electrical safety
- All installation and operation should conform to your local electrical safety codes.
- The power source shall conform to the Safety Extra Low Voltage (SELV) standard, and supply power with rated voltage which conforms to Limited Power Source requirement according to IEC60950-1. Please note that the power supply requirement is subject to the device label.
- Make sure the power supply is correct before operating the device.
- A readily accessible disconnect device shall be incorporated in the building installation wiring.
- Prevent the power cable from being trampled or pressed, especially the plug, power socket and the junction extruded from the device.
Environment
- Do not aim the device at strong light to focus, such as lamp light and sun light; otherwise it might cause over brightness or light marks, which are not the device alfunction, and affect the longevity of Complementary Metal-Oxide Semiconductor (CMOS).
- Do not place the device in a damp or dusty environment, extremely hot or cold temperatures, or the locations with strong electromagnetic radiation or unstable lighting.
- Keep the device away from any liquid to avoid damage to the internal components.
- Keep the indoor device away from rain or damp to avoid fire or lightning.
- Keep sound ventilation to avoid heat accumulation.
- Transport, use and store the device within the range of allowed humidity and temperature.
- Heavy stress, violent vibration or water splash are not allowed during transportation, storage and installation.
- Pack the device with standard factory packaging or the equivalent material when transporting the device.
- Install the device in the location where only the professional staff with relevant knowledge of safety guards and warnings can access. The accidental injury might happen to the non-professionals who enter the installation area when the device is operating normally.
Operation and Daily Maintenance
- Do not touch the heat dissipation component of the device to avoid scald.
- Carefully follow the instructions in the manual when performing any disassembly operation about the device; otherwise, it might cause water leakage or poor image quality due to unprofessional disassembly. Please make sure that the gasket ring is flat and properly installed in the groove before installing the cover. Please contact after- sale service for desiccant replacement if there is condensed fog on the lens after unpacking or when the desiccant turns green (Not all models are included with the desiccant).
- It is recommended to use the device together with lightning arrester to improve lightning protection effect.
- It is recommended connect the grounding hole to the ground to enhance the reliability of the device.
- Do not touch the image sensor directly (CMOS). Dust and dirt could be removed with air blower, or you can wipe the lens gently with soft cloth that moistened with alcohol.
- Device body can be cleaned with soft dry cloth, which can also be used to remove stubborn stains when moistened with mild detergent. To avoid possible damage on device body coating which could cause performance decrease, do not use volatile solvent such as alcohol, benzene, diluent and so on to clean the device body, nor can strong, abrasive detergent be used.
- Dome cover is an optical component, do not touch or wipe the cover with your hands directly during installation or operation. For removing dust, grease or fingerprints, wipe gently with moisten oil-free cotton with diethyl or moisten soft cloth. You can also air blower to remove dust.
WARNING
- Please strengthen the protection of network, device data and personal information by adopting measures which include but not limited to using strong password, modifying password regularly, upgrading firmware to the latest version, and isolating computer network. For some device with old firmware versions, the ONVIF password will not be modified automatically along with the modification of the system password, and you need to upgrade the firmware or manually update the ONVIF password.
- Use standard components or accessories provided by manufacturer and make sure the device is installed and maintained by professional engineers.
- The surface of the image sensor should not be exposed to laser beam radiation in an environment where a laser beam device is used.
- Do not provide two or more power supply sources for the device unless otherwise specified. A failure to follow this instruction might cause damage to the device.
Cable
- Cable type might vary with different devices, and the actual product shall prevail.
- Please waterproof all the cable joints with insulating tape and waterproof tape to avoid short circuit and water damage. For the detailed operation, see the FAQ Manual.

For more information about cable ports, see Table 1-1.
| No. | Port Name | Function |
| 1 | Ethernet Port | • Connects to network with network cable. • Provides power to the device with PoE. |
| 2 | DC 12V Power Input | Inputs DC 12V power. Please be sure to supply power as instructed in the Guide. |
Network Configuration
Device initialization and IP setting can be finished with the “ConfigTool” or in web interface. For more information, see the Web Operation Manual.![]()
- Device initialization is available on select models, and it is required at first use and after device is being reset.
- Device initialization is available only when the IP addresses of the device (192.168.1.108 by default) and the PC stays in the same network segment.
- Planning useable network segment properly to connect the device to the network.
- The following figures and interfaces are for reference only, and the actual product shall prevail.
2.1 Initializing Device
Step1 Double-click “ConfigTool.exe” to open the tool.
Step2 Click
.
The Modify IP interface is displayed. See Figure 2-1.

Step3 Click Search setting.
The Setting interface is displayed.
Step4 Enter the start IP and end IP of the network segment in which you want to search devices, and then click OK.
All the devices found in the network segment are listed.
Step5 Select one or several devices whose Status is Uninitialized, and then click Initialize.
Step6 The Device initialization interface is displayed.
Select the devices that need initialization, and then click Initialize.
The password setting interface is displayed. See Figure 2-2.
Step7 Set and confirm the password of the devices, and then enter a valid email address. Click Next.
The final setting interface is displayed.![]()
Password can be modified or reset in System Settings.
Step8 Select the options according to your needs and then click OK.
The Initialization interface is displayed after initializing is completed. Click the success icon
or the failure icon (
) for the details.
Step9 Click Finish.
The device status in the Modify IP interface (Figure 2-1) turns to Initialized.
2.2 Modifying Device IP Address
- You can modify IP address of one or multiple devices in one time. This section is based on modifying IP addresses in batch.
- Modifying IP addresses in batch is available only when the corresponding devices have the same login password.
Step1 Double-click “ConfigTool.exe” to open the tool.
Step2 Click
.
The Modify IP interface is displayed. See Figure 2-1.
Step3 Select the devices which IP addresses need to be modified, and then click Modify IP.
The Modify IP Address interface is displayed. See Figure 2-3.
Step4 Select Static mode and enter start IP, subnet mask and gateway.
![]()
- IP addresses of multiple devices will be set to the same if you select Same IP.
- If DHCP server is available in the network, devices will automatically obtain IP addresses from DHCP server when you select DHCP.
Step5 Click OK.
2.3 Logging in to Web Interface
Step1 Open IE browser, enter the IP address of the device in the address bar and press Enter.
If the setup wizard is displayed, follow the instructions to finish the settings.
Step2 Enter user name and password in the login box, and then click Login.
Step3 For first time login, click Click Here to Download Plugin and install the plugin as instructed.
The main interface is displayed when the installation is finished. See Figure 2-4. 
Installation
Packing List
- The tools required for the installation including electric drill is not provided in the packing.
- The operation manual and related tool are contained in the disk or the QR code, and the actual packing shall prevail.

3.3 Dimension![]()
Following figures are for reference only, the actual product shall prevail.

3.3 Installing Device
3.3.1 Installation Method
Installation Type

3.3.2 Installing SD Card (Optional)![]()
- SD card slot is available on select models. Model A and Model B are defined according to the location of the SD card slot.
- Please disconnect the power from the device before installing the SD card.
- Press the reset button for 10 seconds to reset the device.
Model A

Model B

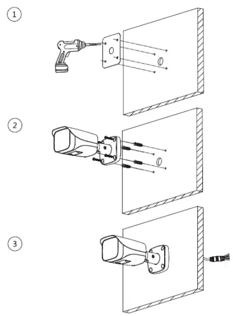
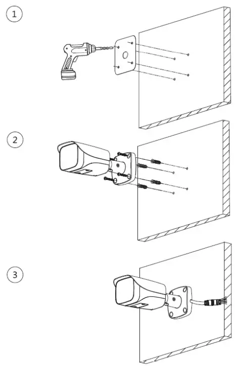
3.3.3 Attaching Device
![]()
Make sure the mounting surface is strong enough to hold at least three times of the device weight.
Cable going through the wall

Cable going through the side cable tray

3.3.4 Installing Waterproof Connector
![]()
This part is only needed when a waterproof connector comes with the device and the device is used outdoor.
3.3.5 Adjusting Sunshield

3.3.6 Adjusting Angle

ENABLING A SAFER SOCIETY AND SMARTER LIVING
ZHEJIANG DAHLIA VISION TECHNOLOGY CO., LTD.
Address: No.1199 Bintan Road, BinjIang District Hangzhou, P. R. China I
Website: www.dahuasecurity.com I Postcode: 310053
Email: [email protected] I
Fax: +86-571-876888151
Tel: +86-571-87688883 



















