
RBP2005-RS Powersport 20V Lithium Ion Wireless Pump Power Pack
Operational and Installation Manual
RBP2005-RS Powersport 20V Lithium Ion Wireless Pump Power Pack
Please read these Operational and Installation Guidelines before installing the Powersport™ Wireless Battery System. If additional help is needed, please consult the factory.
Warnings
- Before using and to reduce the risk of fire or electric shock carefully follow these instructions.
- Do not incinerate the battery pack even if it is severely damaged or is completely worn out.
- Do not charge or use battery in explosive atmospheres, such as in the presence of flammable liquids, gases, or dust.
- Only use Power Pro battery packs with compatible Power Pro chargers.
- Do not store or charge the battery pack in locations where the temperature can exceed 95F (35C) or below 40F (4C).
- Do not use battery pack in locations where the temperature may reach 120F (49C) or below -4F (-20C).
- Never attempt to open the battery pack for any reason, as it could cause bodily harm or injury. If battery back becomes cracked or damaged, do not use and it should be taken to a lithium battery recycling center.
- Do not allow any liquid into the charger, Do not expose to rain or snow.
- Fire hazard do not store or carry battery so that metal objects can contact the exposed battery terminals.
- Always unplug the charger from power supply when there is no battery pack in the cavity or before attempting to clean.
- Do not attempt to charge the battery pack with any other chargers, other than ones in this manual. The charger and battery pack are specifically designed to work together. Charger is meant for use with 120V household power. Do not use with any other voltage.
- Do not force plug into socket and be sure cord is not in an area where it can be stepped on or otherwise.
- Do not operate charger if it has a damaged cord or plug.
- Do not operate charger if it has received a sharp blow, been dropped, or otherwise damaged in any way.
- Do not use with extension cords. Using with an extension cord can increase risk of fire.
- Do not disassemble charger or battery under any circumstance.
- Charger is intended to be correctly oriented in a vertical or floor mount position.
- Retain a copy of receipt for your Remco Product, as it will be required to validate any warranty service. Power Pro Battery System is warranted against manufacturer or workmanship defects for one (1) year from date of purchase.
FCC WARNING CONFORMITY
Declaration of Conformity: This equipment has been tested and found to comply with the limits for a Class B digital device, pursuant to Part 15 of the FCC Rules. These limits are designed to provide reasonable protection against harmful interference in a residential installation. This equipment generates, uses and can radiate radio frequency energy and, if not installed and used in accordance with the instructions, may cause harmful interference to radio communications. However there is no guarantee that interference will not occur in a particular installation. If this equipment does cause harmful interference to radio or television reception, which can be determined by turning the equipment off and on, the user is encouraged to try to correct the interference by one or more of the following measures.
- Reorient or relocate the receiving antenna. y Increase the separation between the equipment and receiver.
- Connect the equipment into an outlet on a circuit different from that to which the receiver is connected.
- Consult the dealer or an experienced radio/TV technician for help.
This device complies with Part 15 of the FCC rules. Operation is subject to the following two conditions below.
- This device may not cause harmful interference
- This device must accept any interference received, including interference that may cause undesired operation
Installation
This Power Pro control unit is designed to power most Remco Professional Grade pumps and many other brands. The Powersport™ battery pack system will output 13.5 VDC to the pump and is limited to 15 amps maximum.
- To install the Power Pro controller and battery pack the pump will need to be removed from the tank.
- The controller base plate will be placed under the pump and screwed down with the longer screws supplied in the kit (4: #10-24 x 1-1/4”)
- Note: If using the Powersport™ system in conjunction with a pump that has a manifold system included in the hardware pack is 1: #10- 24 x 1-1/2” screw, long enough to mount the manifold securely to the pump foot.
- The Powersport™ pump controller is part of the base unit and on/off remote is already paired with the control unit.
CONTROLLER INSTALLATION
- On the side of the control unit, press the power button and the red LED will come on solid indicating that the controller is in standby mode.
- Press the power button or ON button on the remote, the green LED will come on and the pump will power on, red LED will be off.
- To stop pump output press the power button or OFF on the remote, the pump will stop and red LED will come on indicating controller is back in standby. green LED will be off.
- Press and hold the control unit’s power button for 2 seconds and the system will be turned off completely
Installation Orientation

Product Usage
CONTROLLER FUNCTION:
- On the side of the control unit, press the power button and the red LED will come on solid indicating that the controller is in standby mode.
- Press the power button or ON button on the remote, the green LED will come on and the pump will power on, red LED will be off.
- To stop pump output press the power button or OFF on the remote, the pump will stop and red LED will come on indicating controller is back in standby. green LED will be off.
- Press and hold the control unit’s power button for 2 seconds and the system will be turned off completely.
CONTROLLER LIGHT INDICATIONS:
| • Standby mode: red LED on, green LED off. • Working mode: green LED on, red LED off. | |
| • Low Battery Voltage: green LED will flash at 1 second intervals, red LED will be off. ◆ Low Battery Voltage mode happens with battery pack output voltage is less than 14.5V (full charge output is 22v). Operator can press the OFF key on the remote to put the Power Pro system into Standby, but the On button will be invalid and light indication above will be shown. • Shut Down Mode: green LED Flashing 1 second intervals, red LED on. ◆ Shut Down mode is initiated when battery pack voltage is getting low. Once that voltage falls below 13.5V the controller will automatically shut down. • Over Current Protection: red LED flashing at 1 second intervals, green LED off. ◆ Over current protection happens if the pump amperage is above 15 Amps for more than 2 seconds. The Power Pro battery system will automatically shutdown. • Thermal Overload: green LED quick flash then Off for 1 second, Red LED on. ◆ Thermal overload happens when the temperature of the controller circuit board or battery pack exceeds safe operating temperatures. |
Charging Procedure
- Plug the charger into an appropriate outlet before inserting the battery pack. The green LED will be on solid.
- Insert the battery pack into the charger.
- The red LED light will be on solid while battery pack is charging.
- When the battery is fully charged, the green LED light will turn on. The battery can be left connected to the charger with green LED indicating the charger is maintaining the battery continuously.
CHARGING NOTES:
- The charger and battery pack may become warm to the touch while charging. This is normal and does not indicate a problem, ensure vents are not blocked to allow cooling.
- The battery pack should be recharged when it no longer powers the equipment. Optimum performance when battery is fully re-charged; partially charged battery will result in lower performance.
Remote Pairing
Remote control that is included with your Powersport™ system is already paired with your controller and there is no action required. If your remote control is broken or lost a new one can be paired with your existing controller using the following steps once you have your new remote.
- The battery pack will have to initially be removed and ensure Power Pro system is completely shut down, unplug the pump from the power unit at this time.
- Remove 4 screws holding the controlling unit’s aluminum heat sink on.
- Locate the red paring button on the circuit board.
- Once located, install the battery pack and power on the controller so it is in standby mode.
- While controller is in standby mode press the red pair button, red LED light on the controller will pulse indicating that the controller is in pair mode.
- With the red LED pulsing, press the ON or OFF key of your new remote.
◆ If green LED flashes twice the new remote has been successfully paired, re-assemble the control unit on to your sprayer it is ready to use.
◆ If green LED flashes once it means the remote has already been paired with the unit. Pairing a new remote will make the previous remote invalid.
Storage Recommendations
- Best storage is in a cool and dry place away from direct sunlight and access to heat or cold.
- Long storage will not harm the batter pack, charger, or control unit.
- Do Not Store a battery connected to a charger.
Troubleshooting
| PROBLEM | POSSIBLE CAUSE | POSSIBLE SOLUTION |
| Battery not Charging | Charger not plugged in | Plug charger into a working outlet. Check outlet with another device |
| Temperature is too hot or too cold | Move charger and battery to a climate-controlled environment and wait for the product to reach room temperature | |
| Battery Pack not on charger properly | Remove battery pack and re-install. Ensure batteries plastic side guides on inserted properly on the charger | |
| Corrosion | Check contacts of charger and battery make sure they are not corroded or have excess debris | |
| Remote Does not control the receiver | Remote Battery is dead | Replace remote battery |
| Receiver is not powered on | Press power button on control unit. The red LED should be on indicating the control unit is in standby mode | |
| Remote is not paired with receiver | See pairing instructions | |
| Radio interference | Move the control unit and remote away from any electrical interference | |
| Control Unit does not power pump and red LED is off | Red LED is off Battery not installed correctly | Remove battery pack, inspect for any foreign objects and carefully reinstall |
| Battery is dead | Press power indication button on top of battery pack to check power level, if power is low remove battery pack, charge, and reinstall | |
| Receiver does not power pump and green LED is on | Bad electrical connection | Check the wire leads from the control unit and the plug at the pump, disconnect and reconnect while inspecting for corrosion |
| Pump not powering on | Temperature limit reached | Battery pack and control unit are both equipped with thermal overload protection. Check control unit light indication for thermal overload. Bring battery pack and control unit into climate-controlled environment and wait for them to reach room temperature |
| Low voltage output | Battery will automatically shut down once voltage drops below 13.5VDC. Use power indication light on the top of your battery pack to check power level, remove battery, charge and re-install | |
| High amperage | Check wiring for any shorts or damage. Also be sure that amperage of your pump while operating is limited to below 15 AMPs |

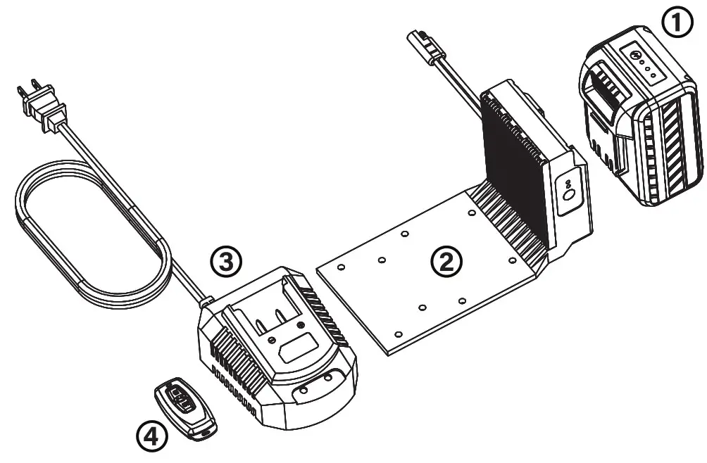
PARTS INCLUDED
- Powersport™ Control Unit (RBP2005-CU)
- Powersport™ Charger (RBP2005-CH)
- Powersport™ Remote (RBP2005-RE)
Warranty Statement
REMCO warrants its products to be free from defects in material and workmanship on all products sold by REMCO for resale or for use in purchasers’ own business or original equipment manufacturer. Under normal use, maintenance and service (rental use excluded) the following terms apply For all REMCO products, the warranty will last for a period of one year from date of manufacture, or (1) year use with proof of purchase, not to exceed (2) years in any event. REMCO’s obligation under this warranty shall be limited to replacing or repairing at REMCO’s discretion, any such product or part which must be returned to REMCO’s factory with a Return Material Authorization Number (RMA), transportation charges approved by REMCO or prepaid, and which upon examination, is found to REMCO’s satisfaction to have been defective under the terms of this warranty. No credit will be allowed against future purchases for items returned as defective under the terms of REMCO’s warranty. This warranty does not extend to any products, which have been altered or modified outside the REMCO factory, to any products that have not been properly maintained, nor does it apply to units that are returned in an unassembled condition. Furthermore, the warranty does not extend to pumps that are non-compliance with REMCO’s Engineering Standards. This
includes, but is not limited to, pumps ordered without an integral pressure control mechanism. The warranty guarantees that products will perform to REMCO’s flow and pressure specifications throughout the life of the warranty.
The warranty does not cover wear, appearance, misuse, abuse, misapplication or external water damage. If the returned product is found not to be defective under the conditions of this warranty, a charge will be made for repair or replacement.
Brush wear may be limited to 1000 hours or less.
This is a Limited Warranty. It covers the product only and the extent of the coverage is limited to the cost of the product. As the manufacturer has no control over shipping, handling and installation, the warranty cannot cover water damage, or any other damage, caused by a leak or other malfunction.
THIS WARRANTY IS IN LIEU OF ALL WARRANTIES, EXPRESSED OR IMPLIED, INCLUDING IMPLIED WARRANTIES OR WARRANTIES OF MERCHANTABILITY AND/ OR FITNESS FOR A PARTICULAR PURPOSE. NO PERSON IS AUTHORIZED TO GIVE ANY OTHER WARRANTY OR ASSUME OBLIGATION OR LIABILITY ON REMCO’S BEHALF. REMCO SHALL NOT BE LIABLE FOR ANY INDIRECT, INCIDENTAL, PUNITIVE OR CONSEQUENTIAL DAMAGES OF ANY KIND INCURRED BY THE REASON OF THE USE OR SALE OF ANY DEFECTIVE PRODUCT AND PART. THIS
WARRANTY SHALL BE GOVERNED BY THE LAWS OF THE STATE OF MINNESOTA, WITH ANY DISPUTE OR CLAIM VENUED OR HEARD IN THE STATE OF MINNESOTA.
WARNING: Cancer and Reproductive Harm
www.P65WARNINGS.CA.GOV
wwwsemcoindustries.com
763-253-4740
www.remcoindustries.com
Powersport™ Manual – 2023



















