parweld XTS 163, XTS 163 DV Dual Voltage 160A MMA Inverter Welder

Welcome
Thank you and congratulations on choosing Parweld. This Owner’s Manual is designed to help you get the most out of your Parweld products. Please take time to read the Safety precautions. They will help you protect yourself against potential hazards in the workplace. With proper maintenance this equipment should provide years of reliable service. All our systems conform to ISO9001: 2008 and are independently audited by NQA.
The entire product range carries the CE mark, and is constructed in accordance with European directives and the product specific standards where they apply.
Further Information
Parweld is the UK’s leading manufacturer of MIG, TIG and Plasma torches and consumables.
For more information about Parweld’s complete range visit: www.parweld.co.uk
Safety Precautions
ELECTRIC SHOCK can kill.
- Touching live electrical parts can cause fatal shocks or severe burns. The electrode and work circuit is electrically live whenever the output is on. The input power circuit and machine internal circuits are also live when power is on.
- Do not touch live electrical parts.
- Wear dry, sound insulating gloves and body protection.
- Insulate yourself from work and ground using dry insulating mats or covers big enough to prevent any physical contact with the work ground.
- Additional safety precautions are required when any of the following electrically hazardous conditions are present: in damp locations or while wearing wet clothing; on metal structures such as floors, gratings, or scaffolds; when in cramped positions such as sitting, kneeling, or lying; or when there is a high risk of unavoidable or accidental contact with the work piece or ground.
- Disconnect input power before installing or servicing this equipment. Lockout/tagout input power according to Safety Standards.
- Properly install and ground this equipment according to national and local standards.
- Always verify the supply ground – check and ensure that input power cable ground wire is properly connected to ground terminal in the receptacle outlet.
- When making input connections, attach proper grounding conductor first – double-check connections.
- Frequently inspect input power cable for damage or bare wiring – replace cable immediately if damaged – bare wiring can kill.
- Turn off all equipment when not in use.
- Do not use worn, damaged, under sized, or poorly spliced cables.
- Do not drape cables over your body.
- If earth grounding of the work piece is required, ground it directly with a separate cable.
- Do not touch electrode if you are in contact with the work, ground, or another electrode from a different machine.
- Use only well-maintained equipment. Repair or replace damaged parts at once. Maintain unit according to manual.
- Wear a safety harness if working above floor level.
- Keep all panels and covers securely in place.
- Clamp work cable with good metal-to-metal contact to work piece or worktable as near the weld as practical.
Insulate work clamp when not connected to work piece to prevent contact with any metal object.
Welding produces fumes and gases. Breathing these fumes and gases can be hazardous to your health.
FUMES AND GASES can be hazardous.
- Keep your head out of the fumes. Do not breathe the fumes.
- If inside, ventilate the area and/or use local forced ventilation at the arc to remove welding fumes and gases.
- If ventilation is poor, wear an approved respirator.
- Read and understand the Material Safety Data Sheets (MSDS’s) and the manufacturer’s instructions for metals, consumable, coatings, cleaners, and de-greasers.
- Work in a confined space only if it is well ventilated, or while wearing an air-supplied respirator. Always have a trained watch person nearby.
- Welding fumes and gases can displace air and lower the oxygen level causing injury or death. Be sure the breathing air is safe.
- Do not weld in locations near de-greasing, cleaning, or spraying operations. The heat and rays of the arc can react with vapours to form highly toxic and irritating gases.
- Do not weld on coated metals, such as galvanized, lead, or cadmium plated steel, unless the coating is removed from the weld area, the area is well ventilated, and while wearing an air-supplied respirator. The coatings and any metals containing these elements can give off toxic fumes if welded.
ARC RAYS can burn eyes and skin.
Arc rays from the welding process produce intense, visible and invisible (ultraviolet and infrared) rays that can burn eyes and skin. Sparks fly off from the weld.
Wear an approved welding helmet fitted with a proper shade of filter lenses to protect your face and eyes when welding or watching
Wear approved safety glasses with side shields under your helmet.
Use protective screens or barriers to protect others from flash, glare and sparks; warn others not to watch the arc.
Wear protective clothing made from durable, flame resistant material (leather, heavy cotton, or wool) and foot protection. Welding on closed containers, such as tanks, drums, or pipes, can cause them to blow up. Sparks can fly off from the welding arc. The flying sparks, hot work piece, and hot equipment can cause fires and burns. Accidental contact of electrode to metal objects can cause sparks, explosion, overheating, or fire. Check and be sure the area is safe before doing any welding.
WELDING can cause fire or explosion.
Remove all flammables within 10m of the welding arc. If this is not possible, tightly cover them with approved covers.
Do not weld where flying sparks can strike flammable material.
Protect yourself and others from flying sparks and hot metal.
Be alert that welding sparks and hot materials from welding can easily go through small cracks and openings to adjacent areas.
Watch for fire, and keep a fire extinguisher nearby. Be aware that welding on a ceiling, floor, bulkhead, or partition can cause fire on the hidden side.
Do not weld on closed containers such as tanks, drums, or pipes, unless they are properly prepared according to local regulations
Connect work cable to the work as close to the welding area as practical to prevent welding current from travelling along possibly unknown paths and causing electric shock, sparks, and fire hazards.
Wear oil-free protective garments such as leather gloves, heavy shirt, cuffless trousers, high shoes, and a cap. Remove any combustibles, such as a butane lighter or matches from your person before doing any welding.
FLYING METAL can injure eyes.
Welding, chipping, wire brushing, and grinding cause sparks and flying metal. As welds cool they can throw off slag. Wear approved safety glasses with side shields even under your welding helmet.
BUILD UP OF GAS can injure or kill.
Shut off shielding gas supply when not in use. Always ventilate confined spaces or use approved air-supplied respirator.
Read and follow instructions on compressed gas cylinders, associated equipment and Compressed Gas Association (CGA) recommendations.
Product Description
This welding machine is manufactured using advanced inverter technology. The input voltage is rectified to DC and then inverted to high frequency AC voltage. before being converted back to DC for the output .This allows the use of a much smaller transformer and so allowing weight saving and improved power efficiency.
Technical Specifications
| Machine Model | ||
| XTS 163 | XTS 163 DV | |
| Input voltage | 230V +/- 10% | 230/110V +/- 10% |
| Frequency | 50/60Hz | 50/60Hz |
| Input current | 31.7A max 15.9 eff | 31/44A max 15.5/17 eff |
| Fuse rating | 16A | 16/32A |
| Output OCV | 60 | 60 |
| Output load voltage | 20.2-26.4 | 20.2-26.4 |
| Output Current | 5-160A DC | 5-160A DC (230V) 5-140A DC (110V) |

Description of Controls
- ON OFF Switch for switching on or off the mains supply to the machine. Note the output of the machine is permanently on unless the on/off switch is in the off position.
- Power light This indicates mains power is applied to the machine and that the machine is currently switched on when the light is illuminated.
- Fault light This indicates a fault or over temperature condition with the machine refer to the fault finding section for further information.
- Digital Amperage display, displays the preset and actual welding currents.
- Output power control knob for adjustment of the power output of the machine in LIFT-TIG or MMA mode.
- Welding mode selector for MMA electrode type and Lift TIG.
- Output power connection + (Positive) this is the 35mm Dinse connection socket for the connection of the positive welding lead.
- Output power connection – (Negative) this is the 35mm Dinse connection socket for the connection of the negative welding lead.
Installation
Read entire installation section before starting installation.
SAFETY PRECAUTIONS
- ELECTRIC SHOCK can kill.
- Only qualified personnel should perform this installation.
- Only personnel that have read and understood the Operating Manual should install and operate this equipment.
- Machine must be grounded per any national, local or other applicable electrical regulations.
- The power switch is to be in the OFF position when installing work cable and electrode cable and when connecting other equipment.
Unpacking the Machine
Carefully remove the machine from the packaging, we recommend you retain the packaging until the machine has been fully installed and tested incase it has been damaged in transit and has to be returned to the reseller.
Location
Be sure to locate the welder according to the following guidelines:
- In areas, free from moisture and dust.
- Ambient temperature between 0-400C.
- In areas free from oil, steam and corrosive gases.
- In areas not subjected to abnormal vibration or shock.
- In areas not exposed to direct sunlight or rain.
- Place at a distance of 12” (300 mm) or more from walls or similar that could restrict natural airflow for cooling.
Input and grounding connection
WARNING
Before starting the installation, check that your power supply is adequate for the voltage, amperage, phase, and frequency specified on the Machine nameplate.
Operate the welding power source from a single-phase 50/60 Hz, AC power supply. The input voltage must match one of the electrical input voltages shown on the input data label on the unit nameplate. The XTS163 machine should only be used on 230v supply. Refer to the specifications table for voltage tolerances. The XTS 163 DV will automatically switch between 110 or 230V input without adjustment of the machine.
Have a qualified electrician connect the input plug. For long runs over 30m , larger copper wires should be used. The green/yellow wire in the input cable connects to the frame of the machine. This ensures proper grounding of the machine when the machine plug is inserted into the receptacle.
Output Polarity Connections
Electrode polarity
MMA electrodes are generally connected to the ‘+’ terminal and the work return lead to the ‘-‘terminal
But if in doubt consult the electrode manufacturer’s literature.
IF TIG welding the torch should always be connected to the ‘-’ terminal.
Torch installation
MMA cable connections
Connect electrode lead to positive terminal
TIG welding cable connection
Connect the TIG torch to the – terminal
Work return lead connection
MMA cable connections
Connect work lead to negative terminal
TIG welding
Connect the work return lead to the + terminal
Operation
WARNING
When using an open arc process, it is necessary to use correct eye, head, and body protection
MMA Welding Guide
Effects of MMA welding various materials
High tensile and alloy steels
The two most prominent effects of welding these steels are the formation of a hardened zone in the weld area, and, if suitable precautions are not taken, the occurrence in this zone of under-bead cracks. Hardened zone and under-bead cracks in the weld area may be reduced by using the correct electrodes, preheating, using higher current settings, using larger electrodes sizes, short runs for larger electrode deposits or tempering in a furnace.
Manganese steels
The effect on manganese steel of slow cooling from high temperatures is embrittlement. For this reason it is absolutely essential to keep manganese steel cool during welding by quenching after each weld or skip welding to distribute the heat.
Cast iron
Most types of cast iron, except white iron, are weldable. White iron, because of its extreme brittleness, generally cracks when attempts are made to weld it. Trouble may also be experienced when welding white-heart malleable, due to the porosity caused by gas held in this type of iron.
Copper and alloys
The most important factor is the high rate of heat conductivity of copper, making preheating of heavy sections necessary to give proper fusion of weld and base metal.
Types of electrodes
Arc welding electrodes are classified into a number of groups depending on their applications. There are a great number of electrodes used for specialized industrial purposes which are not of particular interest for everyday general work. These include some low hydrogen types for high tensile steel, cellulose types for welding large diameter pipes, etc. The range of electrodes dealt with in this publication will cover the vast majority of applications likely to be encountered; all are easy to use and will all work on even the most basic of welding machines.
Metals being joined & electrode comments
Mild steel
6013 ideal electrodes for all general purpose work. Features include outstanding operator appeal, easy arc starting and low spatter.
Cast iron
99% nickel suitable for joining all cast irons except white cast iron
Stainless steel
316l-16 high corrosion resistance. Ideal for dairy work, etc. On stainless steels.
Basic TIG Welding guide
Tig welding cable connection
Connect the TIG torch to the – terminal and the work return lead to the + terminal for direct current straight polarity. Direct current straight polarity is the most widely used polarity for DC TIG welding. It allows limited wear of the electrode since 70% of the heat is concentrated at the work piece. Connect the gas hose on the TIG torch to the gas outlet on the gas regulator. Move the selector switch on the front panel of the machine to the LIFT-TIG position.
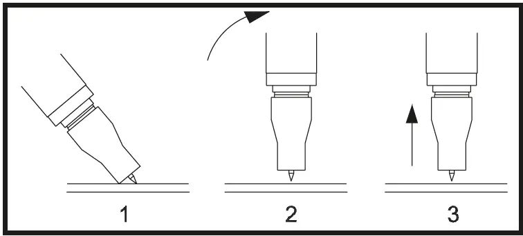
Torch starting in LIFT-TIG mode
Ensure the gas supply is switched on and gas is flowing from the front of the torch nozzle. Briefly contact the tip of the tungsten electrode down onto the work piece with the torch at around 700 from vertical, lift the torch up from the work piece to draw out an arc. To prevent melting of the end of the tungsten, do so in a smooth rapid movement.

TIG welding guide
| Electrode diameter | DC current (amps) |
| 0.040” (1.0mm) | 30 – 60 |
| 1/16” (1.6mm) | 60 – 115 |
| 3/32” (2.4mm) | 100 – 165 |
Tungsten electrode types
| Electrode type | Welding application | Colour code |
| Thoriated 2% | DC welding of mild steel, stainless steel and copper. Excellent arc starting, long life, high current carrying capacity. | RED |
| Ceriated 2% | DC welding of mild steel, stainless steel, copper, aluminum, their alloys longer life, more stable arc, easier starting, wider current range, narrower more concentrated arc | GREY |
Guide for selecting filler wire diameter
| Filler wire diameter | DC current range |
| 1/16” (1.6 mm) | 20 – 90 |
| 3/32” (2.4 mm) | 65 – 115 |
| 1/8” (3.2 mm) | 100 – 165 |
| 3/16” (4.8 mm) | 200-350 |
The filler wire diameter specified is a guide only, other diameter wires may be used according to the welding application
Shielding gas selection
| Alloy | Shielding gas |
| Aluminium & alloys | Pure Argon |
| Carbon steel | Pure Argon |
| Stainless steel | Pure Argon |
| Nickel alloy | Pure Argon |
| Copper | Pure Argon |
| Titanium | Pure Argon |
Fault Finding
MMA welding problem
| Description | Possible cause | Remedy |
| Gas pockets or voids in weld metal (porosity) | (a) Electrodes are damp (b) Welding current is too high. (c) Surface impurities such as oil, grease, paint, etc | (a) Dry electrodes before use (b) Reduce welding current (c) Clean joint before welding |
| Crack occurring in weld metal soon after solidification. | (a) Rigidity of joint. (b) Insufficient throat thickness. (c) Cooling rate is too high. | (a) Redesign to relieve weld joint of severe stresses or use crack resistance electrodes. |
| (b) Travel slightly slower to allow greater build up in throat. | ||
| (c) Preheat plate and cool slowly. | ||
| A gap is left by failure of the weld metal to fill the root of the weld | (a) Welding current is too low. (b) Electrode too large for joint. (c) Insufficient gap (d) Incorrect sequence | (a) Increase welding current (b) Use smaller diameter electrode. |
| (c) Allow wider gap | ||
| (d) Use correct build- up sequence | ||
| Portions of the weld run do not fuse to the surface of the metal or edge of the joint. | (a) Small electrodes used on heavy cold plate (b) Welding current is too low (c) Wrong electrode angle (d) Travel speed of electrode is too high (e) Scale or dirt on joint surface | (a) Use larger electrodes and preheat the plate (b) Increase welding current (c) Adjust angle so the welding arc is directed more into the base metal |
| (d) Reduce travel speed of electrode | ||
| (e) Clean surface before welding. |
| Description | Possible cause | Remedy |
| Nonmetallic particles are trapped in the weld metal (slag inclusion). | (a) Nonmetallic particles may be trapped in undercut from previous run | (a) If bad undercut is present, clean slag out and cover with a run from a smaller diameter electrode. (b) Allow for adequate penetration and room for cleaning out the slag (c) If very bad, chip or grind out Irregularities (d) Use smaller electrode with sufficient current to give adequate penetration. adequate penetration. Use suitable tools to remove all slag from corners (f) Use electrodes designed for position in which welding is done, otherwise proper control of slag is difficult. |
| (b) Joint preparation too restricted | ||
| (c) Irregular deposits allow slag to be trapped. | ||
| (d) Lack of penetration with slag trapped beneath weld bead. | ||
| (e) Rust or mill scale is preventing full fusion. | ||
| (f) Wrong electrode for position in which welding is done. |
TIG welding problems
Weld quality is dependent on the selection of the correct consumable, maintenance of equipment and proper welding technique.
| Description | Possible Cause | Remedy |
| Excessive bead build up or poor penetration or poor fusion at edges of weld | Welding current is too low | Increase weld current and/or faulty joint preparation |
| Weld bead too wide and flat or undercut at edges of weld or excessive burn through | Welding current is too high | Decrease weld current |
| Description | Possible Cause | Remedy |
| Weld bead too small or insufficient penetration or ripples in bead are widely spaced apart | Travel speed too fast | Reduce travel speed |
| Weld bead | Travel speed too slow | Increase travel |
| too wide or | speed | |
| excessive | ||
| bead build up | ||
| or excessive | ||
| penetration in | ||
| butt joint | ||
| Uneven leg length in fillet joint | Wrong placement of filler rod | Re-position filler rod |
| Electrode melts when arc is struck | Electrode is connected to the ‘+’ terminal | Connect the electrode to the ‘-‘ terminal |
| Dirty weld pool | (a) Electrode contaminated through contact with work piece or filler rod material (b) Gas contaminated with air | (a) Clean the electrode by grinding off the contaminates (b) Check gas lines for cuts and loose fitting or change gas cylinder |
| Electrode melts or oxidizes when an arc is struck | (a) No gas flowing to welding region (b) Torch is clogged with dust | (a) Check the gas lines for kinks or breaks and gas cylinder contents |
| (c) Gas hose is cut | (b) Clean torch | |
| (d) Gas passage contains impurities | (c) Replace gas hose | |
| (e) Gas regulator is turned off (f) Torch valve is turned off | (d) Disconnect gas hose from torch then raise gas pressure to blow out impurities. | |
| (g) The electrode is too small for the welding current | (e) Turn on (f) Turn on | |
| (g) Increase electrode diameter or reduce the welding current | ||
| Poor weld finish | Inadequate shielding gas | Increase gas flow or check gas line for gas flow problems |
| Description | Possible Cause | Remedy |
| Arc flutters during TIG welding | (a) Tungsten electrode is too large for the welding current (b) Absence of oxides in the Weld pool. | (a) Select the right size electrode. Refer to basic TIG welding guide. (b) Refer basic TIG welding guide for ways to reduce arc flutter |
| Welding arc cannot be established | (a) Work clamp is not connected to the work piece or the work/torch leads are not connected to the machine (b) Torch lead is disconnected (c) Gas flow incorrectly set, cylinder empty or the torch valve is off | a) Connect the work clamp to the work piece or connect the work/torch leads to the right welding terminals. (b) Connect it to the ‘-’ terminal. (c) Select the right flow rate, change cylinders or turn torch valve on. |
| Arc start is not smooth | (a) Tungsten electrode is too large for the welding current . (b) The wrong electrode is being used for the welding job. (c) Gas flow rate is too high. (d) Incorrect shielding gas is being used. (e) Poor work clamp connection to work piece | (a) Select the right size electrode (b) Select the right electrode type. Refer to basic TIG welding guide (c) Select the correct rate for the welding job. Refer to basic TIG welding guide (d) Select the right shielding gas. Refer to basic TIG welding guide (e) Improve connection to work piece |
Power source problems
| Description | Possible cause | Remedy |
| The welding arc cannot be established | (a) The primary supply voltage has not been switched on | (a) Switch on the primary supply voltage |
| (b) The welding power source switch is switched off | (b) Switch on the welding power source. | |
| (c) Loose connections internally | (c) Have a qualified service engineer repair the connection | |
| Maximum | Defective control circuit | Have a qualified |
| output welding | service engineer | |
| current cannot | inspect then repair | |
| be achieved | the welder | |
| with nominal | ||
| mains supply | ||
| voltage | ||
| Welding | Poor work lead | Ensure that the |
| current | connection to the work | work lead has a |
| reduces when | piece | reliable electrical |
| welding | connection to the | |
| work piece |
| Description | Possible cause | Remedy |
| A total loss of power, pilot lamp is off, no output, the fan is not operating | (a) Failure of input voltage (b) Possible over voltage (c) Internal fault with the machine | (a) Re-establish mains supply (b) Check voltage and if necessary move machine to alternative supply |
| (c) Have a qualified service engineer inspect then repair the welder | ||
| Fault lamp is on, no power output | (a) Machine overheated (b) Over current state (c) Internal fault with machine | (a) Allow to cool with fan running (b) Switch off mains power to the machine and re start |
| (c) Have a qualified service engineer inspect | ||
| then repair the welder |
ROUTINE MAINTENANCE
The only routine maintenance required for the power supply is a thorough cleaning and inspection, with the frequency depending on the usage and the operating environment.
Warning
Disconnect primary power at the source before removing the cover. Wait at least two minutes before opening the cover to allow the primary capacitors to discharge.
To clean the unit, remove the screws securing the outer cover,
lift off the outer cover and use a vacuum cleaner to remove any accumulated dirt and dust. The unit should also be wiped clean, if necessary; with solvents that are recommended for cleaning electrical apparatus.
Accessories
Torch spares

Gas equipment
Everyday Gas Regulators – 300 BAR
Single Stage
Features
Flow rate up to 96m3/h (3389 ft3/h)
- Full 300 bar capability
- Outlet pressure indicated on the bonnet
- Bottom entry design suited for top outlet cylinder valves

Fittings
- Fitted with standard 3/8” BSP outlet
- Fitted with 5/8” BSP inlet connections

Flow Meters Features
- Designed from brass bar whilst the tube and cover are molded from high quality polycarbonate to ensure high impact resistance and clarity
- Calibrated to operate at an inlet pressure of 30PSI
- Sensitive needle valve provides easy adjustment and the downward facing outlet connection eliminates hose kinking.

Fittings
- Fitted with standard 3/8” BSP inlet and outlet connections

Torch Exploded View
WP17
Air Cooled TIG Welding Torch

| Model | ||
| Description | Stock Code 12ft (3.8m) | 25ft (7.6m) |
| Valved Tig Torch c/w 2 Piece Power Cable and dinse connection | WP17V-12-2-IX | WP17V-25-2-IX |
| Valved Flexible neck Tig Torch c/w 2 Piece Power Cable and dinse connection | WP17VFX-12-2-IX | WP17VFX-25-2-IX |
Standard Collet
Stock Code : Description
A 10N21 : Standard Collet .0209/0.5mm Bore
- 10N22 : Standard Collet .0409/1.0mm Bore
- 10N23 : S:tandard Collet 1/169/1.6mm Bore
- 10N23M :Standard Collet 5/649/2.0mm Bore
- 10N24 : Standard Collect 3/329/2.4mm Bore
- 10N25 : Standard Collet 1/89/3.2mm Bore
- 54N20 : Standard Collet 5/329/4.0mm Bore
Standard Collet Body
Stock Code : Description
B 10N29 :Standard Collet Body. 020” 0.5mm Bore
- 10N30 Standard Collet Body. 040” 1.0mm Bore
- 10N31 Standard Collet Body 1/16” 1.6mm Bore
- 10N32 Standard Collet Body 3/32” 2.4mm Bore
- 10N28 Standard Collet Body. 1/8” 3.2mm Bore
- 406488 Standard Collet Body 5/32” 4.0mm Bore
Standard Ceramic Cup
Stock Code : Description
C 10N50 : Standard Ceramic Cup 1/4” 6mm Bore
- 10N49 :Standard Ceramic Cup 5/16” 8mm Bore
- 10N48 :Standard Ceramic Cup 3/8” 10mm Bore
- 10N47 : Standard Ceramic Cup 7/16” 11mm Bore
- 10N46 :Standard Ceramic Cup 1/2” 13mm Bore
- 10N45 :Standard Ceramic Cup 5/8” 16mm Bore
- 10N44 Standard Ceramic Cup 3/4” 19mm Bore
Standard Long Ceramic Cup
Stock Code: Description
D 10N49L Long Ceramic Cup 5/16” 8mm Bore
- 10N48L Long Ceramic Cup 3/8” 10mm Bore
- 10N47L Long Ceramic Cup 7/16” 11mm Bore
Stubby Series Collet
Stock Code : Description
E 10N21S Stubby Collet .020” 0.5mm Bore
- 10N22S Stubby Collet .040” 1.0mm Bore
- 10N23S Stubby Collet 1/16” 1.6mm Bore
- 10N24S Stubby Collet 3/32” 2.4mm Bore
- 10N25S Stubby Collet 1/8” 3.2mm Bore
Stubby Collet Body
Stock Code : Description
F 17CB20 Stubby Collet Body .020-1/8 Bore
Stubby Series Ceramic Cup
Stock Code : Description
G 13N08 Standard Ceramic Cup 1/4” 6mm Bore
- 13N09 : Standard Ceramic Cup 5/16” 8mm Bore
- 13N10 : Standard Ceramic Cup 3/8” 10mm Bore
- 13N11 : Standard Ceramic Cup 7/16” 11mm Bore
- 13N12 : Standard Ceramic Cup 1/2” 13mm Bore
- 13N13 : Standard Ceramic Cup 5/8”16mm Bore
Gas Lens Body
Stock Code : Description
H 45V29 Gas Lens Body .020” 0.5mm Bore
- 45V24 Gas Lens Body .040” 1.0mm Bore
- 45V25 Gas Lens Body 1/16” 1.6mm Bore
- 45V26 Gas Lens Body 3/32” 2.4mm Bore
- 45V27 Gas Lens Body 1/8” 3.2mm Bore
Standard Gas Lens Cup
Stock Code : Description
I 54N18 Standard Gas Lens Cup 1/49/6mm Bore
- 54N17 Standard Gas Lens Cup 5/169/8mm Bore
- 54N16 Standard Gas Lens Cup 3/89/10mm Bore
- 54N15 Standard Gas Lens Cup 7/169/11mm Bore
- 54N14 Standard Gas Lens Cup 1/29/13mm Bore
- 54N19 Standard Gas Lens Cup 1 1/169/17mm Bore
Long Gas Lens Cup
Stock Code : Description
J 54N17L Long Gas Lens Cup 5/16” 8mm Bore
- 54N16L Long Gas Lens Cup 3/8” 10mm Bore
- 54N15L Long Gas Lens Cup 7/16” 11mm Bore
Large Diameter Gas Lens Body
Stock Code : Description
K 45V116 Large Diameter Gas Lens Body 1/16” 1.6mm Bore
- 45V64 Large Diameter Gas Lens Body 3/32” 2.4mm Bore
- 995795 Large Diameter Gas Lens Body 1/8” 3.2mm Bore
Large Diameter Gas Lens Cup
Stock Code : Description
L 57N75 Large Diameter Gas Lens Cup 3/8”10mm Bore
- 57N74 Large Diameter Gas Lens Cup 1/2” 13mm Bore
- 53N88 Large Diameter Gas Lens Cup 5/8” 16mm Bore
- 53N87 Large Diameter Gas Lens Cup 3/4” 19mm Bore
Components
Stock Code : Description
- 18CG Cup Gasket
- 18CG20 Cup Gasket for Stubby Collet Body
- 54N01 Gas Lens Insulator (use with 18CG)
- 54N63 Insulator Large Diameter Gas Lens(use with 18CG)
- WP17 Torch Body including Cup Gasket
- 98W18 Back Cap ‘O’ Ring
- 57Y02 Back Cap Long
- 57Y04 Back Cap Short
- 950 Microswitch Bulbous
NI 950F Microswitch Flat - 950-40 Switch & Leads x 3.8mt/12.5ft
950-80 Switch & Leads x 7.6mt/25ft - RDZ0591 Snap On Boot
NI 607664 Rubber Boot - 609123 Neoprene Sheath x 3.8mt/12.5ft
609125 Neoprene Sheath x 7.6mt/25ft - 105Z55 Handle
- 0315071 Insulation Boot
- 57Y01 Power Cable x 3.8mt/12.5ft Vinyl
57Y03 Power Cable x 7.6mt/25ft Vinyl
57Y01R Power Cable x 3.8mt/12.5ft Rubber
57Y03R Power Cable x 7.6mt/25ft Rubber
57Y01-2 Power Cable x 3.8mt/12.5ft 2 Piece
57Y03-2 Power Cable x 7.6mt/25ft 2 Piece - WP17V Torch Body Valve
- VS-2 Valve Stem
- WP17FX Torch Body Flexible
- WP17VFX Torch Body Flexi-Valve
EC declaration of conformity
Hereby we declare that the machines as stated below
Type: XTS 163, XTS163 DV
Conform to the EC Directives:
Low Voltage Directive 2014/35/EEC
EMC Directive 2014/35/EEC
Harmonised European standard: EN/IEC 60974-1
This is to certify that the tested sample is in conformity with all provisions of the above detailed EU directives and product standards.

Rohs Compliance Declaration
Directive 2011/65/EU of the European Parliament
Amended 2015/863 and 2017/2102
Restriction of use of certain hazardous substances in electrical and electronic equipment
Type: XTS 163, XTS163 DV
The above listed products are certified to be compliant with the rohs directive with all homogeneous component parts being controlled to ensure material contents as per the list below.
- Cadmium 0.01% by weight
- Lead 0.1% by weight
- Mercury 0.1% by weight
- Hexavalent chromium 0.1% by weight
- Polybrominated biphenyl’s (pbbs) 0.1% by weight
- Polybrominated diphenyl ethers (pbdes) 0.1% by weight
It should be noted that under specific exempted applications, where lead is used as an alloying element the following limits are applied in accordance with the regulations.
Copper and copper alloy parts use less than 4% by weight of each homogeneous component.
Steel and steel alloy parts use less than 4% by weight of each homogeneous component.
Aluminium and aluminium alloy parts use less than 4% by weight of each homogeneous component.
Only dispose off in authorized sites for electrical and electronic waste do not dispose of with general refuse or landfill waste.
WEEE Statement

WEEE (Waste Electrical & Electronic Equipment) 2012/19/EU
In relation to implementing the legislation, Parweld has established relevant recycling and recovery methods. We have been fully compliant against the marking requirements since August 2005. Parweld is registered in the UK with the Environment agency as detailed below. For WEE compliance outside the UK please contact your supplier/Importer
Parweld is registered with a compliance scheme Official registration number is WEE/FD0255QV
When your equipment reaches the end of its service life you should return it to Parweld where it will be reconditioned or processed for recycling.
Statement of warranty
Limited Warranty:
Parweld Ltd, hereafter, “Parweld” warrants its customers that its products will be free of defects in workmanship or material. Should any failure to conform to this warranty appear within the time period applicable to the Parweld products as stated below, Parweld shall, upon notification thereof and substantiation that the product has been stored, installed, operated, and maintained in accordance with Parweld’s specifications, instructions, recommendations and recognized standard industry practice, and not subject to misuse, repair, neglect, alteration, or accident, correct such defects by suitable repair or replacement, at Parweld’s sole option, of any components or parts of the product determined by Parweld to be defective.
Parweld makes no other warranty, express or implied. This warranty is exclusive and in lieu of all others, including, but not limited to any warranty of merchantability or fitness for any particular purpose.
Limitation of Liability:
Parweld shall not under any circumstances be liable for special, indirect or consequential damages, such as, but not limited to, lost profits and business interruption. The remedies of the purchaser set forth herein are exclusive and the liability of Parweld with respect to any contract, or anything done in connection therewith such as the performance or breach thereof, or from the manufacture, sale, delivery, resale, or use of any goods covered by or furnished by Parweld whether arising out of contract, negligence, strict tort, or under any warranty, or otherwise, shall not, except as expressly provided herein, exceed the price of the goods upon which such liability is based. No employee, agent, or representative of Parweld is authorized to change this warranty in any way or grant any other warranty.
Purchaser’s rights under this warranty are void if replacement parts or accessories are used which in Parweld’s sole judgement may impair the safety or performance of any Parweld product.
Purchaser’s rights under this warranty are void if the product is sold to purchaser by non-authorized persons.
Parweld Limited Bewdley Business Park Long Bank
Bewdley Worcestershire England
DY12 2TZ
tel. +44 1299 266800
www.parweld.co.uk
[email protected]














