TS-WS1 Electric Garden Shredder 2800W Osisi Shredder
User Manual
Machine Overview

| 1. Feeding funnel | 2. Knob for setting blade |
| 3. Support | 4. Grass Box |
| 5. Support frame | 6. Wheel |
| 7. Interlock switch pusher | 8. Reset button/overload protector |
| 9. On/Off switch | 10. Rotational direction switch |
| 11. Appliance inlet |
Safety instructions
Warning! Please read first.
Warning! Please read and follow the safety instructions carefully.
Warning! If the supply cord is damaged, it must be replaced by the manufacturer, its service agent or similarly qualified persons in order to avoid a hazard.
- Become familiar with the owner’s manual before attempting to operate this equipment.
- The shredders are only suitable for household use.
- Only shred branches, twigs, and woods of garden waste.
- The shredder must be assembled correctly before use.
Warning! This appliance must be earthed!
Warning! Use only three core extension cables with the earth wire connected.
- Only use extension cables that are approved for outdoor use and check that they are in good condition before use.
- Protect the cables from damage by heavy mechanical use, sharp edges, contact with moving parts and corrosive liquids, etc.
- Warning! Do not use an extension cable that shows signs of damage. Fit a completely new cable – do not undertake any permanent or temporary repairs. Has the cable been replaced by a qualified technician?
- Before inserting the plug in the main socket, make sure that the socket ratings are correct and correspond to those indicated on the rating label on the shredder.
- Never move the shredder by pulling at the cables.
- Always disconnect the machine from the main supply before transporting it to other places.
- Always switch off the shredder before disconnecting any plug and socket connector or extension cables.
- Never leave the shredder unattended while it is switched on.
- Before leaving the shredder, switch off the motor and disconnect the plug. Do likewise in the event of a power failure.
- Keep children and pets away. All onlookers should be kept a safe distance away from the shredder when it Is In use.
- Do not allow children or any person who has not read this instruction leaflet or who is not familiar with the shredder to operate it.
- The operator is responsible for third parties while working with the shredder.
- Only use the shredder for Its designed purposes.
Caution! There are rotating blades on this machine.
Caution! Blades do not stop immediately after switching off.
- Always switch off the shredder, disconnect the plug and wait until the cutting disc stops before carrying out maintenance or cleaning work.
- Use caution when cleaning or performing maintenance on the shredder. DANGER! Watch your fingers! Wear gloves!
- It is forbidden to move or modify any of the electrical and mechanical safety devices.
- The shredder has to stand on level and solid ground during operation.
- Do not tilt the machine while the power source in running.
- Do not operate the machine on a paved or gravel surface where ejected material could cause injury;
- Use only in daylight or good artificial light.
- Wear ear protection and safety glasses at all times while operating the machine.
- Avoid wearing clothing that is loose-fitting or that has hanging cords or ties
- We recommend the use of ear muffs.
- Caution! The hopper must be fitted and tightened completely before use.
- Do not put your hands into the feed funnel and ejection slot.
- During operation ensure that no foreign objects (such as stones, glass, metal, earth, or plastics) are fed into the shredder; these foreign objects could cause blunting of the blades and seriously damage the motor. Do not use your shredder for purposes other than for Its intended use.
- If the shredder starts to vibrate abnormally, switch off the motor and check for the cause Vibration is generally a warning of trouble.
- Allow the machine to cool before making any inspections, adjustments, storing, etc..
- Ensure blades are secure before shredding. Do not operate the shredder if any of the blades are not properly mounted.
- The shredder should be checked carefully before use. You should only work with a shredder that is in good condition. Check that all screws, nuts, bolts, and other fasteners are properly secured and that guards and screens are placed. If you notice any defect on the machine that may cause danger to the operator, do not operate the shredder until defects are rectified.
- Make sure the shredder is in a flat place before starting the machine. Do not tilt the shredder when switching on or using.
- If the cutting mechanism strikes any foreign objects or if the machine should start making any unusual noise or vibration, shut off the power source and allow the machine to stop, take the following steps: inspect for damage; check for the tighten any loose parts;
- Replace worn or damaged parts for safety. Use only original spare parts. You can get the parts from the manufacturer or TOPSHAK-service center, for detailed connecting information, see the last page. Parts not produced by the manufacturer may cause poor fit and possible injury.
- Use the shredder only in places where it is protected from water and never use it outdoors in rainy weather.
- Store in a dry secure place out of reach of children.
- Before starting the machine, look into the feeding chamber to make certain that it is empty;
- Keep your face and body away from the feed intake opening;
- Do not allow hands or any other part of the body or clothing inside the feeding chamber, discharge chute, or near any moving part;
- Keep proper balance and footing at all times. Do not overreach. Never stand at a higher level than the base of the machine when feeding material into it;
- Always stand clear of the discharge zone when operating this machine;
- When feeding material into the machine be extremely careful that pieces of metal, rocks, bottles, cans or other foreign objects are not included;
- Do not allow processed material to build up in the discharge zone; this may prevent proper discharge and can result in kickback of material through the feed intake opening;
- If the machine becomes clogged, shut off the power source and disconnect the electric unit disconnect from the supply before clearing debris.
- Keep all guards and deflectors in place and in good working condition;
- When servicing the cutting means be aware that, even though the power source will not start due to the interlock feature of the guard, the cutting means can still be moved by a manual starting mechanism.
- If the electric cable became damaged during use, the following instructions must be fulfilled:
A: Stop the motor
B: Disconnect the cable from the power socket. - B: Disconnect the cable from the power socket.
- If an extension cord is used it shall not be of a lighter grade than the supply cord already fitted to the appliance.
- Not touch a damaged cord before It is disconnected from the supply. A damaged card can lead to contact with live parts.
- Not to touch the shredding means before the machine is disconnected from the supply and the shredding means have come to a complete stop.
A recommendation is that appliances should be supplied via a residual current device (RCD) with a tripping current of not more than 30 mA. - This appliance is not intended for use by persons with reduced physical, sensory or mental capabilities, or lack of experience and knowledge unless they have been given supervi slon or instruction concerning the use of the appliance by a person responsible for their safety.
- Children should be supervised to ensure that they do not play with the appliance.
Assembling
- Open the package and remove the machine from the package;
- Pull out the grass box and take out the main part of the machine and accessories;
- Mount the wheel and the support foot;

1. Cover of wheel 5. Bushing 2. Bolt 6. Wheel 3. Support foot 7. Nut 4. Gasket 
8. Screw 10. Support 9. Washer 11. cover of the support foot - Put the main part of the machine on the undercarriage, put the support on it, and fixed it using 6 ST4.2X16 screws.

Operating Instruction
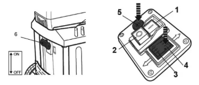
Interlock switch pusher
- After pushing the grass box, make sure the interlock switch pusher is in the “on” position.
- Before pulling out the grass box, make sure the interlock switch pusher is in the “offer position.
- The instruction for using the interlock switch pusher: (Dress the red button (2push or pull the pole of the interlock switch pusher towards down or up, so make the switch on or off. 6-Interlock switch pusher.

| 1. Start button | 4. Reverse button |
| 2. Stop button | 5. Reset button(over load protector) |
| 3. Running button | |
Control panel
- Green button”1-start the shredder
- Red button”0–stop the shredder
Note: the machine is equipped with a safety switch to prevent it from being switched on again accidentally after a power failure.
Reverse switch
- Button1″↓”-anticlockwise
When the machine is running, press the button”4” to make it run in the reverse position, pulling out the branch. - Button”↑”-clockwise
- When the machine reverses, press the button”3’to make it run, then cut the branch.
Overload protector
The motor is equipped with a safety switch and switches off automatically when overloaded (e.g. blocking up of the cutting blades). After a cooling-down break (approx. 5 min), the motor may be restarted. Press the
- Reset button(overload protector)
- Green button “1 to restart
Instruction for using the shredder:
- Press ON, machine run.
- The reverse switch is effective when the machine is in a good condition as the machine is in the normal state. Then press the clockwise button to make it run in the clockwise position, and press the anticlockwise button to make it run in the opposite position.
- Pull out the grass box when the machine running, and the machine will stop.
- In the “3condition, push into the grass box, the machine will not run unless pressing the “on” button.
- AS the machine is running, suddenly turn off the power line, and the machine stops, quickly turn on the power again, it will not run unless pressing the “on” button.
- No matter In what condition, Just press the “off button to stop the machine, then the manual running and reverse switch are not effective.
Always wait until the shredder has come to a complete standstill before restarting it.
![]() | ![]() |
Shredder start-up:
- Put the grass box in place (7)
- Press the key of the interlock switch(6);
- Connect the power(8);
- Press the green button “1 to switch on the shredder.
- Put the materials
- Press the red button “0” to switch it off.
When the grass box is full :
- Press the red button “0” to switch it off;
- Pull out the key of the interlock switch (6);
- Pull out the grass box (7).

Tips
- Large objects or woody pieces should be removed after several operations in both cutting and releasing directions.
- Use a pusher or clearing hook to remove blocked objects from the feeding funnel and ejection slot.
Caution! Always wait for the shredder to be idle before switching it LL on again.
- Longer material standing out from the shredder could lash out when being pulled in by the cutting blade. Please keep at a safe distance!
- The machine has the function that if it is blocked, it runs in the reverse position automati call then pulls out the branch.
- Look into the grass box to check whether full or not, and clear it in time for a period time of cutting.
- Please control the quantity of the material so as to prevent blockage of the feeding funnel
- Chop garden waste that has been stored for some days and is wilted and damp alternately with branches
- Do not 1111 soft waste such as kitchen rubbish Into the shredder but compost them.
- Widely branched material with leaves must be completely chopped before feeding
- When tearing branches with sheets please supply other material after finishing tearing the branches
- Make sure that the broad branches with sheet sare already completely tom before new supply
- The ventilation slots must not be covered by the waste bag or the chopped material.
Adjust baffle 
The optimal distance between the baffle 2 and the cutting blade D is 0-0.50mm. In order to achieve effective operation, this distance should be maintained. There is an adjustment device (hex key) 3) on the left side of the machine. When you get the machine, you need to turn the adjustment device clockwise to the end, and then loosen it half a turn counter clockwise. This Is the best adjustment method. (Counterclockwise increases the distance, and clockwise decreases the distance.)
Tips
- Heavy material or branches result in blocking of the cutting blades during continuous cutting.
- Soft materials, such as leaves or stems may block the feeding opening. Feed the soft material using the supplied push bar.
- Always feed the material to be chopped from the right comer of the feeding funnel.
- Check the material to be chopped carefully. Make sure there is no contact with stones or nails as these could damage the shredder seriously.
Caution marking

- Carefully read the operator’s manual before handling the machine. Observe instructions and safety rules when operating.
- Wear eye and ear protection.
- Pull the power cords off the socket whenever you leave the machine.
- Protect against moisture.
- Shut off the engine and remove the power cord before performing cleaning, maintenance, or repair work.
- Danger objects may be thrown out at high speed when the motor is running. Keep people, pets, and domestic animals out of the danger area.
- Danger -rotating blades. Keep hands and feet out of openings while the machine is running.
Maintenance
Troubleshooting
Branches are not cut off
- Tum the adjustment buttons half a round clockwise, and adjust the spacing between the cutting blade and the baffle.
The motor cannot start - Check the supply cord, connector plugs and the interlocks whether they are in normal conditions or not
- See 4.4. The cutting blade run in the reverse position
- Adjust the running direction of the cutting blade.
The feed funnel blocked - Pull out the trees from the feeding funnel, use a bar for pushing materials or wider trees to insert
Maintenance
- Take care of your machine and clean it regularly to obtain long-lasting efficiency and performance.
- Keep the air vents clean and free from dust.
- Never wet or spray water on the machine.
- Do not use detergents or solvents as these could cause irreparable damage to your machine. Chemicals can destroy plastic parts.
- The tightness of the fastening screws of the undercarriage should be checked from time to time.
- To protect the shredder from corrosion when storing for a longer period, treet the cutting blade with harmless oil to the environment.
Technical data
| Type | TS-WS1 |
| Main voltage! frequency: | 230V – 50 Hz |
| Rated power on Operating model: | S1:2000 W |
| Rated power2 on Operating mode2 : | S6(40%): 2800 W |
| No-load speed: | 40 RPM |
| Branch diameter: | max. 45 mm |
| Weight: | 27kg |
| Guaranteed sound power level: | 90dB(A) |
| Measured sound power level: | 88.53dB(A) / K=0.99 dB(A) |
| Protection: | IP24 |
The S 6 operation mode (40%) indicates a load profile of 4 min load and 6 min idle time.
The max. diameter of the branch depends on the hardness of the wood.
Maintain
Caution! Always wait for the shredder to be idle before switching it on again.
Accessories

| SCHEUFER Technologies GmbH Address: Hertleinstrasse 37, 91052, Erlangen, Germany E-mail: [email protected] | |
| VISHTEC UK Co.Ltd Address: Unit G25 Waterfront Studios, 1DockRoad, London, E16 1 AH E-mail: [email protected] |





















