cooking collection
Instructions for use and warranty details
http://www.kleenmaidwarranty.com.au/
Induction Cooktop
Model No.: ICT6020
ICT6020 Induction Cooktop
Dear Customer,
Thank you and congratulations for choosing Kleenmaid.
Your new appliance has been designed and meticulously tested to ensure that it meets all your culinary requirements, and has been carefully manufactured using top quality materials to give you years of reliable performance.
For best results, carefully read the instructions on how your new appliance is to be installed. Correct installation will avoid delays and unnecessary service call costs.
Once installation is complete, please read this instruction manual carefully and get to know the controls and the features of your new Kleenmaid appliance. These simple instructions will enable you to achieve excellent results from the very first time you use it.
Again, congratulations and thank you for choosing The Best You Can Own.
KLEENMAID
Safety Warnings
Your safety is important to us. Please read this information before using your cooktop.
Installation: Electrical Shock Hazard
- Disconnect the appliance from the mains electricity supply before carrying out any work or maintenance on it.
- Connection to a good earth wiring system is essential and mandatory.
- Alterations to the domestic wiring system must be only made by a qualified electrician.
- Failure to follow this advice may result in electrical shock or death.
Cut Hazard
- Take care – panel edges are sharp.
- Failure to use caution could result in cuts or other injury.
Important safety instructions
- Read these instructions carefully before installing or using this appliance.
- No combustible material or products should be placed on this appliance at any time.
- Please make this information available to the person responsible for installing the appliance as it could reduce your installation costs.
- In order to avoid a hazard, this appliance must be installed according to these instructions for installation.
- This appliance is to be properly installed and earthed only by a suitably qualified person.
- This appliance should be connected to a circuit which incorporates an isolating switch providing full disconnection from the power supply in accordance with the wiring rules.
- Failure to install the appliance correctly could invalidate any warranty or liability claims.
Operation and Maintenance:
Electrical Shock Hazard
- Do not cook on a broken or cracked cooktop. If the cooktop surface should break or crack, switch the appliance off immediately at the mains power supply (wall switch) and contact a qualified technician.
- Switch the cooktop off at the wall before cleaning or maintenance.
- Failure to follow this advice may result in electrical shock or death.
Health Hazard
- This appliance complies with electromagnetic safety standards.
Hot Surface Hazard
- During use, accessible parts of this appliance will become hot enough to cause burns.
- Do not let your body, clothing or any item other than suitable cookware contact the glass until the surface is cool.
- Metallic objects such as knives, forks, spoons and lids should not be placed on the cooktop surface since they can get hot.
- Keep children away from the cooktop when in use.
- Handles of saucepans may be hot to touch. Check that saucepan handles do not overhang other active cooking zones. Keep handles out of reach of children.
- Failure to follow this advice could result in burns and scads.
Cut Hazard
- The razor-sharp blade of a cooktop scraper is exposed when the safety cover is retracted. Use with extreme care and always store safely and out of reach of children.
- Failure to use caution could result in cuts or other injury.
Important Safety Instructions
- Never leave the appliance unattended when in use. Boil over causes smoking and greasy spills that may ignite.
- Never use your appliance as a work or storage surface.
- Never leave any objects or utensils on the appliance.
- Never use your appliance for warming or heating the room.
- After use, always turn off the cooking zones and the cooktop as described in this manual (i.e. by using the touch controls).
- Do not allow children to play with the appliance or sit, stand, or climb on it.
- Do not store items of interest to children in cabinets above the appliance.
Children climbing on the cooktop could be seriously injured. - Do not leave children alone or unattended in the area where the appliance is in use.
- Do not repair or replace any part of the appliance unless specifically recommended in the manual. Ail other servicing should be done by a qualified technician.
- Do not use a steam cleaner to clean your cooktop.
- Do not place or drop heavy objects on your cooktop.
- Do not stand on your cooktop.
- Donot use pans with jagged edges or drag pans across the glass surface as this can scratch the glass.
- Do not use scourers or any other harsh abrasive cleaning agents to clean your cooktop, as these can scratch the glass.
- If the supply cord is damaged, it must be replaced by the manufacturer, its service agent or similarly qualified persons in order to avoid a hazard.
- This appliance is intended to be used in household and similar applications such as:
- staff kitchen areas in shops, offices and other working environments; farm houses;
- by clients in hotels, motels and other residential type environments; o bed and breakfast type environments.
- WARNING: The appliance and its accessible parts become hot during use. Care should be taken to avoid touching heating elements.
- Children shall be kept away unless continuously supervised.
- This appliance is not intended for use by persons (including children) with reduced physical, sensory or mental capabilities, or lack of experience and knowledge, unless they have been given supervision or instruction concerning use of the appliance by a person responsible for their safety.
- Children should be supervised to ensure that they do not play with the appliance.
- Cleaning and user maintenance shale not be made by children without supervision.
- WARNING: Unattended cooking on a cooktop with fat or oil can be dangerous and may result in fire. NEVER try to extinguish a fire with water, but switch off the appliance and then cover the fame e.g. with a lid or a fire blanket.
- WARNING: Danger of fire: do not store items on the cooking surfaces.
- WARNING: For cooktop surfaces of glass-ceramic or similar material which protect live parts, if the surface is cracked, switch off the appliance to avoid the possibility of electric shock.
- A steam cleaner is not to be used.
- The appliance is not intended to be operated by means of an external timer or separate remote-control system.
- CAUTION: The cooking process has to be supervised. A short term cooking process has to be supervised continuously.
Warning: Do not use hob or cooktop guards of any type. The use of inappropriate guards can cause accidents.
Please read this User Manual in order to fully understand how to install and operate your cooktop correctly. For installation, please read the installation section. Read all the safety instructions carefully before use, and keep this User Manual for future reference. The latest version of this manual is available on our website. (See back cover for details.)
NOTE: This appliance incorporates an earth connection for functional purposes only.
Product Overview
Top View

- 2000/2600 W zone
- 1500/1800 W zone
- 2000/2600 W zone
- 1500/1800 W zone
- Glass plate
- Control Panel
Control Panel

- Cooking Zone Selection Keys
- Timer Function Key
- Power/Timer Regulating Keys
- Child Lock Key
- ON/OFF Key
- Boost Function Key
Introduction to Induction Cooking
Induction cooking is a safe, advanced, efficient, and economical cooking technology. It works by electromagnetic vibrations generating heat directly in the pan, rather than indirectly through heating the glass surface. The glass becomes hot only because the pan eventually warms it up.

Iron pot
Magnetic circuit
Ceramic glasspiate
Induction coil
Induced currents
Choosing the right Cookware

You need to choose the right cookware for an induction cooktop, using only cookware with a base suitable for induction cooking.
Look for the induction symbol on the packaging or on the bottom of the pan. You can check whether your cookware is suitable by carrying out the magnet test.
Move a magnet towards the base of the pan. If it is attracted, the pan is suitable for induction. If you do not have a magnet, put some water in the pan you want to check, and then if Y does not flash in the display and the water is heating, the pan is suitable.
Cookware made from the following materials is not suitable: pure stainless steel, aluminum or copper without a magnetic base, glass, wood, porcelain, ceramic, and earthenware.
Do not use cookware with jagged edges or a curved base.

Make sure that the base of your pan is smooth, sits fiat against the glass, and is the same size as the cooking zone. Always centre your pan on the cooking zone.

Always lift pans off the cooktop- do not slide, or they may scratch the glass.
For maximum efficiency the pot should be the same size as the cooking zone, with the pan centered on the cooking zone. Pots with a diameter larger than the cooking zone should not be used.
Whilst there is no maximum weight limit specified for each cooking zone, if the pot used is the same diameter as the cooking zone then a full pot may be used safely. Should it be necessary to use a smaller pot, the table below shows the minimum allowable pot dimensions for each cooking zone:
| Cooking Zone | Cooking zone size | Minimum Pot Size |
| Zone 1 /3 | 210 mm | 140 mm |
| Zone 2 /4 | 160 mm | 100 mm |
THE USE OF EITHER POOR QUALITY POT OR ANY INDUCTION ADAPTOR PLATE FOR NON-MAGNETIC COOKWARE RESULTS IN A WARRANTY BREACH.
IN THIS CASE, THE MANUFACTURER CANNOT BE HELD RESPONSIBLE FOR ANY DAMAGE CAUSED TO THE HOB AND/OR ITS ENVIRONMENT.
Before using your New Cooktop
- When unpacking the cooktop please ensure that all contents of the carton are removed prior to disposing of the packaging. These articles should be retained for the installer.
Contents include:
– 1 x Induction Cooktop
– 1 x User Manual
– 4 x Brackets
– 4 x Screws
– 1 x Foam seal - Read this guide, taking special note of the ‘Safety Warnings’ section.
- Remove any protective film that may still be on your cooktop.
- Do not use cookware with jagged edges or a curved base.
Using the Touch Controls
- The controls respond to touch, so you don’t need to apply any pressure.
- Use the ball of your finger, not its tip.
- You will hear a beep each time a touch is registered.
- Make sure the controls are always clean, dry, and that there is no object (e.g. a utensil or a cloth) covering them. Even a thin film of water may make the controls difficult to operate.

Using your Cooktop
To start cooking
- After power on, a single beep sounds, all indicators on the display light up for 1 second then go out, indicating that the induction cooktop has entered the state of standby mode.
- Touch the ON/OFF key. All displays will show “ – “ or“ – -™.

- Place a suitable pan on the selected cooking zone. Make sure the bottom of the pan and the surface of the cooking zone are clean and dry.

- Touch the cooking zone selection key and the indicator on the display next to the key will flash.

- Select a heat setting by touching the
“or
control.
If you don’t choose a heat setting within 1 minute, the cooktop will automatically switch off. You will need to start again at step 1.
You can modify the heat setting at any time during cooking.
* Adjust heat up or down by holding down the
“or”
” key.
If the display flashes
alternately with the heat setting it means that either
- you have not placed a pan on the correct cooking zone or,
- the pan you’re using is not suitable for induction cooking or,
- the pan is too small or not properly centred on the cooking zone.
No heating takes place unless there is a suitable pan on the cooking zone.
The display will automatically turn off after 1 minute if no suitable pan is placed on it.
When you have finished cooking
- Touch the selection key of the cooking zone you intend to switch off.

- Turn the cooking zone off by touching the
and
‘keys at the same time. The display then shows “H” (Residual Heat Indicator).
- Turn the whole cooktop off by touching the “ON/OFF” key.

- Beware of hot surfaces
“H” (Residual Heat Indicator) will appear in the display to indicate which cooking zone is hot to touch. It will disappear when the surface has cooled to a safe temperature. It can also be used as an energy saving function by using the zone that is still hot to heat other pans.
- The sound of the cooling fan is normal. It operates for a pre-set period after cooking is finished, to ensure longer life for the appliance.
Using the Boost Function
The Boost function is a function that maximizes power too selected cooking zone. When activated the function lasts for S minutes and provides more powerful, faster cooking eg to heat a large pot water to cook rice or pasta.
Using Boost to apply more power
- Touch the heating zone selection key that you intend to boost, an indicator next to the key will flash on the display.

- Touch the boost function key and the cooking zone will begin to work in boost mode. The power display will show “P” to indicate that the zone is in boost mode.

- Boost power will last for 5 minutes and then the zone will go back to the power level which was set before boost.

- If you want to cancel the boost function during the 5 minute operating time touch the cooking zone selection key, and an indicator next to the key will flash. Then touch the boost key and the cooking zone will go back to the power level which was set before boost.

Safety Features
Locking the Controls
- You can lock the controls to prevent unintended use (for example children accidentally turning the cooking zones on).
- When the controls are locked, all the controls except the ON/OFF control are disabled.
To lock the controls
Touch the child lock key. The timer display will show “Lo”.
To unlock the controls
- Make sure the cooktop is turned on.
- Touch and hold the child lock key until you hear a beep.
- You can now start using your cooktop.
When the cooktop is in the lock mode, all the controls are disabled except the ON/OFF control. You can always turn the cooktop off with the ON/OFF control in an emergency, but you should unlock the cooktop first before the next use.
Over-Temperature Protection
An inbuilt temperature sensor monitors the temperature inside the cooktop.
When an excessive temperature is detected, the cooktop will stop operation automatically.
Spill Protection
The cooktop will beep and shut down after a certain quantity of liquid overflows onto the controls. Should this occur, turn off the power, follow the usual precautions for cleaning up hot liquids and ensure the cooktop is dry before recommencing cooking. (See Care and Cleaning page 19)
Detection of Small Articles
When an unsuitable size or non-magnetic pan (e.g. aluminum), or some other small item (e.g. knife, fork, key) has been left on the induction cooktop, the induction cooktop automatically goes on to standby in 1 minute. The cooling fan will operate for a further 1 minute.
Residual Heat Warning
When the cooktop has been operating for some time there will be residual heat.
The letter “ H ” (Residual Heat Indicator) appears on the display as a warning against possible injury from hot surfaces. It will disappear when the surface has cooled to a safe temperature.
Auto Shutdown Protection
Auto shut down is a safety protection function for your induction cooktop. It shuts down automatically if you forget to turn off power to a cooking zone. The default shutdown times are shown in the table below:
| Power level | 1 | 2 | 3 | 4 | 5 | 6 | 7 | 8 | 9 |
| Default working timer (hour) | 8 | 8 | 8 | 4 | 4 | 4 | 2 | 2 | 2 |
Using the Timer
You can use the timer in two different ways:
- You can use it as a minute minder. In this case, the timer will not turn any cooking zone off when the set time expires.
- You can set it to turn one or more cooking zones off after the set time expires.
Note: The timer can be set for up to 99 minutes.
Using the Timer as a Minute Minder
If you are not selecting any cooking zone
- Make sure the cooktop is turned on.
Note: you can use the minute minder even if you’re not selecting any cooking zones. - Touch the timer function key and the timer indicator will show “–”.

- Adjust the timer setting by touching the “
“or”
“keys. The timer display will start flashing.
Hint:
Touch the “
“or
“key once to decrease or increase the time by 1 minute.
Touch and hold the “
“or”
‘key to decrease or increase the time by 10 minutes.
If the setting time exceeds 99 minutes, the timer will automatically return to minutes. - To cancel the timer, touch the timer function key and “00” will show in the display.

- When the time is set, it will begin to count down immediately. The display will show the remaining time and the timer display will flash for S seconds.

- When the set time expires a buzzer will sound for 30 seconds and the timer display will show “- -”.
NOTE: The cooktop will continue to cook. This timer function is a minute minder only. It does not turn the cooktop ON or OFF.
Setting the timer to turn off one cooking zone
- Touch the cooking zone selection key of the zone for which you want to set the timer (e.g. zone 3).

- Touch the timer function key and the timer display will start flashing and show “30”.

- Set the time by touching the “
or“
“ timer regulating keys.
Hint:
Touching the “
or”
timer regulating key once to decrease or increase the time by 1 minute.
Touch and hold the”
or“
timer regulating key to decrease or increase the time by 10 minutes.
If the setting time exceeds 99 minutes, the timer will automatically return to 0 minutes. - To cancel the timer, touch the cooking zone selection key and then touch the timer function key. The timer is cancelled, and “00” will show in the timer display.

- When the time is set, it will begin to count down immediately. The display will show the remaining time and flash for 5 seconds.
NOTE: The red dot next to power level display will illuminate indicating that zone is selected.
- When the cooking time expires, the corresponding cooking zone will automatically switch off and “H” will show in the display until the zone has cooled to a safe temperature.
Note: Other cooking zones turned on previously will keep operating.
Setting the timer to turn off more than one cooking zone
- If the function is used for more than one cooking zone, the display will show the shortest time (e.g. Zone 2 has a set time of 3 minutes and zone 3 has a set time of 6 minutes so the timer display shows “3”.)
NOTE: A flashing red dot next to a power level display means the timer display is showing the remaining set time for that cooking zone. If you want to check the remaining set time of the other cooking zone, touch the cooking zone selection key for that zone. The timer will indicate its set time.
- When the cooking time expires, the corresponding cooking zone will switch off automatically and “H” will show in the display until the zone has cooled to a safe temperature.
NOTE: If you want to change the time after the timer is set, you have to start from step 1.
Cooking Guidelines
Take care when frying as the oil and fat heat up very quickly, particularly if you’re using the Boost function of the induction cooktop.
At extremely high temperatures, oil and fat will ignite spontaneously and this presents a serious fire risk.
Cooking Tips
- When food comes to the boil, reduce the power setting.
- Using a lid will reduce cooking times and save energy by retaining the heat.
- Minimize the amount of liquid or fat to reduce cooking times.
- Start cooking on a high setting and reduce the setting when the food has heated through.
Simmering, cooking rice
- Simmering occurs below boiling point, at around 85°C, when bubbles are just rising occasionally to the surface of the cooking liquid. It is the key to delicious soups and tender stews because the flavors develop without overcooking the food. You should also cook egg-based and flour-thickened sauces below boiling point.
- Some tasks, including cooking rice by the absorption method, may require a setting higher than the lowest setting to ensure the food is cooked properly in the time recommended.
Searing steak
To cook juicy flavorsome steaks:
- Stand the meat at room temperature for about 20 minutes before cooking.
- Heat up a heavy-based frying pan.
- Brush both sides of the steak with oil. Drizzle a small amount of oil into the hot pan and then lower the meat onto the hot pan.
- Tum the steak only once during cooking. The exact cooking time will depend on the thickness of the steak and the doneness you prefer. Times may vary from about 2 – 8 minutes per side. Press the steak to gauge how cooked it is – the firmer it feels the more ‘well done’ it will be.
- Leave the steak to rest on a warm plate for a few minutes to allow it to relax and become tender before serving.
For stir-frying
- Choose an induction compatible flat-based wok or a large frying pan.
- Have all the ingredients and equipment ready. Stir-frying should be quick.
If cooking large quantities, cook the food in several smaller batches. - Preheat the pan briefly and add two tablespoons of oil.
- Cook any meat first, put it aside and keep warm.
- Stir-fry the vegetables. When they are hot but still crisp, turn the cooking zone to a lower setting, return the meat to the pan and add your sauce.
- Stir the ingredients gently to make sure they are heated through.
- Serve immediately.
Heat Settings
| Heat setting | Suitability |
| 1-2 | •delicate warming for small amounts of food •melting chocolate, butter, and foods that burn quickly •gentle simmering •slow warming |
| 3-4 | •reheating •rapid simmering •cooking rice |
| 5-6 | •pancakes |
| 7-8 | •sautéing •cooking pasta |
| 9 | •stir-frying •searing •bringing soup to the boil •boiling water |
Care and Cleaning
| What? | How? | Important! |
| Everyday soiling on glass (fingerprints, marks, stains left by food or non-sugary spillovers on the glass) | 1.Switch the power to the cooktop off. 2.Apply a cooktop cleaner while the glass is still warm (but not hot!) 3.Rinse and wipe dry with a clean cloth or paper towel. 4.Switch the power to the cooktop back on. | •When the power to the cooktop is switched off, there will be no ‘hot surface’ indication but the cooking zone may still be hot! Take extreme care. •Heavy-duty scourers, some nylon scourers and harsh/abrasive cleaning agents may scratch the glass. Always read the label to check if your cleaner or scourer is suitable. •Never leave cleaning residue on the cooktop: the glass may become stained. |
| Boilovers, melts, and hot sugary spills on the glass | Remove these immediately with a fish slice, palette knife or razor blade scraper suitable for ceramic glass cooktops, but beware of hot cooking zone surfaces: 1.Switch the power to the cooktop off at the wall. 2.Hold the blade or utensil at a 30° angle and scrape the soiling or spill to a cool area of the cooktop. 3.Clean the soiling or spill up with a dish cloth or paper towel. 4.Follow steps 2 to 4 for “Everyday soiling on glass.” | •Remove stains left by melts and sugary food or spillovers as soon as possible. If left to cool on the glass, they may be difficult to remove or even permanently damage the glass surface. •Cut hazard: when the safety cover is retracted, the blade in a scraper is razor-sharp. Use with extreme care and always store safely and out of reach of children. |
| Spillovers on the touch controls | 1.Switch the power to the cooktop off. 2.Soak up the spill 3.Wipe the touch control area with a clean damp sponge or cloth. 4.Wipe the area completely dry with a paper towel. 5.Switch the power to the cooktop back on. | •The cooktop may beep and turn itself off, and the touch controls may not function while there is liquid on them. Make sure you wipe the touch control area dry before turning the cooktop back on. |
DISPOSAL: Do not dispose of thisproduct as unsorted municipal waste. Collection of such waste separately for special treatment is necessary. | This appliance is labeled in compliance with European directive 2012/96/EU for Waste Electrical and Electronic Equipment (WEEE). By ensuring that this appliance is disposed of correctly, you will help prevent any possible damage to the environment and to human health, which might otherwise be caused if it were disposed of in the wrong way. The symbol on the product indicates that it may not be treated as normal household waste. It should be taken to a collection point for the recycling of electrical and electronic goods. This appliance requires specialist waste disposal. For further information regarding the treatment, recover and recycling of this product please contact your local council, your household waste disposal service, or the shop where you purchased it. |
Hints and Tips
| Problem | Possible causes | What to do |
| The cooktop cannot be turned on. | No power. | Make sure the cooktop is connected to the power supply and that it is switched on. Check whether there is a power outage in your home or area. If you’ve checked everything and the problem persists, call a qualified technician. |
| The touch controls are unresponsive. | The controls are locked. | Unlock the controls. See section “Locking the controls” on page 12 for instructions. |
| The touch controls are difficult to operate. | There may be a slight film of water over the controls or you may be using the tip of your finger when touching the controls. | Make sure the touch control area is dry and use the ball of your finger when touching the controls. |
| The glass is being scratched. | Rough-edged cookware. Unsuitable, abrasive scourer or cleaning products being used. | Use cookware with flat and smooth bases. See “An Introduction to Induction Cooking” on page 7 See “Care and cleaning” page 19. |
| Some pans make crackling or clicking noises. | This may be caused by the construction of your cookware (layers of different metals vibrating differently). | This is normal for cookware and does not indicate a fault. |
| The induction cooktop makes a low humming noise when used on a high heat setting. | This is caused by the technology of induction cooking. | This is normal, but the noise should quieten down or disappear completely when you decrease the heat setting. |
| Fan noise coming from the induction hob. | A cooling fan built into your induction cooktop switches on to prevent the electronics from overheating. It may continue to run even after you’ve turned the induction cooktop off. | This is normal and needs no action. Do not switch the power to the induction cooktop off at the wall while the fan is operating. |
| Pans do not become hot or appear in the display. | The induction cooktop cannot detect the pan because it is not suitable for induction cooking. The induction cooktop cannot detect the pan because it is too small for the cooking zone or not properly centered on it. | Use cookware suitable for induction cooking. See section “An Introduction to Induction Cooktops” on page 7. Centre the pan and make sure that its base matches the size of the cooking zone. |
| The induction cooktop or a cooking zone has turned itself off unexpectedly, a tone sounds and an error code is displayed (typically alternating with one or two digits in the cooking timer display). | Technical fault. | Please note down the error letters and numbers, switch the power to the induction cooktop off at the wall, and contact a qualified technician. |
Failure Display and Inspection
If an abnormality occurs, the induction cooktop will enter the protective state automatically and display corresponding protective codes:
| Problem | Possible causes | What to do |
| F3/F4 | Temperature sensor of the induction coil failure | Please contact a qualified technician. |
| F9/FA | Temperature sensor of the IGBT failure. | Please contact a qualified technician. |
| E1/E2 | Abnormal supply voltage | Please inspect whether power supply is normal. Power on after the power supply is normal. |
| E3 | High temperature of the induction coil temperature sensor | Please contact a qualified technician. |
| E5 | High temperature of the IGBT temperature sensor | Please restart after the cook top cools down. |
The above are the possible causes of and appropriate responses to common failures. Please do not disassemble the unit by yourself to avoid any danger and damage to the cooktop.
Note: If the appliance fails to operate correctly during the warranty period please visit our website to request a warranty service (see back cover of this manual for details). When booking a service please provide your Model No:
ICT6020 and the individual Serial Number of your appliance. This is found on the rating label on the underside of the cooktop or on your appliance paperwork.
Technical Specification
| Cooking Zones | 4 Zones |
| Supply Voltage | 220-240V-150-60Hz |
| Current Rating | 32A |
| Total Power | 6600-7400W |
| Product Size LxWxH (mm ) | 590*520*60 |
| Building-in Dimensions Ax (mm) | 560*490 |
Weight and Dimensions are approximate. Because we continually strive to improve our products we may change specifications and designs without prior notice.
Installation
NOTE: Before making preparations for or commencing installation, the installer should refer to the current online version of the User Manual, which is available on the Kleenmaid website (see back cover for details).
Selection of installation equipment
Cut out the work surface according to the sizes shown in the drawing.
For the purpose of installation and use, a minimum of 50mm space shall be preserved around the hole.
Be sure the thickness of the work surface is at least 30mm. Please select heat-resistant work surface material to avoid deformation caused by the heat radiation from the hotplate. As shown below:

Note: The seal is a factory supplied foam strip. See instructions to attach this to the cooktop on page 23.
| Model | L (mm) | W (mm) | H (mm) | D (mm) | A (mm) | B (mm) | X (mm) |
| ICT6020 | 590 | 520 | 60 | 56 | 560 | 490 | 50 min |
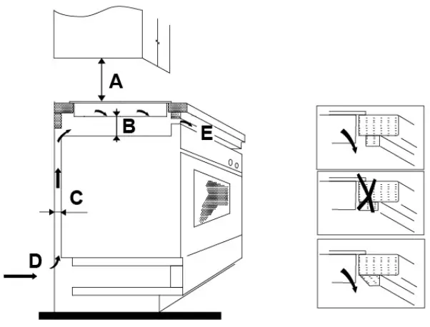
Under all circumstances, make sure the induction hob is well ventilated and the air inlet and outlet are not blocked. Ensure the induction hob is positioned correctly as shown on page 23.
Note: The safety gap between the hob and the cupboard above the hob should be at least 760mm if there is no rangehood, otherwise:
The safety gap between the hob and the rangehood placed above must comply with the recommendations of the rangehood manufacturer. In case of no instructions, a minimum distance of 650mm (or other minimum distance as may be specified by AS/NZS 5601 and interpreted by a certified installer) should apply.
| A(mm) | B(mm) | C(mm) | D | E |
| 760 | 45 min | 30 min | Air intake | Air exit 10 mm |

Attaching the seal to the cooktop
The seal should be attached to the cooktop by following the instructions below before the cooktop is installed into the benchtop cut out.
- The unit should be placed on a stable, smooth surface (eg. use the packaging as padding).
- Clean the cooktop in the area of the cut out section.
- Carefully remove the backing tape from the seal before applying to to the cooktop.
- Attach the seal along the outer edge of the glass plate. Do not stretch or extend it. The 2 ends should meet in the centre of one side.
- Cut off any excess foam strip ensuring the 2 ends push together without any gap.

Locating the fixing brackets
The unit should be placed on a stable, smooth surface (use the packaging as padding).
Fix the cooktop to the work surface by attaching the four brackets to the bottom of the cooktop after checking placement within the cut out (see picture below).

| A | B | C | D |
| Screw | Bracket | Screw hole | Base |
Adjust the bracket position to suit the thickness of the work surface.

Cautions
- The cooktop must be installed by qualified personnel or technicians. If necessary, please see the “Support” section on our website for suitably qualified installers. Unqualified persons should not attempt to install this appliance.
- The cooktop should not be mounted to cooling equipment, dishwashers or rotary dryers.
- The cooktop should be installed such that sufficient heat radiation can be ensured to enhance its reliability.
- The wall and induced heating zone above the work surface should be heat-resistant.
- To avoid any damage, the sandwich layer and adhesive must be resistant to heat.
- A steam cleaner is not to be used on this cooktop.
- This cooktop can be connected only to a supply with system impedance no more than 0.427 ohm. If necessary, please consult your power supply authority for system impedance information.
Connecting the cooktop to the mains power supply
The power supply should be connected in compliance with the relevant standard, or a single-pole circuit breaker. The method of connection is shown below.

- If the supply cord is damaged, it must be replaced by the manufacturer, its service agent or similarly qualified persons in order to avoid a hazard.
- If the appliance is being connected directly to the mains supply, an omni polar circuit breaker must be installed with a minimum gap of 3mm between the contacts.
- The installer must ensure that the correct electrical connection has been made and that it complies with safety regulations.
- The cable must not be bent or compressed.
- The cable must be checked regularly and only replaced by a properly qualified person.
WARNING: IT MUST BE ENSURED THAT THIS APPLIANCE IS CONNECTED ONLY TO A 230VAC +10%/-6% 50Hz MAINS POWER SUPPLY WHICH CONTINUOUSLY COMPLIES WITH THE RELEVANT AUSTRALIAN STANDARD. FAILURE TO DO SO MAY SERIOUSLY DAMAGE THE APPLIANCE AND ANY SUCH DAMAGE IS NOT COVERED BY THE MANUFACTURER’S WARRANTY.
KLEENMAID WARRANTY
TERMS AND CONDITIONS
- Compass Capital Services Pty Ltd ABN 96 138 214 525 trading as Kleenmaid will provide parts and labour to you the customer as set out herein.
- Kleenmaid may engage a Service Agent to provide service under this warranty.
- Kleenmaid Products come with guarantees that cannot be excluded under the Australian Consumer Law. You are entitled to a replacement or refund for a major failure and for compensation for any other reasonably foreseeable loss or damage.
You are also entitled to have the goods repaired or replaced if the goods fail to be of acceptable quality and the failure does not amount to a major failure. - The benefits given to you under this Kleenmaid Warranty are in addition to other rights and remedies to which you may be entitled under the Australian Consumer Law in relation to the Product to which this Kleenmaid Warranty relates. Subject to the conditions below, the Product is warranted by Kleenmaid and/or its agents to be free from defects in materials and workmanship for the Warranty Period for normal Domestic Use.
- Product Identification: –
a. Kleenmaid reserves the right to reject claims for any services or work where you cannot produce for verification the serial number and a proof of purchase for the Product (including but not limited to the original invoice).
b. this Kleenmaid Warranty will be voided if the serial number for the Product cannot be verified. This is not intended to exclude, restrict or modify any right or remedy to which you may otherwise be entitled under the consumer guarantee provisions of the Australian Consumer Law.
c. inthe event that a request for repair is made against this Kleenmaid Warranty where the serial number for the Product cannot be verified or you cannot produce for verification a proof of purchase for the Product (including but not limited to the original invoice), the repairer will not carry out any repairs on the Product and you will be charged a service call-out fee. - What is covered by this Kleenmaid Warranty: –
a. the Product is covered for faulty workmanship or parts that have failed under normal Domestic Use.
b. Kleenmaid and/or its agents will determine by objective testing if there are any defects in the Product and/or faulty workmanship.
c. this Kleenmaid Warranty is only applicable if repairs on Products are carried out within Mainland Australia.
d. this Kleenmaid Warranty:
i. covers a Product purchased as new, manufactured for use in Mainland Australia;
ii. commences from the date of delivery of the Product;
iii. provides for the labour and replacement parts necessary to maintain the Product in good operating condition as specified in this Kleenmaid Warranty, however, if repair is needed because of Product failure during normal Domestic Use, Kleenmaid has the option to repair or replace the defective Product or part of the Product with a product or part of like kind and quality. A replacement part may be new or reconditioned of like kind and quality and may cost less than the original Product purchased and no charges or refunds will be made based on the replacement product or part cost difference; and iv. is only applicable when the Product is used and operated in accordance with the Manufacturer’s instructions. - What is not Covered by this Kleenmaid Warranty (excluded):-
a. any damage or failure to or of the Product or part of the Product:
i. due to the Product being inadequately serviced to manufacturer’s recommendations;
ii. resulting from environmental conditions including and not limited to dirt, dust, rodents, insects, rust, corrosion, salt built-up, of or in any part of the Product;
iii. resulting from excessive use but fair wear and tear is excepted;
iv. resulting from installation by an unqualified or uncertified tradesperson;
v. resulting from poor or incorrect installation including and not limited to positioning and externally fitted equipment such as plumbing and drainage, cabling, antennae or due to incompatibility of connected equipment;
vi. caused by overheating as a result of sitting or positioning of the Product, where there is no provision for adequate ventilation or adequate protection from excessive dust;
vil. if the Product has been dismantled, repaired or serviced by any person other than someone authorised by Kleenmaid or its agents or representatives;
viii. caused by power surges or spikes, including and not limited to, mains power and telecommunications connections, or to other unspecified sources, incorrect power current, voltage fluctuation, amperage fluctuation, rust or corrosion;
ix. if the Product is dropped, collision of the Product with another object, use for which the Product is not designed, damage to the Product caused by your own negligence, accidental or deliberate misuse of the Product by you, theft, abuse, vandalism, flood, fire, earthquake, electrical storms or any other act of God or any war related events; or
x. due to the introduction of abnormal heat loads to the Product;
b. costs of attendance and testing where no fault or defect covered by the terms of this Kleenmaid Warranty is identified in the Product;
c. initial setup and installation of the Product;
d. normal maintenance costs and costs incurred through the installation of items listed as requiring periodic replacement;
e. Products with removed or altered serial numbers;
f. broken or cracked glass other than transport damage to the initial point of delivery:
g. consumables such as but not limited to bulbs/globes, seals, filters, batteries and remote controls;
h. removal and reinstallation of an internal component not performed by an authorised Kleenmaid agent or representative or authorised service centre;
I. cosmetic or structural items; or
j. any failures due to interference from or with other products and/or sources. - This Kleenmaid Warranty ceases if: –
a. the Product ceases to carry the original manufacturer’s serial number or is sold at an auction;
b. the Product is rented; or
c. there is failure to pay monies owing on invoices as a result of non-warranty work being carried out at the request of the end user as per point 16 below.
Service under this warranty may be limited by the area in which you live. Service to remote and regional areas may incur additional travel costs which will be payable by you. You will be advised of this at the time you make a claim and Kleenmaid arranges to attend your premises. - Neither Kleenmaid nor its representatives provide loan equipment under the terms of this Kleenmaid Warranty.
- Any unauthorised access to the internal hardware of the Product will void this Kleenmaid Warranty.
- Repair Notice: Products presented for repair may be replaced by refurbished Products of the same type rather than being repaired. Refurbished parts may be used to repair the Products.
- Replacement items are “like for like” and is not “new for old” and does not indicate in any way that a faulty Product will be teplaced with a new part or unit. “Like for like” may either be a quality checked, refurbished or reconditioned unit of the same or later batch of model/size/specifications
- The cost of making a claim under this Kleenmaid Warranty is not covered by Kleenmaid, including any costs of transportation or travel expenses between your home and your nearest authorised service agent.
- Kleenmaid accepts no liability for items that are lost, damaged, or stolen as a result of freight, transport or storage. If you are required to transport the Product to an authorised service centre, you must ensure that it is securely packed and insured.
- On Public Holidays or other periods when regular business and wholesale operations are temporarily ceased, repairer availability and warranty response times may extend beyond the standard response times due to the unavailability of repairers and parts.
- For any repair performed on a Product under this Kleenmaid Warranty where no fault can be found, or the item is deemed by Kleenmaid or an authorised agent, to be not faulty under this Kleenmaid Warranty, or the repair or fault is not covered under this Kleenmaid Warranty, a ‘No Fault Found’ fee is payable by you. Kleenmaid will advise you of this cost and seek your agreement to pay such costs before commencing such repairs.
- Any repairs or services required that are outside the terms and conditions of this Kleenmaid Warranty can be carried out at your request at your cost (including where the Product has not been installed or set up correctly). Kleenmaid will always advise you of this cost and seek your agreement to pay such costs before commencing such repairs. A credit card may be required prior to the commencement of such services.
- Extra charges will be payable by the customer should the Product not be readily accessible without special equipment, such as but not limited to cranes and lifts or should the Product be installed in a position that service aces is blocked and/or repair work is not possible without uninstalling the Product to gain access.
- You, the customer, may be entitled to purchase an extended warranty in respect of the Product. Any extended warranty will not be issued by Kleenmaid but by a third party. Any extended warranty services will be provided directly by the third party as principal and not as agent for Kleenmaid, under their extended warranty terms and conditions and not under this Kleenmaid Warranty.
- To make a claim under this Keenmaid Warranty, please have your proof of purchase and the serial number of the Product ready and call (02) 9310 1207 during business hours.
- This Kleenmaid Warranty is given by:
Name: Compass Capital Services Pty Ltd ABN 96 138 214 525 trading as Kleenmaid
Business address: Level 2, Suite 3, 204 Botany Rd, Alexandria NSW Australia 2015 Telephone: (02) 9310 1207 - Definitions:
a. Australian Consumer Law means the Competition and Consumer Act 2010 (CT).
b. Domestic Use means use of the Product for personal, domestic or household purposes.
c. Kleenmaid means Compass Capital Services Pty Ltd ABN 96 138 214 525 trading as Kleenmaid.
d. Mainland Australia means the following States and Territories of Australia: New South Wales, Victoria, South Australia,
Western Australia, Queensland, Tasmania, Northam Territory, Australian Capital Territory.
e. Product means the appliance sold by Kleenmaid to you as evidenced by the original purchase invoice.
f. Service Agent means any independent service agent engaged by Kleenmaid to carry out any repair or service under this warranty.
g. Warranty Period means for domestic use and for Products purchased on or after 1 January 2019 the period of 60
months, otherwise 36 months. For non-domestic use 12 months or such alternative period as may be specified.
UPDATE NOTICE: This Kleenmaid Warranty is current as at 1 December 2022 but is subject to variation from time to time. For the latest version of the Kleenmaid Warranty, please see our website https://kleenmaid.com.au/warranty/ or phone us on (02) 9310 1207.
This page is intentionally left blank.
Other products available in the Kleenmaid range of appliances
- Washing machines
- Clothes dryers
- Dishwashers
- Ovens
- Cooktops
- Steam ovens
- Microwave ovens
- Built in espresso coffee machines
- Rangehood
- Freestanding ovens
- Refrigerators & Freezers
- Beverage Serving Cabinets
- Water Dispensers
- Vacuum Cleaners
To register your warranty or make a warranty claim, scan this QR code:
http://www.kleenmaidwarranty.com.au/
Compass Capital Services Pty Limited trading as Kleenmaid
ABN 96138214525
Level 2, 204 Botany Road Alexandria NSW 2015
![]()
Register your Kleenmaid
Appliances Warranty
www.kleenmaidwarranty.com.au
Request a Warranty Service
www.kleenmaidwarranty.com.au
E: [email protected]
Please download the current User Manual for this appliance at www.kleenmaid.com.au


















Hint:


NOTE: If you want to change the time after the timer is set, you have to start from step 1.
DISPOSAL: Do not dispose of this


















