eurotech ED-IC604 60cm Induction Cooktop Instruction Manual
INDUCTION HOB
INSTALLATION AND USER INSTRUCTIONS
Please read the instruction manual carefully before operating your new hob.
Congratulations on the purchase of your new Induction Hob.
We recommend that you spend some time to read this Instruction / Installation Manual in order to fully understand how to install correctly and operate it.
For installation, please read the installation section.
Read all the safety instructions carefully before use and keep this Instruction / Installation Manual for future reference.
Safety Warnings
Your safety is important to us. Please read this information before using your cooktop.
Installation
Electrical Shock Hazard
- Disconnect the appliance from the mains electricity supply before carrying out any work or maintenance on it.
- Connection to a good earth wiring system is essential and mandatory.
- Alterations to the domestic wiring system must only be made by a qualified electrician.
- Failure to follow this advice may result in electrical shock or death.
Cut Hazard
- Take care – panel edges are sharp.
- Failure to use caution could result in injury or cuts.
Important Safety Instructions
- Read these instructions carefully before installing or using this appliance.
- No combustible materials or products should be placed on this appliance at any time.
- Please make this information available to the person responsible for installing the appliance.
- In order to avoid a hazard, this appliance must be installed according to these instructions for installation.
- This appliance must be installed and earthed only by a suitably qualified person.
- This appliance should be connected to a circuit which incorporates an isolating switch, providing full disconnection from the power supply.
- Failure to install the appliance correctly could invalidate any warranty or liability claims.
Operation and Maintenance
Electrical Shock Hazard
- Do not cook on a broken or cracked cooktop. If the cooktop surface should break or crack, immediately switch off the appliance at the mains power supply (wall switch) and contact a qualified technician.
- Switch the cooktop off at the wall before cleaning or maintenance.
- Failure to follow this advice may result in electrical shock or death.
Health Hazard
- This appliance complies with electromagnetic safety standards.
- However, persons with cardiac pacemakers or other electrical implants (such as insulin pumps) must consult with their doctor or implant manufacturer before using this appliance to make sure that their implants will not be affected by the electromagnetic field.
- Failure to follow this advice may result in death
Hot Surface Hazard
- During use, accessible parts of this appliance will become hot enough to cause burns.
- Do not let your body, clothing or any item other than suitable cookware contact the induction glass until the surface is cool.
- Metal objects such as knives, forks, spoons and lids should not be placed on the hob surface as they can get hot.
- Keep children away.
- Handles of saucepans may be hot to touch. Ensure that the saucepan handles do not overhang other cooking zones that are switched on. Make sure children can’t reach the cookware handles.
- Failure to follow this advice could result in burns and scalds.
Cut Hazard
- The razor-sharp blade of a cooktop scraper is exposed when the safety cover is retracted. Use with extreme care and always store safely and out of reach of children.
- Failure to use caution could result in injury or cuts.
Important Safety Instructions
- Never leave the appliance unattended when in use. Boil-over causes smoking and greasy spillovers may ignite.
- Never use your appliance as a work or storage surface.
- Never leave any objects or utensils on the appliance.
- Do not place or leave any magnetisable objects (e.g. credit cards, memory cards)or electronic devices (e.g. computers, MP3 players) near the appliance as they may be affected by its electromagnetic field.
- Never use your appliance for warming or heating the room.
- After use, always turn off the cooking zones and the cooktop as described in this manual (i.e. by using the touch controls). Do not rely on the pan detection feature to turn off the cooking zones when you remove the pans.
- Do not allow children to play with the appliance nor sit, stand or climb on it.
- Do not store items of interest to children in cabinets above the appliance. Children dumbing on the cooktop could be seriously injured.
- Do not leave children alone or unattended in the area where the appliance is in use.
- Children or persons with a disability which limits their ability to use the appliance should have a responsible and competent person to instruct them in its use. The instructor should be satisfied that they can use the appliance without danger to themselves or their surroundings.
- Do not repair or replace any part of the appliance unless specifically recommended in the manual. All other servicing should be done by a qualified technician.
- Do not use a steam cleaner to clean your cooktop.
- Do not place or drop heavy objects on your cooktop.
- Do not stand on your cooktop.
- Do not use pans with jagged edges or drag pans across the induction glass surface as this can scratch the glass.
- Do not use scourers or any other harsh abrasive cleaning agent B to clean your cooktop as these can scratch the induction glass.
- This appliance is intended to be used in a household or similar environments such as staff kitchen areas in shops, offices and other residential environments.
- If the supply cord is damaged, it must be replaced by a special cord or assembly available from the manufacturer or its service agent.
- WARNING: The appliance and its accessible parts become hot during use. Care should be taken to avoid touching heating elements. Children less than 8 years of age should be kept away unless continuously supervised.
- The appliance is not to be used by persons (including children) with reduced physical, sensory or mental capabilities, or lack of experience and knowledge, unless they have been given supervision or instruction children being supervised not to play with the appliance.
- WARNING: If the surface is cracked, switch off the appliance to avoid the possibility of an electric shock, for hob surfaces of glass-ceramic or similar material which protect live parts.
- The appliance is not intended to be operated by means of an external timer or separate remote-control system.
- CAUTION: The cooking process has to be supervised. A short term cooking process has to be supervised continuously.
- WARNING: In order to prevent tipping of the appliance, it must be stabilized prior to installation. Please refer to the installation instructions.
- WARNING: Use only hob guards designed by the manufacturer of the cooking appliance or indicated by the manufacturer of the appliance in the instructions for use as suitable or hob guards incorporated in the appliance. The use of inappropriate guards can cause accidents.
- This appliance incorporates an earth connection for functional purposes only.
- WARNING: Unattended cooking on a hob with fat or oil can be dangerous and may result in fire. NEVER try to extinguish a fire with water, but switch off the appliance and then cover flame e.g. with a lid or a fire blanket.
- WARNING: Danger of fire: do not store items on the cooking surfaces.
NOTICE: The crystallite glass is still hot after use, please do not touch!
TECHNICAL DATA
| Model | Power supply | Power | Size (mm) | Built-in hole Size (mm) | ||
| Heating area (210mm) | Heating area (180mm) | Heating area (140mm) | ||||
| ED-IC302 |
AC220-240V 50Hz | / | 2000W | 1500W | 288x520x62 | 268X500 |
| ED-IC604 | / | 1500W (BOOST 2000W) | 1200W (BOOST 1500W) | 590x520x77 | 560×490 | |
| ED-IC754 | 1500W (BOOST 2000W) | 1500W (BOOST 2000W) | 1200W (BOOST 1500W) | 750x520x77 | 720×490 | |
| ED-IC905 | 1800W (BOOST 2200W) | 1500W (BOOST 1800W) | 1200W (BOOST 1500W) | 860x520x77 | 830×490 | |
PRODUCT OVERVIEW
Top View



- Heating zone selection controls
- Power / Timer regulating key
- key lock control
- ON/OFF control
- Timer control
- Boost
- Slider controller
Before Using Your New Induction Hob
- Read this guide, taking special note of the ’Safety Warnings’ section.
- Remove any protective film that may still be on your induction hob.
Using the Touch Controls
- The controls respond to touch so you don’t need to apply any pressure.
- Use the ball of your finger, not its tip.
- You will hear a beep each time a touch is registered.
- Make sure the controls are always clean, dry and that there are no objects (e.g. a utensil or a cloth) covering them. Even a thin layer of water may make the controls difficult to operate.

Choosing the Right Cookware
- Only use cookware with a base suitable for induction cooking. Look for the induction symbol on the packaging or on the bottom of the pan.
- You can check whether your cookware is suitable by carrying out a magnet test. Move a magnet towards the base of the pan.
If it is attracted, the pan is suitable for induction. - If you do not have a magnet:
- Put some water in the pan you want to check.
- If ” ” does not flash in the display and the water is heating, the pan is suitable.
- Cookware made from the following materials is not suitable: pure stainless steel, aluminum or copper without a magnetic base, glass, wood, porcelain, ceramic and earthenware.
Do not use cookware with jagged edges or a curved base.
Make sure that the base of your pan is smooth, sits flat on the glass and is the same size as the cooking zone. Using a pot that is slightly wider means energy will be used at its maximum efficiency. If you use a smaller pot, efficiency could be less than expected. Pots with a diameter of less than 140 mm could be undetected by the hob if placed on the larger cooking zone.
Always centre your pan on the cooking zone.
Always lift pans off the induction hob — do not slide as they may scratch the glass.

To Start Cooking
- Touch the ON/OFF control.

With the power on, the buzzer beeps once, all displays show ” — ” or ” — — “, indicating that the induction hob has entered the standby mode. - Place a suitable pan on the cooking zone that you wish to use.

- Make sure the bottom of the pan and the surface of the cooking zone are clean and dry.
- Touch the heating zone selection control and the indicator next to the key will flash.
- Select a heat setting by touching the “-” or “+” control.
- If you don’t choose a heat setting within 1 minute, the induction hob will automatically switch off. You will need to start again at step 1.
- You can touch the heating zone selection again and modify the heat setting at any time during cooking.

Slider controller (ED-IC90T)
Switch on the induction hob, press the optional key to select heating zone, the indicator next to the key will flash for 5 seconds, during this period, it’s power can be adjusted from level 2 to 8 by the slider controller; Slide a scontroller from left to right, it is increase steps, slide from right to left to reduce steps.
If the Display Flashes “
” Alternately with the Heat Setting
This means that:
- you have not placed a pan on the correct cooking zone or,
- the pan you’re using is not suitable for induction cooking or,
- the pan is too small or not properly centered on the cooking zone.

No heating takes place unless there is a suitable pan on the cooking zone.
The display will automatically turn off after 1 minute if no suitable pan is placed on it
When You Have Finished Cooking
- Touch the heating zone selection control that you wish to switch off.
- Turn the cooking zone off by scrolling down to”0″ . Make sure the display shows”0″ and then “H”.
- Turn the whole cooktop off by touching the ON/OFF control.
- Beware of hot surfaces indicator “H” will show which cooking zone is hot to touch.

It will disappear when the surface has cooled down to a safe temperature. It can also be used as an energy saving function – if you G want to heat further pans, use the hotplate that is still hot.
Locking the Controls
- You can lock the controls to prevent unintended use (for example children accidentally turning the cooking zones on).
- When the controls are locked, all the controls except the ON/OFF control are disabled.

To lock the controls:
Touch the key lock control. The timer indicator will show “Lo”.
To unlock the controls:
- Make sure the induction hob is turned on.
- Touch and hold the keylock control for a while.
- You can now start using your induction hob.
When the hob is in lock mode, all controls are disabled, except the ON/OFF. You can always turn the induction hob off with the ON/OFF control in an emergency, but you would have to unlock the hob first in the next operation.
Overheating Protection
The appliance is equipped with a temperature sensor which can monitor the temperature inside the induction hob.
When an excessive temperature is monitored, the Induction hob will stop operation automatically.
Detection of Small Articles
When an unsuitably sized or non-magnetic pan (e.g. aluminium), or some other small item (e.g. knife, fork, key) has been left on the hob, the display flashes ” ” and the hob will automatically go in the standby mode in 1 minute. The fan will keep cooling down the induction hob for a further 2 minutes.
Auto Shutdown Protection
Auto shutdown is a safety protection function for your induction hob. It will automatically turn off after a certain period of time. The default working times for various power levels are shown in the below table:
Power level | 1 | 2 | 3 | 4 | 5 | 6 | 7 | 8 | I |
| Default working timer (hour) | 8 | 8 | 8 | 4 | 4 | 4 | 2 | 2 | 1 2 |
When a pot is removed, the induction hob can stop heating immediately and automatically switch off after 1 minute.
People with a heart pacemaker should consult their doctor before using this unit.
Using the Timer
- You can set it to turn one cooking zone off after the set time is up.
- You can set the timer up to 99 minutes.

Setting the Timer to Turn off One Cooking Zone
- Touch the heating zone selection control that you want to set the timer for.
- Touch timer control, the minder indicator will start flashing and “30” will show in the timer display.


- Set the time by touching the “-r” and “-” buttons.
Hint: Touch the “-” or “+” control of the timer once – time will decrease or increase by 1 minute.
Touch and hold the “-” or “+” control of the timer – time will decrease or increase by 10 minutes. - Touch the “-” control to reduce the time outstanding to zero or press the “timer control” when the “00” shows in the minute display to cancel the timer.
- When the time is set, it will begin to count down immediately. The display will show the remaining time and the timer indicator will flash for 5 seconds.
NOTE: The red dot next to power level indicator will illuminate, indicating that zone is selected. - When cooking timer expires, the corresponding cooking zone will switch off automatically.

Other cooking zones will keep operating if they have been turned on previously.
- ED-IC30T
L(mm) W(mm) H(mm) D(mm) A(mm) B(mm) X(mm) 288 520 62 56 268 500 50 mini - ED-IC60T
L(mm) W(mm) H(mm) D(mm) A(mm) B(mm) X(mm) 590 520 77 72 560 490 50 mini - ED-IC75T
L(mm) W(mm) H(mm) D(mm) A(mm) B(mm) X(mm) 750 520 77 72 720 490 50 mini - ED-IC90T
L(mm) W(mm) H(mm) D(mm) A(mm) B(mm) X(mm) 860 520 77 72 830 490 50 mini

The hob has a special seal which prevents liquid from entering the cabinet. Follow these instructions in order to correctly apply this seal: Detach the seals from their backing. Turn the hob over and correctly position the seal under the edge of the hob so that the outer part of the seal perfectly matches the outer edge of the hob. Fix the seal to the hob evenly and securely, pressing it firmly in place.
Make sure the induction hob is well ventilated and the air inlet and outlet are not blocked. Ensure the induction hob is in good working order.
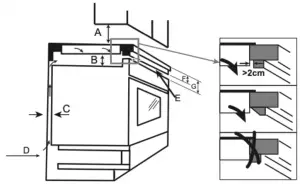
Note: The distance between the hotplate and the cupboard above should be at least 760mm.
| A(mm) | B(mm) | C(mm) | D | E | F | G |
| 760 | 50 mini | 20 mini | Air intake | Air exit >5mm | >35mm | <50mm |
Note: There must be a 560x5mm opening in the front (position E) to dissipate the air.
After installation, ensure the airflow opening is not blocked by the worktop.
Before you install the hob, make sure that:
- The work surface is square and level, and that no structural units interfere with the space requirements.
- The work surface is made of a heat-resistant material.
- If the hob is installed above an oven, the oven has a built-in cooling fan.
- The installation will comply with all clearance requirements and applicable standards and regulations.
- A suitable isolating switch providing full disconnection from the mains power supply is incorporated in the permanent wiring, mounted and positioned to comply with the local wiring rules and regulations.
The isolating switch must be of an approved type and provide a 3 mm air gap contact separation in all poles (or in all active [phase] conductors if the local wiring rules allow for this variation of the requirements). - The isolating switch will be easily accessible after installation.
- You consult local building authorities and by-laws if in doubt regarding installation.
- You use heat-resistant materials (such as ceramic tiles) for the wall surfaces surrounding the hob.
When you have installed the hob, make sure that:
- The power supply cable is not accessible through cupboard doors or drawers.
- There is adequate flow of fresh air from outside the cabinets to the base of the hob.
- If the hob is installed above a drawer or cupboard space, the hob bottom temperature may be too high, in order to prevent hand or other flammable /combustion contact, a thermal protection barrier is installed below the base of the hob.

- The isolating switch is easily accessible.
Before locating the fixing brackets
The unit should be placed on a stable, smooth surface to prevent damage. Do not apply force onto the controls protruding from the hob.
Adjusting the bracket position
Fix the hob on the work surface by screwing 4 brackets on the bottom of hob (see picture) after installation.
Cautions
- The induction hot must be installed by qualified personnel or technicians.
- The hob must not be installed directly above a dishwasher, fridge, freezer, washing machine or a dryer as the humidity may damage the hob electronics.
- The induction hot must be installed in a way that better heat radiation can be ensured to enhance its reliability.
- The wall and induced heating zone above the work surface must withstand heat generated by the hob.
- To avoid any damage, the sandwich layer and adhesive must be resistant to heat.
Connecting the hob to the mains power supply
This hob must be connected to the mains power supply only by a suitably qualified person.
Before connecting the hob to the mains power supply, check that:
- the domestic wiring system is suitable for the power drawn by the hob.
- the voltage corresponds to the value given in the rating plate
- the power supply cable sections can withstand the load specified on the rating plate.
To connect the hob to the mains power supply, do not use adapters, reducers, or branching devices, as they can cause overheating and fire.
The power supply cable must not touch any hot parts and must be positioned so that its temperature will not exceed 75″C at any point. Check with an electrician whether the domestic wiring system is suitable without alterations.
Any alterations must only be made by a qualified electrician.
The power supply should be connected in compliance with the relevant standard, or a single-pole circuit breaker. the method of connection is shown below.
CONNECTION DIAGRAM Caution! Voltage of heating elements 220-240V Caution! In the event of any connection the safety Wire must be connected to the |
For 220-240V earthed one-phase connection, bridges connect |
For 220-240V earthed one-phase connection, bridges connect | Recommended type of connection lead |
- If the cable is damaged or to be replaced, the operation must be carried out the by a service agent or a suitably qualified professional.
- If the appliance is being connected directly to the mains, an omnipolar circuit breaker must be installed with a minimum opening of 3mm between contacts.
- The installer must ensure that the correct electrical connection has been made and that it is compliant with all applicable standards and safety regulations.
- The cable must not be bent or compressed.
- The cable must be checked regularly and replaced by authorised technicians only.
This appliance is labelled in compliance with European directive 2012/19/EC for Waste Electrical and Electronic Equipment (WEEE). By ensuring that this appliance is disposed of correctly, you will help prevent any possible harm to the environment and to human health which might otherwise be caused if disposed of in the wrong way.
The symbol on the product indicates that it may not be treated as normal household waste. It should be taken to a collection point for the recycling of electrical and electronic goods.
This appliance requires specialist waste disposal. For further information regarding the treatment, recovery and recycling of this product, please contact your local council, household waste disposal service or the shop where you purchased the product.
For more detailed information about treatment, recovery and recycling of this product, please contact your local local council, household waste disposal service or the shop where you purchased the product.











Other cooking zones will keep operating if they have been turned on previously.





















