
HOMEDEPOT 761016694491 Round Stainless Steel Framed 1X-10X Double-Sided and 360 Degree Swivel Wall Bathroom Vanity Mirror

Production Drawing

PACKAGE CONTENTS
*The color of the mirror you receive is based on your actual order.
Battery Specifications
switch input voltage | charging current | battery charging input voltage | voltage | electric resistance |
5V | 250mA | 5V | 6.5W white light (3.25w) + warm light (3.25w) | 68R |
Main Features
Swing the handle to tilt the mirror at any Angle
Spin and angle the mirror in any position to obtain the best view
8” wall mounted make up mirror
- 360° Swivel Design
- 10 Minutes Intelligent Light-off System
- Adjustable 3 Color Light
- Swing the handle to tilt the mirror at any Angle
Charging Ways:
- Use 4*AAA nickel-metal hydride rechargeable batteries.(included)
- It also support 4*AAA alkaline batteries(can NOT be charged, and Not include)
- When there is no battery, you can also use usb wires to connect the power supply, but be careful that the usb wires should not be twisted when using them!
- The red light comes on when charging, and turns green once it’s fully charged.
Features:
- 10 Minutes intelligent light-off system.
- 3 Color Lighting Model: white light, warm light, natural light
Smart Touch Screen - Simple touch switch to turn on / off the light.
- Touch again to select color light among 3 modes. can adjust brightness.
- 360° Swivel Design
- A smooth 360-degree swivel design makes you can fix the mirror at any angle according to your need.
Warning
No Stacking of Heavy Object !

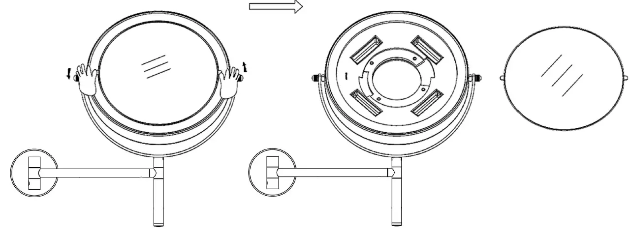
Instruction for removing the mirror panel

Instruction for removing the magnified mirror panel

- Use 4*AAA nickel-metal hydride rechargeable batteries.(included)

Mirror Angle
Can be humanized swing mirror Angle

How to Use a wrench

Warning
Precautions of the battery use:
- Fully charged for first time use
- 1f not used for 3 months, it must be fully charged before storage, otherwise the battery will fail
- Under any circumstances, the battery is strictly prohibited from being reversed
- The battery is strictly prohibited to charge at low temperature( below zero de9-ree) High temperature ( above 45 degree) charging of the battery is strictly prohibited
- Do not play and swallow
Installation procedure details
Tips:
The free bit {included in the package) is used for only wood wall and the soft wall { made with sands) , but pls use the professional drill if the wall is made with reinforced concrete structure.




















