HOME DECORATORS COLLECTION 21038-M24-ST Rectangular Wood Framed Wall Bathroom Vanity Mirror Instruction Manual
Safety Information
DANGER
- Keep small parts away from children during assembly.
- Failure to follow warnings and cautions could result in serious injury.
- Product is designed to hold 50 lbs. Exceeding this limit may damage the product or cause injury to the user
CAUTION
- Blot spills quickly, and wash with mild soap and warm water.
- Be sure to check all packing materials carefully for small parts that may have come loose inside the carton during shipment. If parts are missing, contact THE HOME DEPOT to obtain any missing parts.
- Using abrasive cleansers will damage the surface
WARNING
- Read these instructions carefully and keep in a safe place.
- Adult assembly required.
- This product should only be used on a flat, level surface.
- Do not over tighten connectors (screws, bolts, etc.) Overtightening can lead to product damage.
- Small parts may present choking hazard prior to assembly.
- Do not stand, step or climb on unit.
Warranty
LIMITED LIFETIME WARRANTY
WHAT IS COVERED
Home Decorators Collection products are manufactured with superior quality standards and workmanship and are backed by our limited lifetime warranty. Home Decorators Collection products are warranted to the original consumer purchaser to be free of defects in materials or workmanship. We will replace FREE OF CHARGE any product or parts that proves defective. Simply, return the product / part to any of The Home Depot retail locations or call 1-800-998-7021 to receive the replacement item. Proof of purchase (original sales receipt) from the original consumer purchaser must be made available for all Home Decorators Collection warranty claims.
WHAT IS NOT COVERED
This warranty excludes incidental/consequential damages and failures due to misuse, abuse or normal
wear and tear. This warranty excludes all industrial, commercial & business usage, whose purchasers are hereby extended a five-year limited warranty from the date of purchase, with all other terms of this warranty applying except the duration of warranty. Some states and provinces do not allow the exclusion or limitation of incidental or consequential damages, so the above limitations may not apply to you. This warranty gives you specific legal rights and you may also have other rights that vary from state to state and province to province. Please see a store or contact 1-800-998-7021 for more details.
California and Minnesota Residents
CALIFORNIA RESIDENTS
WARNING: THIS PRODUCT CAN EXPOSE YOU TO CHEMICALS INCLUDING FORMALDEHYDE WHICH IS KNOWN TO THE STATE OF CALIFORNIA TO CAUSE CANCER AND BIRTH DEFECTS OR OTHER REPRODUCTIVE HARM. GO TO WWW.P65Warnings.ca.gov/products
MINNESOTA RESIDENTS
“IMPORTANT HEALTH NOTICE.
SOME OF THE BUILDING MATERIALS USED IN THIS HOME (OR THESE BUILDING MATERIALS) EMIT FORMALDEHYDE. EYE, NOSE, AND THROAT IRRITATION, HEADACHE, NAUSEA AND A VARIETY OF ASTHMA-LIKE SYMPTOMS, INCLUDING SHORTNESS OF BREATH, HAVE BEEN REPORTED AS A RESULT OF FORMALDEHYDE EXPOSURE. ELDERLY PERSONS AND YOUNG CHILDREN, AS WELL AS ANYONE WITH A HISTORY OF ASTHMA, ALLERGIES, OR LUNG PROBLEMS, MAY BE AT GREATER RISK. RESEARCH ISCONTINUING ON THE POSSIBLE LONG-TERM EFFECTS OF EXPOSURE TO FORMALDEHYDE.
REDUCED VENTILATION MAY ALLOW FORMALDEHYDE AND OTHER CONTAMINANTS TO ACCUMULATE IN THE INDOOR AIR. HIGH INDOOR TEMPERATURES AND HUMIDITY RAISE FORMALDEHYDE LEVELS. WHEN A HOME IS TO BE LOCATED IN AREAS SUBJECT TO EXTREME SUMMER TEMPERATURES, AN AIR-CONDITIONING SYSTEM CAN BE USED TO CONTROL INDOOR TEMPERATURE LEVELS. OTHER MEANS OF CONTROLLED MECHANICAL VENTILATION CAN BE USED TO REDUCE LEVELS OF FORMALDEHYDE AND OTHER INDOOR AIR CONTAMINANTS.
IF YOU HAVE ANY QUESTIONS REGARDING THE HEALTH EFFECTS OF FORMALDEHYDE, CONSULT YOUR DOCTOR OR LOCAL HEALTH DEPARTMENT.”
Pre-assembly
PLANNING ASSEMBLY
To ensure your installation goes smoothly, please read these instructions carefully and review the recommended tools and hardware before you begin. Using a level locate any uneven wall areas where your mirror will be installed. Unevenness can cause your mirror to become misaligned resulting in twisting of the mirror. Repair any uneven areas by reducing high spots or shimming low spots
TOOLS REQUIRED
NOTE: Tools are not included
- Electric drill with #2 drill bit

- Safety goggles

- Phillips screwdriver

- Tape measure

- Level

NOTE: Hardware drawing for reference.
- AA

- BB

| Part | Description | Quantity |
| AA | Screw | 2 |
| BB | Plastic plug | 2 |
Pre-assembly (continued)
PACKAGE CONTENTS

| Part | Description | Quantity |
| A | Mirror | 1 |
Assembly
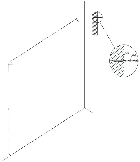
- Inserting the plastic plug
- Measure the distance between keyholes on the back panel, then drill holes with the same distance on the wall.
- Place the plastic plugs (BB) into the predrilled holes in the wall.

- Hanging the mirror
- Rotate the screws (AA) into the plastic plugs (BB), keep 5/16 inches outside to hang the mirror (A).
- Hang the mirror (A) in the screws

Maintenance
- To maintain the beauty of the furniture finish, avoid placing the mirror in direct sunlight.
- Avoid exposing the mirror to extreme temperatures by installing away from heat and air vents
Care and Cleaning
- Dust frequently with a clean, soft and dry cloth.
- Wipe away any water or liquid spills on the mirror immediately with a clean soft and dry cloth.
Troubleshooting
| Problem | Possible Cause | Corrective Action |
| The mirror is not level. | The hole on the wall is not level. | Measure the hole well and re-drill. |
Costumer Support
Questions, problems, missing parts? Before returning to the store,
call Home Decorators Collection Customer Service.
8 a.m. – 7 p.m., EST, Monday – Friday, 9 a.m. – 6 p.m., EST, Saturday
1-800-998-7021
HOMEDEPOT.COM/HOMEDECORATORS
Retain this manual for future use.


























