HOME DECORATORS COLLECTION Cherrydale MR Rectangular Framed Wall Bathroom Vanity Mirror

Product Information
The Cherrydale MR is a 32-inch mirror from the Home Decorators Collection. It comes with a Limited Lifetime Warranty and is designed to enhance the look of your home. The mirror is made of natural stone and requires preventative cleaning measures to keep it pristine. It is not recommended to use harsh bathroom cleaners or grout cleaners on the surface. The mirror comes with assembly instructions and all required tools and parts.
Product Usage Instructions
- Pre-Assembly: Before starting assembly, make sure all required tools and parts are present. Check all packing materials carefully for small parts that may have come loose during shipment. If any parts are missing, contact THE HOME DEPOT to obtain them.
- Planning Assembly: Read the instructions carefully and keep them in a safe place. Do not over tighten connectors (screws, bolts, etc.) as this can lead to product damage.
- Assembly: Follow the step-by-step assembly instructions provided in the manual. Keep small parts away from children during assembly. Do not stand, step, or climb on the unit.
- Care and Cleaning: Use preventative cleaning measures to keep the stone surface pristine. Use sealers according to the product-specific directions. Blot spills quickly and wash with mild soap and warm water. Do not use abrasive cleansers as they will damage the surface.
- Warranty: The mirror comes with a Limited Lifetime Warranty that extends only to the original owner user for personal household use only. For commercial uses, additional limitations may apply. If the mirror does not meet your satisfaction due to a visual defect, return it to your retailer with the original packaging, PRIOR TO INSTALLATION, for a replacement.
THANK YOU We appreciate the trust and confidence you have placed in Home Decorators Collection through the purchase of this Mirror. We strive to continually create quality products designed to enhance your home. Visit us online to see our full line of products available for your home improvement needs. Thank you for choosing Home Decorators Collection!
Safety Information
DANGER
- Keep small parts away from children during assembly.
- Failure to follow warnings and cautions could result in serious injury.
- DO NOT use harsh bathroom cleaners or grout cleaners on any natural stone.
WARNING
- Read these instructions carefully and keep in a safe place.
- Adult assembly required.
- Do not over tighten connectors (screws, bolts, etc.) Overtightening can lead to product damage.
- Small parts may present choking hazard prior to assembly.
- Do not stand, step or climb on unit.
Caution
- USE preventative cleaning mesures to keep your stone pristine.
- USE sealers according to the product specific directions.
- Blot spills quickly, and wash with mild soap and warm water.
- Be sure to check all packing materials carefully for small parts that may have come loose inside the carton during shipment. If parts are missing, contact THE HOME DEPOT to obtain any missing parts.
- Using abrasive cleansers will damage the surface.
Warranty
LIMITED LIFETIME WARRANTY
- This warranty extends only to the original owner user for personal household use only. For commercial uses, additional limitations may apply.
- Home Decorators Collection warrants your satisfaction with each mirror. Should any mirror not meet your satisfaction due to a visual defect, simply return it to your retailer with the original packaging, PRIOR TO INSTALLATION, for a replacement.
- Home Decorators Collection warrants mirrors to be free from defects in workmanship and materials under normal use and service for a period of one (1) year.
- Home Decorators Collection will, at its election, repair, replace, or make appropriate adjustment where Home Decorators Collection optional inspection discloses any such defects occurring in normal usage within the warranty periods.
- Please note that Home Decorators Collection is not responsible for installation or removal costs.
- Modification of any mirror’s components may void the warranty. This warranty does not cover any claim arising from abuse, misuse, negligence, accident, improper installation or operation on the part of the purchaser. This warranty is void if Home Decorators Collection’s product is subject to alterations, or if repairs were done to the mirror unit.
- This warranty does not extend to any components installed by dealers, installers or by any party other than Home Decorators Collection.
- Implied warranties, including that of merchantability or fitness for a particular purpose, are expressly limited in duration to the duration of this warranty.
- Home Decorators Collection disclaims any liability for special, incidental or consequential damages.
WHAT IS COVERED
Home Decorators Collection products are manufactured with superior quality standards and workmanship and are backed by our limited lifetime warranty. Home Decorators Collection products are warranted to the original consumer purchaser to be free of defects in materials or workmanship. We will replace FREE OF CHARGE any product or parts that proves defective. Simply, return the product / part to any of The Home Depot retail locations or call 1-800-986-3460 to receive the replacement item. Proof of purchase (original sales receipt) from the original consumer purchaser must be made available for all Home Decorators Collection warranty claims.
WHAT IS NOT COVERED
This warranty excludes incidental/consequential damages and failures due to misuse, abuse or normal wear and tear. This warranty excludes all industrial, commercial & business usage, whose purchasers are hereby extended a one-year limited warranty from the date of purchase, with all other terms of this warranty applying except the duration of warranty. Some states and provinces do not allow the exclusion or limitation of incidental or consequential damages, so the above limitations may not apply to you. This warranty gives you specific legal rights and you may also have other rights that vary from state to state and province to province. Please see a store or contact 1-800-986-3460 for more details.
Pre-assembly
PLANNING ASSEMBLY
Check the mirror for damage before installation. If any part of the mirror is missing or damaged, contact the Customer Service Team at 1-800-986-3460. Ensure that the mirror location is accessible to wall. It is suggested that you rough-in the wall before installing the mirror.
TOOLS REQUIRED

PACKAGE CONTENTS

| Part | Description | Quantity |
| A | Mirror | 1 |
| B | Wall anchor | 2 |
| C | Screw | 2 |
Assembly
Option#1
- Positioning for mirror
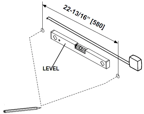
Measure the distance between the centers of the hangers on the back of the mirror. Use a level to mark these two points on the wall.
NOTE: This mirror can be hanged by two directions
- Drilling holes
- Gypsum wallboard or concrete walls: Drill pilot holes in the marked locations with a ø 8 mm / 5/16 in drill bit. Insert the wall anchors (B) using a rubber mallet until the wall anchors are flush with the wall.
- Solid wood walls: Drill pilot holes in the marked locations with a ø 2 mm / 1/16 in drill bit. Wall anchors are not necessary.
CAUTION: Wear a pair of rubber gloves to protect your hands.
- Installing screws
Install a screw in each wall anchor (if installing in wallboard or concrete), until the head of each screw is approximately 10mm / 3/8 in. away from the wall.
WARNING: Pull the screws firmly outward and downward to ensure that they are securely installed into the wall.
- Hanging the mirror
Hang the mirror on the screws using the hanger on the back of the mirror
Option#2
- Positioning for mirror
Measure the distance between the centers of the hangers on the back of the mirror. Use a level to mark these two points on the wall.
NOTE: This mirror can be hanged by two directions
- Drilling holes
- Gypsum wallboard or concrete walls: Drill pilot holes in the marked locations with a ø 8 mm / 5/16 in drill bit. Insert the wall anchors (B) using a rubber mallet until the wall anchors are flush with the wall.
- Solid wood walls: Drill pilot holes in the marked locations with a ø 2 mm / 1/16 in drill bit. Wall anchors are not necessary.
CAUTION: Wear a pair of rubber gloves to protect your hands.
- Installing screws
Install a screw in each wall anchor (if installing in wallboard or concrete), until the head of each screw is approximately 10mm / 3/8 in. away from the wall.
WARNING: Pull the screws firmly outward and downward to ensure that they are securely installed into the wall.
- Hanging the mirror
Hang the mirror on the screws using the hanger on the back of the mirror
Care and Cleaning
- For daily maintenance, use a wet cloth and a soft liquid cleaner.
- Never use abrasive cleaners or strong bleach, scrapers, metallic brushes, or other objects or any products which can graze or tarnish surfaces.
Questions, problems, missing parts? Before returning to the store, call Home Decorators Collection Customer Service. 8 a.m. – 7 p.m., EST, Monday – Friday, 9a.m. – 6 p.m., EST, Saturday 1-800-986-3460 HOMEDEPOT.COM/HOMEDEPOT.CA/HOMEDECORATORS Retain this manual for future use.

























