RICCAR R40 Premium Pet Tandem Air Upright Vacuum Cleaner User Manual
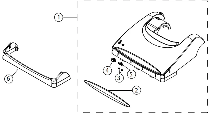
HANDLE ASSEMBLY

| KEY | PART NUMBER | DESCRIPTION |
| 1 | C484-8014B | Handle Grip Assembly |
| 2 | A328-1200 | On/Off Switch |
| 3 | B484-8308B | Switch Button Cover |
| 4 | B483-0300B | Handle Wire Harness with Switch Board |
| 5 | B384-3300B | Handle Tube |
| 6 | B384-1400D | Handle Tube Base |
| 7 | B384-5014 | Lower Cord Hook |
| 8 | B484-8714 | Upper Wand Handle Cradle Base |
| 9 | B484-8814 | Upper Wand Handle Cradle |
| 10 | A732-1500 | Upper Cord Hook Mount Screw M4 x 40mm |
| 11 | B384-0900 | Upper Cord Hook |
| 12 | B430-0200 | Upper Cord Hook Spring |
| 13 | A430-0405 | Upper Cord Hook Washer |
| 14 | A732-3400 | Upper Cord Hook Screw Type AB #8 x 2.25 |
| 15 | A430-0900B | Lower Cord Hook Screw M4 x 35mm |
| 16 | D333-0314 | Power Cord Assembly 40’ |
| 17 | A732-2400 | E Clip 11mm |
| 18 | D384-3300 | Handle Assembly Complete |
DUST COVER

| KEY | PART NUMBER | DESCRIPTION |
| 1 | N/A | Aqua Dust Cover Assembly (R40.LE) |
| N/A | Kawa Blue Dust Cover Assembly (R40P.LE) | |
| D380-0777 | Purple Dust Cover Assembly (R40) | |
| D380-0758 | Teal Dust Cover Assembly (R40P) | |
| 2 | D380-4000 | Dust Cover Latch Body Assembly |
| 3 | B380-0514B | Dust Cover Latch Body |
| 4 | B380-0914B | Dust Cover Latch |
| 5 | B380-2114 | Latch Cover |
| 6 | A732-8314 | Screw Phillips Hi Lo #8 x 5/8 |
| 7 | B380-0414B | Dust Cover Lever |
| 8 | A380-1000B | Dust Cover Lever Badge |
| 9 | D380-3000 | Dust Cover Lever Assembly |
DUST COVER
| KEY | PART NUMBER | DESCRIPTION |
| 1 | D380-0341 | Dust Cover Assembly Black Metallic (R40P.4) |
| D380-0341.2 | Dust Cover Assembly Navy Metallic (R40P.6) | |
| 2 | D380-4000 | Dust Cover Latch Body Assembly |
| 3 | B380-0514B | Dust Cover Latch Body |
| 4 | B380-0914B | Dust Cover Latch |
| 5 | B380-2114 | Latch Cover |
| 6 | A732-8314 | Screw Phillips Hi Lo #8 x 5/8 |
| 7 | B380-0834 | Dust Cover Lever |
MAIN BODY (FRONT)

| KEY | PART NUMBER | DESCRIPTION | KEY | PART NUMBER | DESCRIPTION |
| Carrying Handle (R40.LE R40 R40.2 R40P.LE R40P R40P .2) | 26 | B380-6600 | Motor Cover Seal | ||
| 1A | B380-1414 | 27 | B380-5900 | Direct Air Motor Filter Seal | |
| B380-5814 | Direct Air Motor Filter with Cover | ||||
| 1B | B380-1314 | Carrying Handle (R40P.4 R40P.6 Only) | 28 | ||
| RF40G | Filter Set (Includes #11, #18, | ||||
| 2 | A732-8314 | Screw Phillips Hi Lo #8 x 5/8 | and #28) | ||
| 3 | B380-2200 | Dust Cover Catch | D386-2600 | Ametek Clean Air Motor (See motor bulletin on last page) | |
| C380-7097 | HEPA Bag (Bulk Single) | 29 | |||
| C380-7097B | Charcoal- Lined HEPA Bag (Bulk Single) | D386-2700 | Samsung Clean Air Motor (See motor bulletin on last page) | ||
| 4 | RPH-6 | HEPA Bag (6 Pack) | 30 | B388-5600B | Ametek Rear Motor Seal |
| RPHC-6 | Charcoal-Lined HEPA Bag (6PK Type P) | B388-5800 | Samsung Rear Motor Seal | ||
| Motor Strip Seal Ametek/Sam- sung (Sold by the inch, 13” used) | |||||
| 5 | D380-6100 | Bag Mount Assembly | 31 | 80632 | |
| 6 | B380-6297 | Bag Collar Hinge | |||
| 7 | B480-9600 | Bag Mount Spring | 32 | B333-5400 | White Motor Lead Wire (Sam- sung Motor only) |
| 8 | B380-6114 | Bag Collar Mount | |||
| 9 | B380-6000 | Dust Compartment Seal | 33 | B333-5300 | Black Motor Lead Wire (Sam- |
| 10 | B380-1014 | Internal Air Path | sung Motor only) | ||
| 34 | B486-0600 | Front Motor Mount Ametek/ Samsung | |||
| C388-4800 | Granulated Charcoal Secondary Filter | ||||
| 11 | 35 | 18547 | Ground Spring (Samsung Mo- tor only) | ||
| RF40G | Filter Set (Includes #11, #18, | ||||
| and #28) | 36 | A732-9905 | Ground Screw #4 x 1/4” (Sam- sung Motor only ) | ||
| 12 | D380-5014 | Dust Compartment Assembly | |||
| 13 | A480-0100B | Airpath Back Cover Seal | |||
| 37 | B333-5000 | Body Wire Harness (Includes Roto-Valve Micro Switch) | |||
| 14 | B380-8200 | Wire Inlet Seal | |||
| 15 | B380-2400 | Tilt Lock Body Plate | |||
| 38 | B318-6000K | Main PC Board | |||
| 16 | B380-5014 | Dust Compartment | |||
| 39 | D480-5000 | Pressure Hose Assembly | |||
| 17 | B380-6514 | Post Filter Catch | |||
| 40 | B480-5014 | Pressure Switch Insert | |||
| B380-6314 | HEPA Filter (Single Bulk) | ||||
| 18 | 41 | D386-3000 | Direct Air Motor Assembly | ||
| RF40G | Filter Set (Includes #11, #18, | ||||
| and #28) | 42 | N/A | Direct Air Motor Fan Nut | ||
| 43 | B386-3314 | Direct Air Motor Fan | |||
| 19 | B380-6414 | Post Filter Base | |||
| 44 | B386-1000 | Fan Washer | |||
| 20 | B370-3100 | Pivot Bushing | |||
| 45 | B380-6700 | Direct Air Motor Outlet Seal | |||
| 21 | B370-3414 | Inner Wire Guide | |||
| 46 | A328-1000 | Winged Rocker Switch | |||
| 22 | A732-8414 | Screw Phillips Hi Lo #8 x | |||
| 16-Jul | 47 | A732-2700 | Retaining Ring 0.125 (Samsung Motor only) | ||
| 23 | B388-1014B | Direct Air Motor Inlet Seal | |||
| 24 | D380-5714 | Motor Cover Assembly | |||
| 25 | A123-0114 | Motor Cover Plug For Filter Reset Button | |||
BACK COVER

| KEY | PART NUMBER | DESCRIPTION |
| 1 | A732-8314 | Screw Phillips Hi Lo #8 x 5/8 |
| 2 | B380-5314B | Rotational Valve Handle |
| 3 | B380-5514 | Roto Valve Switch Cover |
| 4 | A732-9005 | Screw Type B Phillips #2 x 7/16 |
| 5 | A328-1400 | Roto Valve Switch |
| 6 | B480-4700 | Hose Inlet Elbow Seal |
| 7 | B355-1100 | Hose Inlet Cuff O-Ring Seal |
| 8 | B480-1914 | Hose Inlet Elbow |
| 9 | B380-5414 | Cleanout Door |
| 10 | B380-6900 | Cleanout Door Seal |
| 11 | B380-5614 | Lower Wand Cradle |
| 12 | D380-5200 | Valve Body w/Seal |
| 13 | D480-8400 | Hose Guide w/Magnet |
| 14 | B480-9500 | Hose Guide Magnet |
| 15 | B380-2014 | Upholstery Tool Clip |
| 16 | B380-2114 | Upper Crevice Tool Clip |
| 17 | B380-5114 | Back Cover |
NOZZLE HOUSING ASSEMBLY

| KEY | PART NUMBER | DESCRIPTION |
| 1 | Not Available | Aqua Nozzle Cover Assembly (R40.LE) |
| Not Available | Kawa Blue Nozzle Cover Assembly (R40P.LE) | |
| D370-0877 | Purple Nozzle Cover Assembly (R40) | |
| D370-0858 | Teal Nozzle Cover Assembly (R40P) | |
| 2 | B370-0915 | Lens |
| 3 | A732-2700 | Retaining Ring 0.125 |
| 4 | B370-0615 | Indicator Light Lens |
| 5 | B370-4715 | Filter Light Lens |
| 6 | B370-1043 | Furniture Guard |
NOZZLE HOUSING ASSEMBLY
| KEY | PART NUMBER | DESCRIPTION |
| 1 | D370-0241 | Nozzle Cover Black Metallic (R40P.4) |
| D370-0241.2 | Nozzle Cover Navy Metallic (R40P.6) | |
| 2 | B470-6900 | Nozzle Cover Badge |
| 3 | A732-2700 | Retaining Ring 0.125 |
| 4 | B370-0615 | Indicator Light Lens |
| 5 | B370-4715 | Filter Light Lens |
| 6 | B370-0315 | Right Lens |
| 7 | B370-0415 | Left Lens |
| 8 | B370-0543 | Furniture Guard |
NOZZLE ASSEMBLY

| KEY | PART NUMBER | DESCRIPTION | KEY | PART NUMBER | DESCRIPTION |
| 1 | A732-8314 | Screw Phillips Hi Lo #8 x 5/8 | 26 | C370-1400E | Foot Pedal |
| 2 | D374-1100 | Height Adjust Assembly | 27 | A014-0100 | Belt |
| 3 | B370-4366B | Rear Wheel Hubcap | 28 | B034-0100 | Strain Relief Washer |
| 4 | A732-3100 | E-Clip | 29 | B370-3200 | Pivot Bracket Left |
| 5 | C370-1200B | Large Overmolded Wheel | 30 | B370-3300 | Pivot Bracket Right |
| Assembly | 31 | B370-4114 | Spring Assist Axle Shaft | ||
| 6 | B370-2900B | Rear Wheel Axle | 32 | B370-4900B | Spring Assist Spring |
| 7 | B370-1514C | Nozzle Inlet Duct Cover | 33 | B370-4214C | Spring Assist Mount |
| 8 | B370-5166 | Light Board Reflector | 34 | A732-9300 | E-Clip |
| Light Board Assembly | 35 | B333-5200 | Nozzle To Main PCB Harness | ||
| D318-5300 | Non-Dirt Sensor (R40.LE R40 R40.2) | C375-1600 | Dirt Sensor Assembly (R40P. LE R40P R40P.2 R40P.4 R40P.6) | ||
| D318-5100 | Light Board Assembly for Dirt Sensor (R40P.LE R40P R40P.2) | 36 | |||
| 9 | B370-4814 | Dirt Sensor Lens Cover (R40P. LE R40P R40P.2 R40P.4 R40P.6) | |||
| D318-5200 | Light Board Assembly for Dirt Sensor (R40P.4 R40P.6) | 37 | |||
| 10 | D375-2000 | Agitator Assembly | |||
| (Breakdown on next page) | |||||
| 11 | B350-4000B | Retaining Ring | |||
| 12 | C370-1300 | Small Overmolded Wheel | |||
| Assembly | |||||
| 13 | B370-3000 | Height Adjust Axle | |||
| 14 | B374-0614 | Height Adjust Axle Cover | |||
| 15 | D370-1100C | Baseplate Assembly | |||
| 16 | B388-2400C | Bottom Agitator Packing Seal | |||
| B370-1414F | Nozzle Basetray (R40.LE R40 R40.2) | ||||
| 17 | Nozzle Basetray for Dirt Sensor (R40P.LE R40P R40P.2 R40P.4 R40P.6) | ||||
| D370-1415 | |||||
| 18 | B388-2400C | Top Agitator Seal | |||
| 19 | B375-0214 | Idler Arm Cover | |||
| 20 | B375-0300B | Idler Arm Spring | |||
| 21 | A732-4700 | Grounding Screw | |||
| 22 | D475-0400 | Hall Sensor Assembly | |||
| 23 | A732-3000 | E-Clip .250” | |||
| 24 | B370-3800 | Tilt Lock Spring | |||
| 25 | B370-3600 | Tilt Lock Pivot | |||
AGITATOR

| KEY | PART NUMBER | DESCRIPTION |
| 1 | B375-3700 | Agitator End Cap Cover |
| 2 | A375-0100 | Locking Hex Nut |
| 3 | B375-3600 | Agitator End Cap |
| 4 | Not Available | Long Screw (Not Available) |
| 5 | Not Available | Agitator Felt Retainer (Not Available) |
| 6 | B375-3900 | Felt Seal |
| 7 | A375-0200 | Bearing |
| 8 | B375-3400 | Pulley Clamping Design |
| 9 | B375-4000 | Gold Nylon Brush Strip (Standard) |
| B375-4300 | White Brush Strip (Softer) | |
| B375-4200 | Natural Brush Strip (Softest) | |
| 10 | B375-3500 | Bearing Cartridge |
| 11 | Not Available | Short Screw (Not Available) |
| 12 | D375-2000 | Agitator Assembly |
ACCESSORIES

| KEY | PART NUMBER | DESCRIPTION | KEY | PART NUMBER | DESCRIPTION |
| 1 | D455-8214 | Hose Assembly | Combo Washer and Screw Pan Head M4 x 16 (R40.2 R40P.LE R40P R40P .2 R40P.4) | ||
| 2 | B455-0214B | Hose Inlet Cuff | 15 | A732-5300 | |
| 3 | B455-8214B | 6-1 Stretch Hose | |||
| 4 | B355-0214C | Hose Handle Lock Ring | 16 | C351-1014 | 3-in-1 Tool (R40.2 R40P.LE |
| 5 | B355-0314B | Hose Swivel Cuff | R40P R40P .2 R40P.4) | ||
| 17 | TB1-RU | Turbo Brush (R40.2 R40P .2 R40P.4) | |||
| 6 | B388-2700 | Hose Cuff Seal | |||
| 7 | B455-8014 | Hose Handle | |||
| 18 | C626-5004B | Microfiber Bare Floor Tool (R40P .2 R40P.4) | |||
| 8 | B455-8114 | Hose Handle Bleeder Valve Slide | |||
| 19 | R-PET | Pet Tool (R40P.6) | |||
| 9 | B455-8314 | Bleed Valve Seal | |||
| 10 | C355-8200 | Silver Wand Assembly | |||
| 11 | B355-2014 | Crevice Tool (All Models) | |||
| 12 | C355-1214 | Upholstery Tool (All Models) | |||
| 13 | C355-1314B | Dust Brush Attachment (All Models) | |||
| 3-in-1 Tool Holder (R40.2 R40P.LE R40P R40P .2 R40P.4) | |||||
| 14 | B351-3514 | ||||
Service Bulletin
Tandem Air Clean Air Motor Change
Date Issued: 05/03/2017
Parts Affected: D386-2600, D486-2100, D386-2700, D486-2700
Models Affected: All 30 and 40 Series Tandem Air Vacuum Cleaners (See chart below)
Rev 02 07/10/2017 R30CAMINSTRUCT Tandem Air Clean Air Motor Change
Reason for Bulletin: The clean air motor for Tacony Tandem Air vacuums has been changed for improved performance. The change necessitated a modification to the dust compartment, motor cover, and wire harness to accommodate the larger motor.
Any vacuums made prior to the change that require a motor replacement will need to use the original Ametek motor (D486-2100 for 30 series/D386-2600 for 40 series.) Anything made after the change can use the new Samsung motor (D486-2700 for 30 series/D386-2700 for 40 series.)
See the chart below for the serial number cut off date of the change to the new motor for each model.
All vacuums made prior to this serial number must use the Ametek motor.
| RICCAR | |
| Model | Serial Number |
| R30D | 0516008097 |
| R30P | 0716004030 |
| R30PET | 0616003630 |
| R30P.DS | 0716001191 |
| R30P.DSAL | 0616001170 |
| R40 | 0616001338 |
| R40P | 0516001526 |
| R40.LE | All Ametek |
| R40P.LE | All Ametek |
- metek Clean Air Motor (Old)
D486-2100 (30 Series)
D386-2600 (40 Series)
- Samsung Clean Air Motor (New)
D486-2700 (30 Series)
D386-2700 (40 Series)






















