GREENLEE Pull Assist Instruction Manual
Safety Symbols Key
In this operator’s manual and on the product, safety symbols and signal words are used to communicate important safety information. This section is provided to improve understanding of these signal words and symbols.
This is the safety alert symbol. It is used to alert you to potential personal injury hazards. Obey all safety messages that follow this symbol to avoid possible injury or death.
Danger
indicates a hazardous situation which, if not avoided, WILL result in death or serious injury.
Warning
indicates a hazardous situation which, if not avoided, COULD result in death or serious injury.
Caution
indicates hazards or unsafe practices which, if not avoided, MAY result in injury or property damage.
| This symbol means read the operator’s manual carefully before using the equipment. The operator’s manual contains important information on the safe and proper operation of the equipment. |
| This symbol means always wear safety glasses with side shields or goggles when handling or using this equipment to reduce the risk of eye injury. |
| Always wear gloves when handling or using this equipment to reduce the risk of injury |
| This symbol means to stand in this area while operating this tool, to reduce the risk of injury. |
| This symbol means to manage rope tail to reduce the risk of tripping and entanglement hazards and injuries from tensioned rope. |
| This symbol indicates the risk of electrical shock. |
| This symbol indicates the risk of hands, fingers or other body parts being crushed in a rotating capstan or pulley |
| This symbol indicates the risk of components breaking free and striking nearby personnel. |
| This symbol indicates the risk of body, torso, clothes, and other objects catching and/or wrapping in rope and causing crushing or striking injuries. |
| This symbol means do not lock foot switch in ON position to reduce the risk of injury from uncontrolled machine movement. |
| This symbol means do not use tool for lifting or lowering a load. |
| This symbol means do not stand or walk in this area to reduce the risk of injury |
| This symbol means to not allow rope to collect in this area to reduce the risk of entanglement and prevent interference with operation. |
General Safety Warnings
Warning

Read all safety warnings, instructions, illustrations and specifications provided with this power tool.
Failure to follow all instructions listed below may result in electric shock, fire and/or serious injury.
SAVE ALL WARNINGS AND INSTRUCTIONS FOR FUTURE REFERENCE.
The term “power tool” in the warnings refers to your mains-operated (corded) power tool or battery operated (cordless) power tool.
WORK AREA SAFETY
- Keep your work area clean and well lit. Cluttered or dark areas invite accidents.
- Do not operate power tools in explosive atmospheres, such as in the presence of flammable liquids, gases or dust. Power tools create sparks which may ignite the dust or fumes.
- Keep children and bystanders away while operating a power tool. Distractions can cause you to lose control.
ELECTRICAL SAFETY
- Power tool plugs must match the outlet. Never modify the plug in any way. Do not use any adapter plugs with earthed (grounded) power tools. Unmodified plugs and matching outlets will reduce risk of electric shock.
- Avoid body contact with earthed or grounded surfaces, such as pipes, radiators, ranges and refrigerators. There is an increased risk of electric shock if your body is earthed or grounded.
- Do not expose power tools to rain or wet conditions. Water entering a power tool will increase the risk of electric shock.
- Do not abuse the cord. Never use the cord for carrying, pulling or unplugging the power tool. Keep cord away from heat, oil, sharp edges or moving parts. Damaged or entangled cords increase the risk of electric shock.
- When operating a power tool outdoors, use an extension cord suitable for outdoor use. Use of a cord suitable for outdoor use reduces the risk of electric shock.
- If operating a power tool in a damp location is unavoidable, use a Residual Current Device (RCD) protected supply. Use of an RCD reduces the risk of electric shock.
PERSONAL SAFETY
- Stay alert, watch what you are doing and use common sense when operating a power tool. Do not use a power tool while you are tired or under the influence of drugs, alcohol or medication. A moment of inattention while operating power tools may result in serious personal injury.
- Use personal protective equipment (PPE). Always wear eye protection. Protective equipment such as dust mask, non-skid safety shoes, hard hat, or hearing protection used for appropriate conditions will reduce personal injuries.
- Prevent unintentional starting. Ensure the switch is in the off-position before connecting to power source and/or BATTERY pack, picking up or carrying the tool. Carrying power tools with your finger on the switch or energizing power tools that have the switch on invites accidents.
- Remove any adjusting key or wrench before turning the power tool on. A wrench or a key left attached to a rotating part of the power tool may result in personal injury.
- Do not overreach. Keep proper footing and balance at all times. This enables better control of the power tool in unexpected situations.
- Dress properly. Do not wear loose clothing or jewelry. Keep your hair, clothing and gloves away from moving parts. Loose clothes, jewelry or long hair can be caught in moving parts.
- If devices are provided for the connection of dust extraction and collection facilities, ensure these are connected and properly used. Use of dust collection can reduce dust-related hazards.
- Do not let familiarity gained from frequent use of tools allow you to become complacent and ignore tool safety principles. A careless action can cause severe injury within a fraction of a second.
POWER TOOL USE AND CARE
- Do not force the power tool. Use the correct power tool for your application. The correct power tool will do the job better and safer at the rate for which it was designed.
- Do not use the power tool if the switch does not turn it on and off. Any power tool that cannot be controlled with the switch is dangerous and must be repaired.
- Disconnect the plug from the power source and/ or remove the BATTERY pack, if detachable, from the power tool before making any adjustments, changing accessories, or storing power tools. Such preventive safety measures reduce the risk of starting the power tool accidentally.
- Store idle power tools out of the reach of children and do not allow persons unfamiliar with the power tool or these instructions to operate the power tool.
- Power tools are dangerous in the hands of untrained users.
- Maintain power tools and accessories. Check for misalignment or binding of moving parts, breakage of parts and any other condition that may affect the power tool’s operation. If damaged, have the power tool repaired before use. Many accidents are caused by poorly maintained power tools.
- Keep cutting tools sharp and clean. Properly maintained cutting tools with sharp cutting edges are less likely to bind and are easier to control.
- Use the power tool, accessories and tool bits etc. in accordance with these instructions, taking into account the working conditions and the work to be performed. Use of the power tool for operations different from those intended could result in a hazardous situation.
- Keep handles and grasping surfaces dry, clean and free from oil and grease. Slippery handles and grasping surfaces do not allow for safe handling and control of the tool in unexpected situations.
SERVICE
- Have your power tool serviced by a qualified repair person using only identical replacement parts. This will ensure that the safety of the power tool is maintained.
The text used in the General Power Tool Safety Warnings section of this manual is required from the applicable EN 62841-1 standard to which this tool is tested. This section contains general safety practices for many different types of power tools. Not every precaution applies to every tool, and some may not apply to this tool.
Tool Specific Safety Information
Warning

Use the correct tool and accessories for your application. The correct tool will do the job better and safer at the rate for which it was designed. Use of the tool for operations different from those intended can result in a hazardous situation.
Before operating this tool, read and understand:
- This operator’s manual
- The instructions for any other equipment or material used with this tool
- Markings on the tool
- Required work-site safety procedures
Failure to follow all instructions and warnings may result in serious injury.
- Rope and V-Pulley can entangle and crush
- Keep hands and body away from rope, capstan, and V-Pulley. Fingers and hands can be crushed, fractured, or amputated if they become caught between the rope and the V-Pulley.
- Do not wrap rope around hands or body. Do not stand in spent coils or tailed rope. Hold rope so that it may be released quickly. Entanglement in rope could result in severe injury or death.
- Do not allow rope to overlap on the capstan.
Properly align rope on capstan with rope ramp and V-Pulley. If an overlap occurs, immediately shut off the cable puller and relax the tailing force to remove overlap. - Do not add wraps to capstan with motor running. Rope could overlap and limbs could get caught between the rope and capstan resulting in crushed limbs.
- System components can break, allowing whipping rope, flying parts and injury
- Do not stand in line with the rope pulling direction during use. The rope is under tension and could break.
- Do not maintain a stationary rope on a rotating V-Pulley. A worn rope can break under tension and whip violently.
- Do not pull rope across non-moving edges or objects. A worn rope can break under tension and whip violently.
- Use only double braided polyester or nylon composite pulling rope in good condition and rated for the puller in use. A worn or underrated rope can break under tension and whip violently.
- Proper set up is essential to minimizing risk during use.
- One operator must control the work process, machine operation and foot switch. Only the operator should be in the area near the machine while it is running. This helps reduce the risk of injury to the operator and bystanders.
- Do not lock foot switch in ON position. The operator should always be in control of the tool to reduce the risk of injury from uncontrolled machine movement.
- Maintain communication between operators.
Loss of communication increases the risk of injury and damage to the tool and cable. - Do not use the Pull Assist as a winch or hoist.
The Pull Assist is not designed to lift or lower a load. The load may fall and damage to the tool can result. - Wear protective gloves when handling pulling rope. Gloves protect the hands from the rope and help the operator maintain a good grip.
Tool Description
The Greenlee Pull Assist is a pulling accessory for Greenlee Cable Pullers that allows for hands-free operation of the puller by providing the tailing force needed to pull the rope.
Features
- Compatible with Greenlee G6, UT-10 and G10 pullers.
- Single foot switch control of Pull Assist and Puller.
- Quick instalation by replacing right-angle sheave.
- Hands-free Tailing Force Pulling: Locates operator up to 6 ft away from puller and decreases strain and fatigue.
- Adaptive Speed Control: Adjusts tailing force limit to match puller speed in real time.
- Force Limiting Pendant: Fine tune tailing force limit.
Specifications
Do not modify to use with non-Greenlee pullers or Greenlee UT-8, UT-4, G3, or 6001 pullers.
- Max Achievable Tailing Force: 85 lbf (445 N)
- Max Achievable Tailing Speed: 60 ft/min (18.3 m/min)
- Weight: 22 lb (9.98 kg)
- Dimensions: 13 in. x 15 in. x 8 in. (33 cm x 38 cm x 20 cm)
- Power Supply: 120 VAC, 60 Hz, 4 A
- Pulling Rope Diameter: 0.5 in.- 1.0 in.
Do not use rope outside of this range. Undersized rope may cause jamming at the extraction guide. Oversized rope may fail to be properly grabbed by the V-Pulley.
All specifications are nominal and may change as design improvements occur. Greenlee Tools, Inc. shall not be liable for damages resulting from misapplication or misuse of its products.
Tool Identification


- Frame
- V-Pulley
- Rope Guide
- Right-Angle Sheave
- Rope Retention Lever
- Electrical Enclosure
- Rope Extraction Guide
- Foot Switch Jack
- Power Switch
- Power Cord
- Puller Power Outlet
- Mounting Bracket
- Pendant Jack
- Puller Patch Cord
- Mounting Bar
- Pendant
Decals & Locations
A. Pull Assist Bracket Orientation (52094311)

B. Mounting Bar Orientation (52094312)
C. Greenlee Decal (52092016)

D. Pendant Force (52092018)

E. Tool Identification Information (52092015)
F. Warnings (52093945)
Pre-Operation Inspection
Warning
- Daily before use, inspect the tool and correct any problems before using to reduce the risk of injury and prevent product damage. If any problems are found, do not use this tool until the problems have been fixed, failure to follow these steps increase the risk of injury.
- Unplug and turn off the Pull Assist and Puller.
- Clean any oil, grease or dirt from the tool body, including handles and controls. A clean tool aids inspection.
- Inspect tool for wear and damage before use. Do not use if any parts are worn, corroded, rusted, or cracked.
- Check all electrical cords and plugs for damage or modifications.
- Check for proper assembly and completeness, do not use if there are missing or misaligned parts. A damaged, worn or improperly assembled item could break and result in flying debris.
- Check that the foot switch is present, in good condition and does not stick when stepped on.
- Check for the presence and condition of decals.
- Check that the rope extraction guide is secure below the V-Pulley and not rubbing against the V-Pulley.
If rope extraction guide is loose, adjust the position and tighten the screws below. - Check that the rope retention lever springs back into the V-Pulley.
- Check the V-Pulley is secure and not worn down. If the teeth are worn down, the rope may slip during operation, replace the V-Pulley before using tool.
(See Replace V-Pulley) - Check the right-angle sheave is attached to the Pull Assist mounting bar.
- Check communication between the pulling and feeding sides is working, test radios etc.. Loss of communication increases the risk of injury, and damage to the tool and cable.
- Inspect any other equipment in the system according to their instruction manuals.
If any issues are found, do not use the tool until corrected.
Work Area & Tool Set Up
Warning
- Set-up the tool and work area according to these procedures to reduce the risk of injury and reduce the risk of tool damage.
- Keep work area clean and well lit. Cluttered or dark areas invite accidents.
- Check the area around the puller has adequate lighting and a clear, level, stable and dry place for all equipment and there is space for the operator to work comfortably and according to tool operating instructions to reduce the risk of injury.
- Check the area for a properly grounded electrical outlet of the correct voltage. Check the tool specifications for required voltage. A three-pronged or GFCI outlet may not be properly grounded. If in doubt, have the outlet inspected by a licensed electrician.
- Keep bystanders clear of work area by setting up barricades or cones around work zone. The operator should be the only one around and interacting with the tool while the tool is being operated. Check the puller model being used is compatible with the Pull Assist.
- If using an extension cord, choose one that is in good condition, is rated for outdoor use, has a grounded plug and is rated for the power requirements of this tool Plug in extension cord with dry hands and run length along a clear path. Keep all connections dry and off the ground
- Check communication between operators is working and understandable.
- Check and set-up the puller and mount according to their instruction manual. Do not plug the puller in
yet. - Remove the puller’s adjustable sheave bar. The first time its removed, the roll-pin will need to be hammered out using the provided dowel pin.
- Assist mounting bracket. Line up the arrow on the mounting bar with the 6K or 10K mark depending on the puller in use. (Fig. 1)

- Install the Pull Assist mounting bar to the puller where the adjustable sheave bar was using the quick release pins to secure.
- Wrap puller capstan according to your puller’s instruction manual and slide the Pull Assist on the mounting bar so the tail of the rope can enter the V-Pulley straight. Rope entering the V-Pulley at an angle increases the risk of the rope slipping out of the pulley.
- Lift the rope retention lever and lay the rope in the V-Pulley. (Fig. 2) Release the rope retention lever so the rope hangs toward the floor. Avoid tugging on the rope as it exits the Pull Assist, this action increases the risk of the rope getting stuck in V-Pulley.

Plug the puller’s foot switch into the Pull Assist’s foot switch jack below the rope extraction guide. (Fig.3)
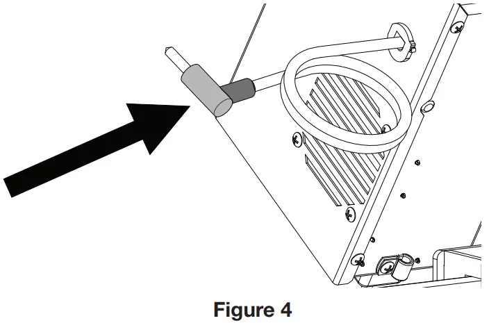
- Plug in the puller patch cord to the puller’s foot switch jack (Fig. 4).

- Plug the pendant into the pendant jack (Fig. 5)

- Plug the puller’s power cord into the Pull Assist’s AC outlet and plug the Pull Assist’s power cord into the wall. (Fig.6) You can also plug the puller into a second wall outlet if one is available

- Reposition or retain cords to prevent them becoming entangled with the rope during operation.
- Turn ON the puller and Pull Assist.
Tool Operation
Warning

- Rope and V-Pulley can entangle and crush
- Keep hands and body away from rope, capstan, and V-Pulley. Fingers and hands can be crushed, fractured, or amputated if they become caught between the rope and the V-Pulley.
- Do not wrap rope around hands or body. Do not stand in spent coils or tailed rope. Hold rope so that it may be released quickly. Entanglement in rope could result in severe injury or death.
- Do not allow rope to overlap on the capstan.
Properly align rope on capstan with rope ramp and V-Pulley. If an overlap occurs, immediately stop the cable puller and relax the tailing force. - System components can break, allowing whipping rope, flying parts and injury
- Do not stand in line with the rope during use.
The rope is under tension and could break. - Do not maintain a stationary rope on a rotating V-Pulley. A worn rope can break under tension and whip violently.
- Only use double braided nylon pulling rope in good condition and recommended for the puller in the IM. A worn or underrated rope can break under tension and whip violently.
- Do not add wraps to a rotating capstan. Rope could overlap and limbs could get caught between the rope and capstan resulting in crushed limbs.
- Do not lock foot switch in ON position. The operator should always be in control of the tool to reduce the risk of injury from uncontrolled movement.
- Maintain communication between operators.
Loss of communication increases the risk of injury and damage to the tool and cable. - The rope is still under tension when the V-Pulley is stopped. When removing rope from the V-Pulley, be prepared to hold the tailing force and maintain the pull manually to avoid injury.
The Pull Assist automatically adjusts the tailing force to attempt to maximize the speed, the dial sets an upper limit on the allowable tailing force: it does not directly control the tailing force.
- Assume a proper operating position. Stand to the side of the puller so the control panel is visible and the rope tail is within arms reach.
- Confirm the Pull Assist and work area has been properly set up and inspected according this manual and the manuals of any other equipment.
- Use the pendant to control the tailing force limit*. (Fig.7) Increase or decrease the tailing force limit by turning the dial.

The green zone is for continuous operation, while the yellow zone should only be used intermittently when extra force is required.
If the rope starts to slip on the capstan, increase the tailing force limit. If you’re already at the maximum setting, step off the footswitch, add another wrap to the capstan, and then resume the pull. To slow the pull or to decrease puller load, decrease the tailing force limit.
If you’re already at the minimum setting, step off the foot switch, remove a wrap from the capstan, and resume the pull.
The gray zone is the minimum setting, the V-Pulley may appear to stop but it is still applying tailing force to the rope. Step off the foot switch before removing the rope from the V-Pulley to add or remove a wrap. - Start the pull. Press the foot switch to start the rotation of the puller and Pull Assist. The LED on the pendent will start flashing to indicate that both machines are running.
- To switch to hand tailing, stop the pull, remove the rope from V-Pulley and route the tailing rope around the right-angle sheave and continue the pull according to the instructions in the puller’s manual.
- Manage the tailing rope to keep it from piling up next to the puller. Move the rope away from the puller or into a storage container (spool, bucket, etc.). Do not stand in the spent coils of rope. Coils of rope create a tripping and entanglement hazard that could result in injury.
Avoid pulling on the tailing end when handling the tailing rope. This can cause the rope to jam in the V-Pulley, which will interrupt the pull and could lead to tool damage - When the pull is finished, turn off puller and Pull Assist. Remove the rope from the V-Pulley by lifting the rope retention lever and lifting the rope out of the V-Pulley. Then unwrap rope from the puller capstan.
Transportation
The Pull Assist can be left attached to a puller when transported. Use proper lifting techniques when transporting puller and Pull Assist as they are heavy. If storing the Pull Assist by itself, remove the mounting bar from the bracket before storing. Avoid laying the Pull Assist on the V-Pulley. Store in a cool, dry place with the V-Pulley facing up.
Storage
The Pull Assist can be stored with the puller it is mounted to.
Remove the Pull Assist from its mounting bar if storing separate from the puller.
Do not store outdoors, on the ground or in a wet area.
Troubleshooting
| Problem | Possible Cause | Solution |
| Rope is slipping in the V-Pulley | Retention lever is loose or disengaged | Check that the rope retention lever is engaged and being pushed by the spring. Tighten screws if necessary |
| V-Pulley teeth are shiny and worn | Replace V-Pulley | |
| Tailing force too high | Reduce tailing force limit. | |
| Rope is slipping on the capstan | Tailing force too low | Increase tailing force limit. Turn pendent dial clockwise. |
| Not enough wraps on capstan | Add wraps to the capstan. | |
| Breaker trips | Too much tailing force | Decrease tailing force limit. Turn pendent dial clockwise. |
| Too many wraps on the capstan | Remove wraps from capstan | |
| Pull Assist moves briefly then slows or stops. | Pendent is unplugged | Plug in pendent. |
| Puller does not move when the Pull Assist moves. | Puller patch cord not plugged into the puller’s foot switch jack. | Plug the puller patch cord into the puller’s foot switch jack. |
| Puller is unplugged. | Plug in the puller’s power cord to a power source. | |
| Puller is turned OFF. | Turn ON the puller. | |
| Pull Assist does not move when the puller moves. | Foot switch is plugged into the puller instead of the Pull Assist | Plug the foot switch into the Pull Assist and plug the puller control cord into the puller’s foot switch jack. |
Maintenance
Warning
- Do not perform any maintenance other than as described in this manual. Personal injury or damage to the tool may result.
- Do not modify this tool. Modifying the tool in any manner may result in personal injury and damage to the tool.
- Do not attempt to open the tool. It contains no user-serviceable parts.
Cleaning
Do not use alcohol or other solvents to clean the device.
Wipe the device with a damp cloth with water. Allow to dry completely before using.
Replace the V-Pulley
If the rope starts to slip and the teeth inside the V-Pulley show visual signs of wear, such as being rounded off and shiny, this indicates the pulley needs to be replaced.
- Unplug the Pull Assist before touching the rope and V-Pulley. Fingers can be injured if the V-Pulley starts while maintenance is being performed.
- Lift the rope retention lever and remove any rope from V-Pulley.
- Remove the rope extraction guide by removing the two bolts securing it to the frame. (Fig.8)

- Unscrew the V-Pulley by rotating the outer half clockwise with a 1.25” spanner wrench and 7/32” studs. Once the V-Pulley is loose, continue unscrewing and slip both halves off the drive shaft. (Fig. 9) The V-Pulley has a left-handed thread.

- Slide on the unthreaded half of the new V-Pulley, then slide on the threaded half and tighten it by rotating counterclockwise. Before the final few rotations of the threaded side, adjust the unthreaded half so the grooves accept the bumps from the threaded half to sit flush. (Fig. 10) Tighten until secure.

Pull Assist Repair Kits | |
| CAT # | Description |
| RGPAVP | V-Pulley KIT GPA |
| RGPABD | BOARDS KIT GPA |
| RGPAP | PENDANT KIT GPA |
| RGPADT | DRIVETRAIN KIT GPA |
| RGPACC | PULLER CONTROL CORD KIT GPA |
| RGPARS | ROPE SYRINGE KIT GPA |
| RGPARR | ROPE RETENTION KIT GPA |
| RGPAF | FUSE KIT GPA |
Disposal
Do not throw away with regular waste. Parts of these tools contain valuable materials and can be recycled. There are companies that specialize in recycling that may be found locally. Dispose of the components in compliance with all applicable regulations. Contact your local waste management authority for more information.
Service
Warning
- Tool service must be performed only by qualified repair personnel. Service or maintenance performed by unqualified personnel could result in a risk of injury.
- When servicing a tool, use only identical replacement parts. Use of unauthorized parts or failure to follow service instructions may create a risk of electric shock or injury.
Guarantee Contact Information
If you have any questions, need to arrange service or purchase parts or accessories for this Greenlee/HDE
product: Contact your local Greenlee distributor or
Greenlee’s Customer Service Center
Additional copies of this manual are available for
download at www.greenlee.com
Greenlee Customer Service
USA: 1-800-435-0786 | Canada: 800-435-0786
International: 1-815-397-7070
GRN [email protected]
Shipping address:
Greenlee Factory Service Center
4411 Boeing Dr., Rockford, IL 61109









































